1. Выбор пределов измерения измерительных приборов производится исходя из следующих условий:
а) предел измерения вольтметров и обмотки напряжения ваттметра зависит от величины измеряемого напряжения (250 В);
б) предел измерения амперметра определяется величиной максимального тока в цепи (1 А).
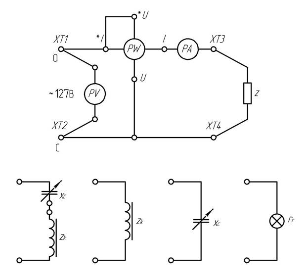
2. При сборке схемы использовать ламповый реостат, который обладает только активным сопротивлением rr; катушку индуктивности со стальным сердечником zk, которая обладает активным сопротивлением rk и реактивным (индуктивным) сопротивлением xk; переменный конденсатор с дискретным изменением емкости, который обладает реактивным (емкостным) сопротивлением xс (активным сопротивлением конденсатора можно пренебречь).

Рис. 1.1. Принципиальные схемы:
а — измерительная цепь; б — нагрузки, подключаемые к зажимам измерительной цепи (последовательное соединение катушки индуктивности и конденсатора, катушка индуктивности, конденсатор, ламповый реостат)
3. Для снятия резонансной кривой подключить к точкам ХТ3, ХТ4 измерительной цепи (рис. 1.1, а) последовательно соединенные катушку индуктивности и конденсатор.
|
|
|
Изменяя емкость конденсатора от 0,5 до 10 мкФ, через 0,5 мкФ записать в табл.1.1 значения емкости и тока.
По полученным экспериментальным данным построить резонансную кривую I=f(C). Определить резонансную емкость конденсатора Ср, соответствующую максимальному значению тока. Провести прямую, параллельную оси абсцисс, на уровне 0,7 I max и определить емкости конденсатора C min и C max, соответствующие точкам пересечения этой прямой и резонансной кривой.
Таблица 1.1
Зависимость тока цепи от емкости конденсатора при последовательном соединении катушки индуктивности и конденсатора
| C, мкФ | |
| I, A |
4. Для исследования работы неразветвленной цепи к точкам ХТ3, ХТ4 измерительной цепи (рис. 1.1, а) поочередно подключить нагрузки, приведенные на рис. 1.1, б: последовательно соединенные катушку индуктивности и конденсатор; катушку индуктивности; конденсатор; ламповый реостат. Произвести измерения тока, мощности и напряжений. Результаты измерения записать в табл. 1.2.
При последовательно соединенных катушке индуктивности и конденсаторе измерения произвести при трех емкостях конденсатора C min , Ср и C max, определенных ранее.






