Теорию резания лезвием и расчет режущих аппаратов разработал академик В. П. Горячкин. Дальнейшее развитие она получила в трудах академика В. А. Желиговского, профессора Н. Е. Резника и других ученых. Процесс резания представляет собой частный вид измельчения стеблей кормов растительного происхождения, который подчиняется общим законам разрушения материалов под действием внешних сил, превосходящих силы молекулярного сцепления.

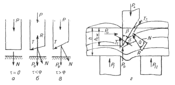
Рис.14. Типичные случаи резания:
а - нормальное резание («рубка»); 6 - наклонное резание; в - скользящее резание; г - двухопорное резание.
Режущий аппарат машин выполнен в виде ножа с заостренным лезвием и противорежущей пластины, между которыми располагается измельчаемый материал. Для осуществления процесса разделения материала на части необходимо, чтобы он был зажат или защемлен между ножом и противорежущей пластиной. При этом сначала происходит сжатие перерезаемого материала, а затем разделение его на части.
В теории резания лезвием рассматриваются вопросы, связанные с достижением минимальных затрат энергии на процесс при получении заданного размера частиц измельчаемого корма. В связи с изучением затрат энергии на процесс академик В. П. Горячкин выделил три типичных случая резания. Первый случай - нормальное резание (рис. 14, а), когда направление действия силы и скорости совпадают и перпендикулярны лезвию. Такой случай называют рубкой. Резание происходит только под действием нормальной силы N. При этом угол τмежду направлением окружной скорости и ее нормальной составляющей, называемый углом скольжения, равен нулю.
|
|
|
В процессе резания лезвием решающее значение имеет скользящее движение ножа относительно материала, так как оно заметно понижает предел нормального давления, необходимого для возбуждения процесса резания, и обеспечивает более чистый срез. При этом более легкому разделению материала на части способствуют неровности, всегда имеющиеся на лезвии ножа. Этими неровностями нож захватывает волокна материала, в результате чего между смещаемыми и соседними частицами возникают напряжения растяжения или сдвига, для которых предел прочности меньше, чем при деформации сжатия, вызываемой действием нормального давления.
Второй случай - наклонное резание (рис. 14, б), когда кроме силы нормального давления имеет место боковая сила, но она еще не может вызвать движения материала относительно лезвия, так как угол скольжения т меньше угла трения φ материала по лезвию. В этом случае наблюдается некоторое уменьшение удельного давления на перерезаемый материал, что происходит вследствие уменьшения или кинематической трансформации (по Н. Е. Резнику) фактического угла заточки при перемещении косо поставленного клина - лезвия.
|
|
|
Третий случай - скользящее резание (рис. 14, в ), когда кроме силы нормального давления имеет место боковая сила, обусловливающая скольжение материала относительно лезвия ножа. В этом случае угол скольжения τ больше угла трения φ. При этом возникшее относительное движение обеспечивает перепиливающее действие микровыступов лезвия, вызывая тем самым разрушение материала.
При двухопорном резании критическую силу Рк, способную возбудить процесс резания (рис. 13,г ), можно определить из выражения:
Рк= Рр + Т1 + Т2cosγ, (14)
где Рр - сила резания, Н; T1=fPo - сила трения, обусловленная действием силы бокового давления Рo, возникающего при внедрении клина в перерезаемый материал, Н; f
- коэффициент трения; Т2 =fN=fRсоs φ - сила трения на фаске ножа, обусловленная давлением со стороны сдвигаемого материала, Н; у - угол заточки, град.
Из трех составляющих критической силы наибольшее значение имеет сила резания, которую можно определить по формуле:
Рр=δ∆sσp , (15)
где δ - толщина или острота лезвия, мкм; ∆s - длина загруженной части лезвия ножа, мм; σp - нормальные разрушающие напряжения, возникающие в перерезаемом слое, Па.
Из формул (14) и (15) следует, что критическая сила зависит от физико-механических свойств материала (f, σp), остроты δ лезвия и длины ∆s загруженной или активной его части.