Известны разные способы силового влияния на материал, который перерабатывается. Самые распространенные механические способы измельчения, которые отмечаются простотой, надежностью и высокой производительностью оборудования (рис. 9).

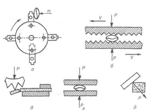
Рис.9. Способы измельчения кормов:
а – дробление ударом; б – истирание или размол; в – раскалывание; г – плющение; д – резание; m – масса измельчаемого корма; V – скорость передвижения измельчающих поверхностей; P – усилие разрушения корма.
В отдельных случаях применяют измельчение, которое базируется электроразрядной (электровзрывной, электрогидравлической), ультразвуковой, кавитационной (образование пустых внутри жидкости во время движения относительно других тел), декомпрессионного действия на материал, путем быстрого изменения высоких и низких температур и даже световыми лучами от квантового генератора. Так, ультразвуком и световым лучами можно обрабатывать материалы, которые очень тяжело поддаются обычным механическим мероприятиям. Однако эти и некоторые другие механические способы в большинстве случаев связаны с необходимостью использования относительно сложного оборудования и являются низкопродуктивными и энерговместительными.
В случае механического силового действия характер напряжений, которые возникают в переделываемом материале, обуславливаются видом и интенсивностью нагрузок, которые направлены на материал и влекут в нем эти напряжения. И те и другие определяются формой и размерами, положением и скоростью перемещения относительно переделываемого материала тех тел, которые передают нагрузку на этот материал. В практике такие тела называются инструментом, рабочим или исполнительным органом; относительно измельчения – на рабочие органы.
За особенностями взаимодействия между рабочими органами и переделываемым материалом следует выделить такие основные способы измельчения: раздавливание, перетирание, разбивание и резание. Общая суть их не зависит от характеристик материала, который переделывается. Однако реакция последнего на силовые действия при этом может быть разной. Проанализируем основные закономерности каждого из отмеченных способов и выделим самые рациональные возможности их использования.
Раздавливание. Под действием нормальных статических усилий N материал поддается двустороннему сжиманию. В нем возникают внутренние напряжения сжимания (в направлении действия усилий) и растягивания (в направлениях, перпендикулярных к первым). Если внутренние напряжения превышают границу прочности материала, он деформируется во всем объеме и разрушается. Хрупкие материалы при этом рассыпаются (крошатся) на отдельные частицы, а вязкопластичные сплющиваются, будто растекаются в стороны.
Перетирание. В этом случае под действием относительно назначенных нормальных усилий N переделываемый материал прижимается к рабочей поверхности или зажимается между двумя поверхностями, а затем касательные усилия Т разрушают его, смешивая одни частицы материала относительно других. В случае перетирания материал в большинстве случаев также поддается объемной деформации.
Разбивание. Разрушение материала происходит в результате динамической нагрузки на протяжении очень короткого отрезка времени.
Различают сосредоточенный удар, когда усилие действует на ограниченный участок поверхности переделываемого материала (размеры ударника заметно меньше размера куска, который разрушается), и распределенный, если материал поддается деформации полностью или же в большом объеме. В первом случае разрушение материала наступает в местах или плоскостях локализации нагрузки и концентрации напряжений в результате раскалывания, разрывания на частицы. При распределенном ударе явления напоминают процесс раздавливания, но ускоренный во много раз.
При резке переделываемый материал поддается локальной деформации в результате усилий, которые передаются кромкой (вершина двугранного угла) ножа. Благодаря этой особенности, резка является наиболее экономным за расходами энергии способ измельчения, особенно в случае переработки материалов, которые отмечаются упругостью и эластичностью.
Другие возможные способы измельчения по принципу механического силового действия на перербатываемый материал, могут являть собой разновидность одного из четырех основных способов или какой-либо их комбинированный вариант. Например, раскалывание действием клина – это разновидность резания, а раскалывание путем сжатия – раздавливание; разламывание – это раздавливание на не сплошной (двухопорной) основе; распиловка резания с перетиранием.
Таким образом, независимо от способа силового действия непосредственное разрушение наступает от растягивания и касательных напряжений в том случае, если они превышают местную прочность материала. При этом касательные напряжения нарушают внутренние связки вещества путем сдвига, а, растягивая, ведут к разрыву связей. Некоторые ученые сдвиги также рассматривают как особенный случай непрямого растягивания.
Однако ни в одном из рассмотренных выше способов измельчения не осуществляется непосредственное растягивание переделываемого материала. В практике измельчения разрывные напряжения в материале обычно возникают более сложным путем от нормальных (сжатие) и касательных усилий. И вполне закономерно, что чем более сложный механизм превращения усилий в элементарные разрушительные напряжения в переделываемом материале, тем ниже энергетический коэффициент полезного действия принятого способа измельчения.
Из сопротивления материалов известно, что прочность их зависит не только от величины, но и от характера напряженного состояния. Например, много твердых изотропных тел выдерживают без разрушения, при действии даже очень высокой одинаковой всесторонней нагрузки, если оно направлено на уплотнение материала. Однако те же тела часто разрушаются при значительно меньших напряжениях растягивания или сдвига. Отсюда выходит, что к разным материалам не в одинаковой мере подходит, а иногда и не подходит тот или другой способ измельчения.
Кроме того, разные способы действия (измельчение) относительно одного и того же материала обеспечивают неодинаковые характерные формы частиц и фракционный состав продукта. Да, очень тонкое измельчение (к пылевидному состоянию) проще осуществлять путем растирания, несколько сложнее – в результате разбивания с подпорой или раздавливанием. Резание и свободные удары обеспечивают относительно крупное измельчение с малым образованием пылевидной фракции. Причем измельчение высокобыстрыми ударами позволяет получать равномерный состав продукта, чем с помощью ударов, которые наносятся с низкой скоростью или в результате статического разрушения.