Животноводческие помещения отапливают преимущественно путем подогревания приточного воздуха. Системы такого отопления классифицируют:
- по принципу перемещения воздуха - с естественным и искусственным побуждением;
- по радиусу действия - местные и централизованные;
- по характеру использования воздуха в помещении – прямоточные рециркуляционные или с частичной рециркуляцией.
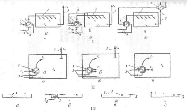
На рис.49 показаны варианты схем воздушного отопления помещений. В состав таких систем входят тепловая установка 1 (калорифер и вентилятор), каналы вытяжной вентиляции (шахты) 2 и трубопроводы 3 для подведения и отведения теплоносителя.
Местные системы не предусматривают воздуховодов, потому воздух в помещении подается сосредоточенными струями. В прямоточных системах (рис.38, а) внешний воздух с температурой t3 подогревается калорифером к температуре tnи подается в помещение в таком количестве, которая достаточна для поддержания заданного температурного режима. Такое же количество воздуха удаляется из помещения с температурой tвканалами вытяжной вентиляции или сквозь щели элементов конструкции.
|
|
|
При частичной рециркуляции (рис.49, б ) к калориферу поступает часть внешнего воздуха с температурой t3 а также часть его из помещения с температурой tв. Эта воздушная смесь нагревается в калорифере до температуры tnи подается в помещение для его отопления.

Рис.49. Варианты систем воздушного отопления:
I - централизованные: а - прямоточная; б - с частичной рециркуляцией; в - прямоточная рекуперативная; 1 - тепловая установка; 2 - приточной воздуховод; 3 – вытяжной воздуховод; 4 - трубопровод теплоносителя; 5 – рециркуляционный воздухопровод; 6 - теплообменник-утилизатор.
II - местные: а - прямоточная; б - с частичной рециркуляцией; в - рециркуляционная; 1 -тепловая установка; 2 - канал вытяжной вентиляции; 3 - трубопровод теплоносителя.
III - децентрализованные: а, б - рециркуляционные; в - частично рециркуляционные; г - прямоточная; 1 - теплообменник-калорифер; 2 - канал нагретого воздуха; 3 - канал для удаления воздуха.
В том случае, когда воздух необходимо только подогревать без его вентилирования, используют рециркуляционную систему отопления.
Централизованы системы воздушного отопления обеспечивают обогрев всего помещения или нескольких помещений. По оснащению они подобны местным системам, отличаются лишь наличием каналов для деления воздуха в помещение.
Особенное значение имеют воздухораспределители, которые обеспечивают равномерное заполнение воздухом всего объема помещения.
По технико-экономическим показателям преимущества имеет прямоточная рекуперативная система воздушного отопления (рис.49, в ), в схеме которой есть теплообменник-утилизатор 6, и которая нуждается в меньшей тепловой энергии. В такой системе свежий воздух перед поступлением в калорифер предварительно подогревается за счет теплоты воздуха, что удаляется из помещения. Но такие установки сложнее за строением и в эксплуатации.
|
|
|
На животноводческих объектах используют преимущественно прямоточные местные и централизованы системы и только в отдельных случаях – рекуперативные прямоточные системы. Системы с частичной рециркуляцией допускаются для использования в помещениях для откорма крупного рогатого скота и свиней.






