Параметры технических характеристик механизмов ПА при их использовании изменяются в пределах от П0 до Ппд. Фактическое знание действительных величин параметров определяют техническое состояние механизмов и систем ПА. Источником информации о величинах этих параметров является техническое диагностирование, т.е. определение технического состояния с определенной точностью.
Диагностирование может быть функциональным или тестовым.
Функциональное диагностирование осуществляется во время функционирования механизма (любого объекта), на который поступает только рабочее воздействие. Примером его могут служить величины хода рычагов и педалей приводов управления механизмами, определение тормозного пути и др.
Тестовое диагностирование осуществляется в основном с использованием специальных приборов, стендов и т.п.
С помощью диагностирования решается ряд задач:
определяется работоспособность системы и механизма (в дальнейшем – объекта), как правило, это делается включением их в работу;
устанавливается потребность в обслуживании или ремонте;
контролируется качество выполнения работ по техническому обслуживанию и ремонту;
прогнозируется возможное продление срока службы машин;
обосновывается целесообразность списания агрегатов или машин.
Для определения технического состояния используются различные, так называемые, диагностические признаки. Ими могут являться: факт работоспособности, снижение эффективности, степень герметичности сопряжений и т.д.
Решение задач диагностирования требует знания П технического состояния оцениваемых параметрами диагностирования Д.
Параметры диагностирования. Техническое состояние объекта в основном определяется изнашиванием рабочих поверхностей их деталей. Например, для двигателя – это изменение размеров гильз цилиндров и поршневых колец. Для пожарного насоса – изменение размеров вала насоса в зоне контакта вала с манжетами уплотнения и т.д
Измерение износа деталей без разборки механизма или ограничена, или практически невозможна. Поэтому для определения технического состояния пользуются косвенными величинами. Их называют диагностическими параметрами. Они связаны с параметрами технического состояния и дают о них определенную информацию. Например, о техническом состоянии пожарного насоса можно судить по величине падения разрежения при его проверке на герметичность. Важной информацией является изменение создаваемого насосом напора. О техническом состоянии двигателя можно судить по изменению его мощности, компрессии, расходу масла.
Рассмотрим обоснование диагностических параметров на примере их определения для оценки технического состояния системы всасывания пожарного насоса.
Герметичность у нового насоса обеспечивается тем, что на вал с некоторым предварительным натягом посажена резиновая манжета. Ее диаметр меньше диаметра вала. Вследствие износа деталей при эксплуатации через какую-то величину наработки насоса t пд диаметры сравняются. Это предельное состояние уплотнения. Начальному и предельному состоянию соответствуют начальный П0 и Ппд параметры его технического состояния. Изменение П во времени эксплуатации показано прямой 1 на рис. 13.30. Было установлено, что время падения создаваемого в насосе разрежения, измеряемое в секундах t с, в зависимости от диаметра вала насоса изменяется, как показано кривой 2 на рис. 13.30. Легко определить, что предельно допустимому параметру Ппд соответствует диагностический параметр tD. Таким образом, диагностическим параметром является время tD. Если при испытании насоса измеряемое падение вакуума t будет больше tD, то система будет работоспособной. На основании изложенного, можно прогнозировать срок надежной службы системы. Пусть измеренное время падения вакуума будет t 1, тогда, как показано на рисунке, возможная продолжительность работоспособного состояния системы будет определяться отрезком аб.
Рис. 13.30. Диагностический параметр:
1 – износ вала пожарного насоса; 2 – изменение диагностического параметра
Классификация диагностических параметров позволяет определять как их перечень, так и область их применения.
Параметры выходных рабочих процессов определяют функциональные свойства ПА или механизма. К ним относятся мощность двигателя, напор, развиваемый насосом, подача пенообразователя в насос, расход топлива, давление форсунки дизеля и др.
Параметры сопутствующих процессов включают температуру нагрева масла, содержание оксида углерода в отработавших газах, давление в конце такта сжатия в цилиндрах двигателя и т.д.
Параметры геометрические определяют связи между деталями в сборочной единице и между отдельными агрегатами и механизмами. К ним относятся зазоры, ход педалей, угол опережения зажигания или подачи топлива в дизеле и др.
Пожарные автомобили создаются, как известно, на шасси грузовых транспортных средств, поэтому для их диагностирования используются параметры и методы, применяемые в автомобильном транспорте. Для специального оборудования пожарных машин разработаны свои диагностические параметры.
Методы диагностирования ПА и их оборудования характеризуются способом измерения диагностических параметров. В настоящее время в зависимости от вида диагностических параметров выделяют три основные группы методов.
Первая группа методов базируется на имитации скоростных и нагрузочных режимов работы автомобиля. При заданных условиях определяются выходные параметры. Для этой цели используются специальные стенды как для автомобилей, так и для пожарного оборудования и пожарно-технического вооружения (ПТВ). При диагностировании ПТВ устанавливается только пригодность его к использованию.
Вторая группа включает в себя методы, в основу которых положена оценка герметичности рабочих объемов механизмов или систем. Измеряя герметичность (степень ее изменения), оценивают степень износа вала насоса, деталей цилиндропоршневой группы двигателя.
Возможны и другие методы, входящие в эту группу. Например, использование параметров колебательных процессов.
Третья группа методов основывается на субъективной оценке геометрических параметров в статике, например, измерении хода педалей приводов и т.д.
Для оценки технического состояния объекта могут применяться различные средства технического диагностирования (ТД).
Встроенное средство ТД – средство диагностирования, выполненное в общей конструкции с объектом диагностирования. Это контрольные приборы различного назначения.
Внешнее средство ТД – средство, выполненное отдельно от конструкции объекта диагностирования. Это различного рода стенды, например, беговые или тормозные для оценки тяговых и тормозных свойств автомобиля, компрессометры и другие переносные приборы.
Универсальное средство ТД – средство, предназначенное для объектов диагностирования различного конструктивного выполнения или функционального назначения. Это могут быть приборы для измерения давления, состава отработавших газов, оценки линейных размеров.
Специализированное средство ТД – средство, предназначенное только для однотипных объектов.
Все изложенные методы диагностирования и используемые средства охватывают различные диагностические признаки и параметры, они применяются в различных областях (табл. 13.9).
Таблица 13.9
| Признаки | Диагностические параметры | Объекты применения |
| Факт работоспособности или неработоспособности объекта | – | Двигатель, герметичность пожарного насоса, сцепление |
| Снижение эффективности | Мощность, напор, развиваемый насосом, расход пенообразователя, поворот колен автолестницы, тормозной путь | Двигатель, тормоза, аккумуляторная батарея, сцепление |
| Правильность геометрических сопряжений | Линейные и угловые зазоры, свободный и рабочий ход | Приводы ПЦН, механизмы приводов, рулевое управление |
| Степень герметизации рабочих объемов | Герметизация пожарных насосов, компрессия, прорыв газов в картер, давление воздуха в шинах, опрессовка водопенных коммуникаций | Пожарный насос, двигатель, компрессор, гидроприводы, системы охлаждения |
| Правильность циклических процессов | Изменение силы тока и напряжений в электроцепях, изменение колебания подрессоренных масс, изменение установки зажигания | Система зажигания, генератор, сцепление |
| Отклонение от нормы акустических процессов | Виброимпульс, частота и фаза колебаний, уровень шума | Двигатель. Агрегаты трансмиссии, топливная аппаратура дизеля |
| Изменение состава картерного масла | Вязкость, кислотность, наличие воды, наличие и концентрация продуктов износа | Двигатель, система смазки |
| Изменение состава отработавших газов | Содержание СО, сажи | Двигатель, система зажигания, топливная система |
Окончание табл. 13.9
| Признаки | Диагностические параметры | Объекты применения |
| Тепловое состояние | Температура и скорость ее изменения | Система охлаждения, пожарный насос, система смазки, агрегаты трансмиссии |
| Изменение КПД объекта диагностирования | – | Пожарный насос, трансмиссия, рулевое управление |
| Изменение вида поверхности объекта | Визуальное наблюдение деформации, порча окраски, подтекания, царапины, износ шин | Кузов, двигатель, насосная установка, агрегаты и системы пожарного автомобиля |
Особенности технического диагностирования в ГПС обусловлены спецификой технического обслуживания (ТО ПА) и их ремонта (Р).
В пожарных частях ТО и Р производится силами водителей ПА и личного состава боевых расчетов под руководством начальника караула. Все работы осуществляются на посту технического обслуживания.
Для постов ТО в пожарной части установлен перечень диагностического оборудования. Оно позволяет осуществлять технический контроль небольшого количества элементов. Его перечень, наименование и область применения приводятся в табл. 13.10.
Таблица 13.10
| Объект проверки | Наименование приборов | Назначение приборов и приспособлений |
| Двигатель | Стетоскоп Компрессометр Плотномер Приспособление | Прослушивание двигателя Определение давления в цилиндрах в конце такта сжатия Определение температуры замерзания охлаждающей жидкости зимой Проверка натяжения приводных ремней |
| Шасси | Измерительная линейка Люфтомер Линейка | Проверка и регулирование схождения передних колес автомобиля Проверка свободного хода рулевого колеса пожарного автомобиля Проверка свободного хода педалей привода управления |
| Аккумулятор-ные батареи | Трубка стеклянная Плотномер Пробник | Проверка уровня электролита Замер плотности электролита Определение ЭДС аккумуляторной батареи |
При ЕТО включением проверяется работоспособность двигателей. С помощью газоструйного вакуумного аппарата проверяется герметичность пожарного насоса по падению создаваемого разрежения.
Один раз в 10 дней производится проверка аккумуляторных батарей и при необходимости их обслуживание. При выполнении этой работы используются простые приспособления, указанные табл. 13.10
При проведении ТО-1 для диагностирования используется все оборудование, указанное в табл. 13.10. Замеренные диагностические параметры сравнивают с нормативными их значениями, приводимыми в инструкциях по эксплуатации автомобилей. При их несогласованности принимается решение по обслуживанию (выполнению регулировочных и других работ). Контроль выполнения работы осуществляют повторными измерениями.
Диагностирование производится также для обоснования проведения текущих ремонтов, сопутствующих техническому обслуживанию. Выполнение диагностических работ гарантирует поддержание технической готовности ПА в подразделениях ГПС. Обеспечение технической готовности ПА осуществляется при проведении ТО-2 и необходимых ремонтов механизмов и агрегатов ПА. Эти работы выполняются в подразделениях технической службы – пожарных частях (отрядах) технической службы. В этих пожарных частях осуществляется как общее, так и локальное диагностирование, т.е. диагностирование какого-либо элемента объекта.
Примерами его являются, например, диагностирование пеносмесителя насосной установки, форсунки дизеля и т.д.
В настоящее время обоснована номенклатура стендов, приборов и приспособлений для постов диагностики подразделений технической службы. В них, прежде всего, имеется все оборудование, которым оснащены посты ТО в пожарных частях.
На постах технического диагностирования должны быть стенды для общего диагностирования шасси, пожарного оборудования и ПТВ. Для локального диагностирования используются различные приборы.
Для общего диагностирования шасси необходимы ряд стендов.
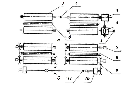
Стенды тяговые предназначены для имитации работы автомобиля в различных скоростных и нагрузочных режимах. Такие стенды бывают силовыми и инерционными. Более простыми по устройству и применению являются силовые стенды. Принципиальная схема стенда показана на рис. 13.31. Они могут быть для полноприводных и неполноприводных автомобилей. Автомобили устанавливают колесами на беговые барабаны стенда. Создание заданного нагрузочного и скоростного режимов работы диагностируемого автомобиля создается притормаживанием барабанов, вращаемых его колесами. В качестве нагрузочного устройства могут применяться гидравлические и электрические тормоза. Во втором варианте возможно измерение момента сопротивления трансмиссии. На стенде определяется мощность на ведущих колесах, расход топлива, а также дымность отработавших газов у дизелей и количество СО у карбюраторных двигателей.
![]() |
Рис. 13.31. Схема стенда тяговых качеств:
а – силового; б – инерционного;
1 – барабан; 2 – соединительная муфта; 3 – редуктор; 4 – нагрузочное
устройство(электротормоз); 5 – датчик измерения нагрузки; 6 – подъемник;
7 – тахогенератор; 8 – ролик для замера схождения колес; 9 – цепь; 10 – маховик;
11 – карданное сочленение
Стенд для проверки тормозных систем с приводом от колес автомобиля (рис. 13.32). На нем определяются: тормозная сила на каждом колесе, одновременность срабатывания тормозов колес одной оси, время срабатывания тормозного привода, усилия на тормозной педали.
![]() |
Рис. 13.32. Инерционные тормозные стенды с беговыми барабанами:
а – с приводом от ведущих колес автомобиля; б – с приводом от электродвигателя;
1 – ролик; 2 – маховик; 3 – цепная передача; 4 – соединительные электромагнитные муфты; 5 – редуктор; 6 – передаточный вал; 7 – электродвигатель
Стенд для проверки установки передних колес. Принципиальная схема стенда показана на рис. 13.33. С помощью стенда определяют величину боковых сил в контакте колеса с барабаном стенда.
На посту технической диагностики желательно иметь специальные стенды для проверки пожарных насосов, вакуумных систем, пеносмесителей.
Стенды для диагностирования пожарно-технического вооружения должны обеспечивать испытание спасательных устройств и снаряжения пожарных, а также гидравлического испытания пожарного оборудования.
![]() |
Рис. 13.33. Схема стенда КИ-4872 с беговыми барабанами силового типа для проверки и регулировки установки передних колес:
1 – беговой барабан; 2 – маятниковая подвеска (серьга); 3 – индуктивный датчик боковой силы перемещения барабана; 4, 5 – передний и задний захваты;
6 – балка переднего моста; 7 – колесо автомобиля
На посту предусмотрена возможность локального диагностирования систем двигателя, дополнительной трансмиссии, гидравлических систем. Эти работы выполняются специальными приборами.
|









