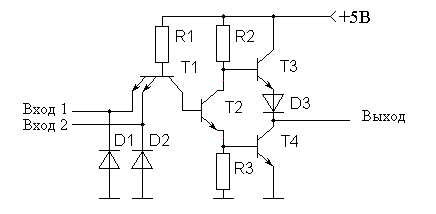
Принципиальная схема типового элемента 2И-НЕ диодно-транзисторной логики (ДТЛ) приведена на рис. 2. Если хотя бы на одном из входов (число которых может быть более двух) появляется уровень 0 (низкое напряжение), то соответствующий входной диод открывается и сигнал низкого напряжения практически закрывает транзистор Т1. При этом Т3 будет закрыт, а Т2 открыт и на выходе установится уровень 1 (высокий уровень). Для получения на выходе уровня 0 нужно, чтобы все входные диоды были закрыты, т.е. на входах должны быть уровни 1.
|
Рис. 2. Принципиальная схема ДТЛ
Принципиальная схема типового элемента 2И-НЕ транзисторно-транзисторной логики (ТТЛ) приведена на рис. 3. В отличие от схемы ДТЛ роль входных диодов выполняют эмиттерные переходы многоэмиттерного транзистора Т1.
|
Рис. 3. Принципиальная схема ТТЛ






