Абсорбция – это объёмное поглощение газов и паров жидкостью (абсорбентом) с образованием раствора. Процесс обратный абсорбции называется десорбцией.
Различают физическую, химическую и промежуточную абсорбцию. Физическая абсорбция связана с образованием физического раствора без химического взаимодействия поглощаемого компонента и растворителя. Энергия взаимодействия поглощаемого компонента и растворителя всегда
20 кДж/моль поглощаемого вещества. Химическая абсорбция (хемосорбция) связана с протеканием определённых химических реакций между поглощаемым компонентом и абсорбентом. Энергия взаимодействия в этом случае всегда > 25 кДж/моль. Промежуточная абсорбция связана с образованием между молекулами поглощаемого вещества и абсорбента слабых координационных связей (например, водородных) с энергиями взаимодействия 20 – 30 кДж/моль.
Абсорбция осуществляется в массообменных аппаратах называемых абсорберами (скрубберами).
Физическую абсорбцию осуществляют, как правило, при температуре приходящего газа (20 – 400С) или при специально понижаемых температурах, т.к. при этом возрастает растворимость хорошо поглощаемого компонента и снижается растворимость плохо поглощаемых компонентов (любой компонент можно сделать хорошо или плохо растворимым, меняя марку растворителя).
К жидкому абсорбенту, предназначенному для осушки газа, предъявляются многочисленные требования, основные из которых сводятся к следующему:
1. Высокая влагоёмкость;
2. Нетоксичность;
3. Стабильность;
4. Отсутствие корродирующих свойств;
5. Низкая растворяющая способность по отношению к углеводородам и слабая растворимость в них;
6. Простота регенерации.
В наибольшей степени этим требованиям отвечают диэтиленгликоль и триэтиленгликоль (ДЭГ и ТЭГ) – ГОСТ 10136 – 77. Используя ДЭГ можно уменьшить температуру точки росы газа по воде примерно на 300С. ТЭГ обладает более высокой влагоёмкостью, но труднее регенерируется по сравнению с ДЭГ ом. В России, в основном, используется ДЭГ. Во ВНИИСПТнефти и ЦКБН созданы блочные автоматизированные установки осушки газа ДЭГ ом пропускной способностью 100, 200 и 300 тыс.м3/сутки на рабочее давление 10 атм и пропускной способностью 500 тыс м3/сутки на рабочее давление 6 атм. В последнее время появились установки пропускной способностью 1200 и 2400 тыс м3/сутки на рабочее давление 10 атм. Немало осталось в России и установок спроектированных в ГДР, основанных на использовании ТЭГ а с пропускной способностью 500 тыс м3/сутки на рабочее давление 6 атм.
Контактные устройства предназначены для обеспечения тесного контакта и взаимодействия газовой и жидкой фазы. Различают контактные устройства тарелчатого и насадочного типа. Контактные устройства тарелчатого типа представляют собой жесткую металлическую конструкцию, самых различных модификаций (колпачковые, S – образные, сетчатые, желобковые и т.д.).
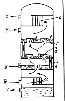
Рассмотрим принцип действия одной из них – колпачковой (рис.3).

Рис.3. Схема действия колпачковой тарелки
Влажный газ подаётся на осушку в нижнюю часть абсорбера. Вначале он попадает в каплеотделитель, снабженный насадкой для отделения от него взвешенных капель воды. Затем, газ через тарелки поднимается вверх. Число тарелок в аппарате может быть от 5 до 12.Навстречу газу стекает абсорбент. Каждый колпачек погружен своими краями в абсорбент, образуя гидравлический затвор. Газ, поднимаясь по сквозным патрубкам, пробивается через затвор и распыляет абсорбент. Края колпачков зазубрены. Абсорбент контактирует с газом, главным образом, в зонах пены, брызг и в образующемся в межтарелчатом пространстве тумане.
1. Насадка для отделения от газа капель воды; 2. Глухая тарелка; 3. Штуцер; 4. Копачек; 5. Колпачковая тарелка; 6. Насадка для отделения от газа капель абсорбента; 7. Сливная труба; 8. Корпус.
I. Осушенный газ из абсорбера; II. Регенерированный или свежий абсорбент; III. Отработанный абсорбент на регенерацию; IV. Сырой газ на осушку; V. Вода в канализацию.






