Воздушно-пенные стволы предназначены для получения из водного раствора пенообразователя воздушно-механической пены низкой кратности (до 20) и подачи её в очаг пожара.
Стволы пожарные ручные СВПЭ и СВП имеют одинаковое устройство, отличаются только размерами, а также эжектирующим устройством, предназначенным дляподсасывания пенообразователя непосредственно у ствола из ранцевого бачка или другой емкости.

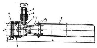
Ствол СВПЭ (рис. 1) состоит из корпуса, на котором с одной стороны укреплена соединительная головка 7 для присоединения пожарного рукава, а с другой - кожух 5, в котором пенообразующий раствор перемешивается с воздухом и. формируется пенная струя. В корпусе ствола имеется три камеры: приемная 6, вакуумная 3 и выходная 4. На вакуумной камере расположен ниппель 2 диаметром 16 мм для присоединения шланга 1, через который всасывается пенообразователь.

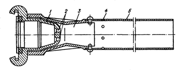
Принцип работы ствола СВП (рис. 2) следующий. Пенообразующий раствор, проходя через отверстия 2 в корпусе ствола 1, создает в конусной камере 3 разрежение, благодаря чему воздух подсасывается через восемь отверстий, равномерно расположенных в кожухе 5 ствола. Поступающий в кожух воздух интенсивно перемешивается с пенообразующим раствором и образует на выходе из ствола струю воздушно-механической пены.
Работа ствола СВПЭ отличается от работы ствола СВП тем, что в приёмную камеру поступает не пенообразующий раствор, а вода, которая, проходя по центральному отверстию, создает разрежение в вакуумной камере. Через ниппель в вакуумную камеру по шлангу из ранцевого бачка или другой емкости подсасывается пенообразователь.
Воздушно-пенные стволы СВПЭ и СВП надежны в работе. Пена низкого качества может образоваться из-за засорения центрального отверстия, попадания в вакуумную камеру посторонних предметов или применения пенообразователя с пониженными пенообразующими свойствами.
Возможными причинами нарушения нормальной работы ствола СВПЭ могут быть закупоривание всасывающего шланга посторонними предметами, отслоившейся тканью шланга, опускание шланга до упора на дно сосуда с пенообразователем. При эксплуатации необходимо следить за тем, чтобы поверхность кожуха не была смята, прокладка на присоединительной части была исправна, а ствол после работы промыт чистой водой.






