Согласно ГОСТ 24642-81 результатом измерения биения должна быть разность наибольшего и наименьшего расстояний от точек реального элемента детали до базовой оси или связанного с ней определенного элемента. При измерении торцового биения таким элементом является плоскость, перпендикулярная базовой оси, а при измерении биения в заданном направлении – поверхность конуса, ось которого совпадает с базовой осью. Основу при измерениях биений элементов деталей должна составлять базовая ось (ось некоторой базовой поверхности или общая ось двух поверхностей, являющихся конструкторскими базами контролируемой детали).
На практике часто биение элементов валов измеряют относительно оси центров (общей оси центровых отверстий), т.е. относительно технологической базы. Предпочтение использованию технологической базы отдают в первую очередь потому, что такую базу гораздо проще воспроизвести по сравнению с конструкторскими базами. Такой подход имеет право на существование, но при этом необходимо помнить о методической погрешности измерения, возникающей из-за несовпадения используемой технологической базы с конструкторской.
|
|
|
Основные различия широко применяемых методик измерения биений состоят в способе воспроизведения базовой оси или способе базирования деталей на измерительной позиции. Для решения задачи базирования валов в качестве вспомогательных средств могут использоваться измерительные призмы с широкими или с узкими рабочими поверхностями (так называемые «ножевые» призмы), разные по конструкции патроны (трехкулачковые, цанговые) и пр. Для реализации осей отверстий применяют различные оправки (цилиндрические, конические, разжимные цанговые, оправки с центровыми отверстиями и пр.).
Наиболее широкое распространение на практике получили схемы измерений, представленные на рисунках 3.68 – 3.73.

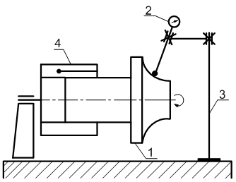
1 – контролируемая деталь; 2 – измерительная головка; 3 – штатив (стойка);
4 – призма с широкими рабочими поверхностями; 5 – поверочная плита;
6 – жесткий упор
Рис. 3.68. Измерение радиального биения наружной номинально
цилиндрической поверхности относительно оси наружной базовой поверхности

1 – контролируемая деталь; 2 – измерительная головка; 3 – штатив (стойка);
4 – оправка с центровыми отверстиями; 5, 6 – центра
Рис. 3.69. Измерение радиального биения наружной номинально цилиндрической поверхности относительно оси внутренней базовой поверхности

1 – контролируемая деталь; 2 – измерительная головка; 3 – штатив (стойка);
4 – поверочная плита; 5, 6 – призмы с узкими рабочими поверхностями
(«ножевые» призмы); 7 – жесткий упор
Рис. 3.70. Измерение радиального биения наружной номинально цилиндрической поверхности относительно общей оси двух наружных базовых поверхностей
|
|
|

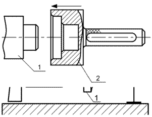
1 – контролируемая деталь; 2 – измерительная головка;
3 – рычаг; 4 – штатив (стойка); 5, 6 – центра
Рис. 3.71 Измерение торцового биения номинально плоской поверхности
относительно оси центров

1 – контролируемая деталь; 2 – измерительная головка бокового действия;
3 – штатив (стойка); 4 – патрон кулачковый
Рис. 3.72. Измерение торцового биения номинально плоской поверхности
относительно оси наружной базовой поверхности

1 – контролируемая деталь; 2 – измерительная головка;
3 – штатив (стойка); 4 – патрон цанговый
Рис. 3.73. Измерение биения в заданном направлении номинально
криволинейной поверхности относительно оси наружной базовой поверхности
Какой бы не использовался способ базирования контролируемых деталей на измерительной позиции, все выделенные методики выполнения измерений реализуются по общему алгоритму.
Чувствительный элемент средства измерения (наконечник измерительной головки или вспомогательного рычага) подводят до момента касания контролируемой поверхности детали в некоторой точке, принадлежащей требуемому контрольному сечению так, чтобы линия измерения располагалась по нормали к данной поверхности. После фиксирования момента касания чувствительный элемент продолжают перемещать в направлении контролируемой поверхности детали вдоль линии измерения до тех пор, пока стрелка отсчетного устройства измерительной головки не отклонится на величину, превышающую в 1,5 … 2 раза допуск контролируемого параметра. За счет этого создается необходимый измерительный «натяг», обеспечивающий возможность фиксировать как положительные, так и отрицательные отклонения контролируемых точек поверхности по отношению к исходной точке касания.
После выполнения настроечной операции деталь поворачивают относительно базовой оси не менее чем на один оборот и при этом фиксируют наибольшее
и наименьшее
показание измерительной головки с учетом знака. Эту процедуру, как правило, выполняют в ряде контрольных сечений, количество и расположение которых зависит от конфигурации и размеров контролируемой поверхности и заданного допуска ее биения.
В качестве искомого значения биения
принимают наибольшую разность показаний измерительной головки, зафиксированную в одном из контрольных сечений рассматриваемой поверхности детали, т.е.
= 
Контроль отклонений расположения элементов с помощью калибров
При контроле отклонений расположения элементов с помощью калибров не определяют действительные значения отклонений, а выясняют, находятся ли эти значения в заданных пределах. Контроль калибрами не требует высокой квалификации оператора и обеспечивает высокую производительность. Калибры, несмотря на высокие требования к точности рабочих поверхностей, как правило, обходятся дешевле специальных измерительных приспособлений, но их изготовление увеличивает себестоимость контролируемых деталей. Поэтому специальные калибры изготавливают только для контроля деталей в серийном или массовом производстве.
Контроль отклонений от соосности наружных и внутренних
номинально цилиндрических поверхностей с помощью калибров
Калибры с соосными рабочими поверхностями широко используют в массовом и крупносерийном производстве для контроля отклонений от соосности отверстий и валов, ограниченных зависимыми допусками (рис. 3.74, 3.75).
При осуществлении контрольной операции калибр-пробку вставляют в контролируемые отверстия детали, в калибр-втулку насаживают на контролируемый ступенчатый вал.
Условием годности (необходимым но недостаточным) является вхождение на заданную длину калибра-пробки в контролируемые отверстия детали или калибра-втулки на вал. Вторым условием являются положительные результаты контроля комплектом непроходных калибров (отсутствие прохождения).
|
|
|

1 – контролируемая деталь; 2 – калибр-пробка
Рис. 3.74. Контроль отклонения от соосности внутренних номинально
цилиндрических поверхностей с помощью ступенчатого калибра

1 – контролируемая деталь; 2 – калибр-втулка
Рис. 3.75. Контроль отклонения от соосности наружных номинально
цилиндрических поверхностей с помощью ступенчатого калибра-втулки
Контроль позиционного отклонения группы отверстий относительно
оси базового элемента (допуск зависимый)
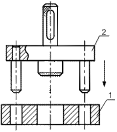
Для этого используют специальный калибр, содержащий базирующий элемент и совокупность измерительных элементов, количество и расположение которых должно соответствовать количеству и расположению контролируемых отверстий (рис. 3.76).

1 – контролируемая деталь; 2 – калибр специальный
Рис. 3.76. Контроль позиционного отклонения группы отверстий
относительно оси базового элемента