Если о положительном воздействии группы на индивида (коллектива на личность) много и хорошо написано и педагогической, социологической и психологической литературе, то о фактах отрицательного воздействия известно немного. Во всяком случае, до недавнего времени из-за определенной идеологизации психологи и педагоги об этих фактах предпочитали умалчивать. В этой связи мы уделим рассмотрению и анализу этих фактов несколько больше внимания, чем отведено на представление влияния группы на индивида в положительном свете. Особенно много данных о возможном отрицательном влиянии группы на индивида накоплено в социальной психологии малых групп, начало которой было положено исследованиями отечественных и зарубежных ученых, проведенными еще в начале XX в.
Поначалу психологи, заинтересованные в решении данного вопроса, в качестве объекта исследования использовали большие социальные общности типа толпы и неорганизованной массы людей, и только затем внимание переместилось на изучение влияния малой группы на индивида.
Французский исследователь Г.Лебон в книге под кратким названием «Толпа», опубликованной в 1895 г., попытался вывести общие законы поведения человека в неорганизованной общности людей. Он утверждал, что средний человек в массе людей, в толпе обнаруживает более низкий уровень интеллекта, чем вне ее. В толпе он более доверчив, агрессивен, ожесточен, нетерпелив, аморален и даже способен вести себя на уровне животного. Очевидно, Г.Лебон преувеличивал отрицательное влияние толпы на индивида, но тем не менее в его суждениях и выводах содержалась определенная доля истины. Ее подтвердили последующие экспериментальные исследования. Те специфические изменения в психологии и поведении человека под влиянием толпы, на которые одним из первых обратил внима-
ние Лебон, внимательно исследованы в социальной психологии под названиями «обезличивание» и «деиндивидуализация».
Было показано, что, когда, человек испытывает на себе влияние некоторой достаточно большой социальной общности, внутренне не организованной, в его психологии и поведении в большей степени проявляется то общее, что свойственно данной группе, и в гораздо меньшей степени то, что составляет его собственную индивидуальность. Человек в толпе нередко перестает быть личностью, поэтому данный феномен получил название «обезличивание». На рис. 80 приведены возможные причины обезличивания (деиндивидуализации), ее психологические и поведенческие следствия.
Один из наиболее впечатляющих экспериментов, показывающих, насколько далеко может зайти обычный человек в своих действиях, бездумно и слепо подчиняясь давлению со стороны авторитетных лиц или групп, которые они представляют, был к проведен в начале 60-х годов американским психологом С.Мил-
грэмом. Этот эксперимент заключался в следующем.
Через объявление в газете за плату 4 доллара в час добровольцы были приглашены принять участие в «научном психологическом эксперименте, предназначенном для изучения памяти». Каждому из людей, посетивших лабораторию, говорили, что в ходе эксперимента он будет выполнять роль «учителя», задача которого заключается в том, чтобы читать «ученику» пары слов и затем, напоминая по одному слову из каждой пары, просить «ученика» вспомнить второе слово соответствующей пары. Если «ученик» ошибался, то «учитель» должен был наказывать его ударами электрического тока, последовательно повышая его напряжение от' 15 В до 450 В шагами по 15 В (за каждую следующую ошибку напряжение в сети должно было увеличиваться на 15 В).
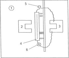
Общая схема данного эксперимента представлена на рис. 81. «Учителя» и «ученика» разделяла тонкая фанерная перегородка, так что «учитель» не мог видеть «ученика», но хорошо слы-) шал все, что происходило за перегородкой. Во время экспери-
мента «ученик» сидел в кресле 3, привязанный к нему ремнями, а на его руках находились контакты от электрических проводов, идущих от пульта. Само кресло 3, кроме того, было крепко привинчено к полу. При возникновении тока в электрической цепи зажигалась лампочка 6 и звучал электрический звонок 5. Перед началом эксперимента сам «учитель» садился в кресло «ученика» и для пробы получал удары электрическим током 15
19. Р. С. Немов, книга 1 577
ИНДИВИДУАЛЬНОСТЬ
СИТУАЦИОННЫЕ ПРИЧИНЫ ДЕИНДИВИДУАЛИЗАЦИИ:
АНОНИМНОСТЬ.
ВЫСОКИЙ УРОВЕНЬ ЭМОЦИОНАЛЬНОЙ ВОЗБУЖДЕННОСТИ.
СОСРЕДОТОЧЕННОСТЬ ВНИМАНИЯ ЧЕЛОВЕКА НЕ НА
СОБСТВЕННОМ ПОВЕДЕНИИ, А НА ТОМ, ЧТО ПРОИСХОДИТ
ВОКРУГ
СОЦИАЛЬНО-ПСИХОЛОГИЧЕСКИЕ СОСТОЯНИЯ,
ВЕДУЩИЕ К УСИЛЕНИЮ ДЕИНДИВИДУАЛИЗАЦИИ, УЖЕ
ВОЗНИКШЕЙ В СИЛУ УКАЗАННЫХ ВЫШЕ ПРИЧИН:
ВЫСОКАЯ СПЛОЧЕННОСТЬ ГРУППЫ, В КОТОРОЙ ОКАЗАЛСЯ
ИНДИВИД, ЕЕ ЕДИНСТВО.
СНИЖЕННЫЙ УРОВЕНЬ САМОСОЗНАНИЯ И САМОКОНТРОЛЯ
ИНДИВИДА
СЛЕДСТВИЯ ДЕИНДИВИДУАЛИЗАЦИИ
ПРОЯВЛЕНИЕ ИМПУЛЬСИВНОГО ПОВЕДЕНИЯ.
ВОЗРОСШАЯ ЧУВСТВИТЕЛЬНОСТЬ К ВНЕШНИМ ВОЗДЕЙСТВИЯМ.
ПОВЫШЕННАЯ РЕАКТИВНОСТЬ.
НЕСПОСОБНОСТЬ УПРАВЛЯТЬ СОБСТВЕННЫМ ПОВЕДЕНИЕМ.
ПОНИЖЕННЫЙ ИНТЕРЕС К ОЦЕНКАМ ОКРУЖАЮЩИХ ЛЮДЕЙ.
НЕСПОСОБНОСТЬ ВЗВЕШЕННО ОЦЕНИВАТЬ И РАЗУМНО
ПЛАНИРОВАТЬ ПОВЕДЕНИЕ.
ОБЕЗЛИЧИВАНИЕ
Рис. 80. Возможные причины и следствия деиндивидуализации

Рис. 81. Схема обстановки в лаборатории во время проведения эксперимента С.Милгрэма: 1 — место экспериментатора, 2 — место «учителя», 3 — место «ученика», 4 — пульт с кнопками, включающими нужное напряжение в сети, 5 — электрический звонок, 6 — электрическая лампочка
В и 30 В. После того как он убеждался в том, что ток по цепи действительно идет и что удары электрическим током даже минимального напряжения достаточно чувствительны, начинался основной эксперимент.
Непосредственно перед «учителем» находилась панель с электрическими кнопками, градуированными от 15 В до 450 В. Цифра 300 В была выделена красным цветом, и рядом с ней было написано слово «шок», что свидетельствовало о том, что такое напряжение смертельно опасно для человека и вызывает у него состояние шока.
На самом деле «ученик» в ходе эксперимента никаких ударов электрическим током не получал. С помощью скрытого маневра экспериментатор переключал ток на иную, замаскированную сеть, в которой также были включены лампочка и элек-
19* 579
трический звонок. В качестве же «ученика» в эксперименте использовался специально подготовленный человек — актер, который умело имитировал поведение и переживания лица, подвергаемого ударам электрического тока разной силы (напряжения). По мере того как «росло» напряжение в сети, «ученик» должен был вести себя все более беспокойно, а при напряжении более 300 В прекращать подавать какие бы то ни было признаки жизни: не отвечать на вопросы; не производить никаких звуков. До этого момента он должен был выражать свой протест движениями, ворчанием, криками, ударами ногами в перегородку и другими естественными способами.
Как и следовало ожидать, многие добровольцы с самого начала отказывались участвовать в данном эксперименте, включавшем мучительную процедуру наказания током другого человека. Однако экспериментатор уговаривал их, используя всевозможные аргументы. То же самое он должен был делать и по ходу эксперимента, чтобы побудить «учителей» как можно дольше наносить удары электрическим током «ученикам». Экспериментатор мог использовать любые аргументы, кроме прямого принуждения, но не имел права открывать «ученику» подлинную цель исследования. Для убеждения «учителя» экспериментатор имел право пользоваться следующими, например, словами: «пожалуйста, продолжайте», «эксперимент получается и требует того, чтобы вы продолжали», «очень важно, чтобы вы продолжали, это абсолютно необходимо», «вы должны продолжать, у вас нет иного выхода», «я требую», «я приказываю, чтобы вы продолжали». Если и последнее не помогало, то эксперимент прекращался и отмечалось то напряжение, до которого дошел «ученик».
Результаты эксперимента, проведенного со многими американцами, оказались обескураживающими (рис. 82). Обнаружилось, что почти 65% всех испытуемых-«учителей» довели напряжение тока до максимальной величины 450 В. Ни один из них не прекратил эксперимент до того, как напряжение на приборе достигло 300 В, т.е. той критической точки, за которой у «ученика» должен был последовать шок.
Полученные результаты С.Милгрэм объяснил следующим образом: люди, живущие в обществе, привыкают считать, что тот, кто находится над ними, кому они должны подчиняться, ответствен и лучше знает ситуацию, чем они сами. Факт чрезвычайного послушания испытуемых в данном эксперименте объясняется следующими причинами (обобщение ответов самих испытуемых, выступивших в роли «учителя»):

Рис. 82. Предполагаемое (нижняя кривая) и действительное (верхняя кривая)
количество людей, подчинившихся просьбам и приказам экспериментатора в
эксперименте Милгрэма (по Г.Бьербрауэру, 1973)
1. Попадание в ловушку. Эксперимент был задуман и начинался довольно невинно, как рядовое исследование памяти, а затем незаметно для самого испытуемого напряжение в нем постепенно нарастало. Испытуемые, начавшие повышать напряжение, не имели естественной точки, барьера, подойдя к которому следовало остановиться. По ходу эксперимента экспери-
ментатор не вводил никаких новых требований, и испытуемые просто продолжали делать то, что уже начали. К тому времени, когда у них впервые возникало желание выйти из эксперимента, они в своих действиях уже заходили слишком далеко, были как бы уже в ловушке, из которой не было выхода назад. Поэтому, обескураженные, они уже дальше продолжали действовать механически («терять было нечего»).
2. Этикет ситуации. В своеобразной психологической ловушке испытуемые оказались еще и потому, что с самого начала согласились, причем добровольно, участвовать в эксперименте и подчиняться требованиям экспериментатора. Для человека, давшего добровольное согласие что-либо делать другому лицу, трудно и неловко отказаться от обещанного. Такой отказ должен был бы означать выражение сомнения в порядочности и компетентности экспериментатора, прямое обвинение его в издевательстве над человеком («учеником»).
В одном из последующих экспериментов подобного рода, проведенном в несколько измененных условиях, вместо одного «учителя» было три (на самом деле настоящим испытуемым из них был только один). Два дополнительных «кандидата в учителя» делали следующее: один лишь зачитывал пары слов, второй только называл допущенные ошибки. Третий же, настоящий испытуемый, должен был нажимать электрическую кнопку, включающую напряжение. Когда оно достигало 150 В, «учитель», зачитывавший пары слов «ученику», вслух заявлял, что отказывается дальше работать, покидал свое рабочее место и пересаживался в свободное кресло, стоявшее невдалеке. Он вел себя так несмотря на то, что экспериментатор настаивал на продолжении работы. Далее, в тот момент, когда напряжение на приборе достигало 210 В, аналогичным образом поступал и второй подставной «учитель». После этого экспериментатор обращался к третьему оставшемуся (наивному испытуемому) и просил его одного продолжать эксперимент, более того — приказывал ему это делать. Оказалось, что в этих условиях приказу экспериментатора подчинились лишь 10% людей, выступивших в эксперименте в истинной роли «учителей».
В другой модификации того же эксперимента вместо двух дополнительных «учителей» опыт вели два экспериментатора. Вскоре после того, как «ученик» получал первые несколько ударов электрическим током, экспериментаторы начинали спорить между собой. Один из них требовал немедленно прекратить эксперимент, другой настаивал на его продолжении. В этих усло-
виях ни один из настоящих испытуемых не изъявил желания продолжить эксперимент, несмотря на то, что второй из экспериментаторов настаивал на этом.
3. Смягчающие обстоятельства. Испытуемые в эксперименте знали, что совершают акт насилия, но для их действий были некоторые смягчающие обстоятельства. Например, в оправдание своего поведения «учитель» мог сказать, что не видел «ученика», поскольку тот находился за перегородкой в соседней части комнаты и, следовательно, не мог по-настоящему оценить, насколько ему больно. Действительно, было обнаружено, что в случае, если «учитель» и «ученик» находились в одном помещении и могли видеть друг друга, число послушных приказу экспериментатора снижалось до 30%.
Чем меньше для испытуемого было смягчающих его вину обстоятельств, тем меньше послушания он демонстрировал. Однако в тех случаях, когда «учитель» не сам должен был нажимать кнопки, а только давал распоряжение делать это другому, количество послушаний вновь резко возрастало, до 93%, причем на этот раз «учитель» без стеснения использовал всю шкалу напряжений, до 450 В включительно. Поразительно, замечает по этому поводу С.Милгрэм, насколько снижается эффект послушания, если человеку приходится совершать акт насилия собственной рукой, и насколько он возрастает, если за него это делает кто-то другой.
4. Надзор. Очевидным фактом, оказавшим влияние на поведение испытуемых в обсуждаемом эксперименте, было личное присутствие экспериментатора. В тех случаях, когда он покидал лабораторию и отдавал свои распоряжения по телефону, процент послушных приказу падал с 65 до 21%. Многие из испытуемых в этих условиях начинали хитрить, используя для наказания «ученика» ток гораздо меньшего напряжения, чем предписывалось инструкцией.
5. Авторитет и идеология, прикрывающая сверху. Наиболее важный фактор из числа тех, которые порождают добровольное и бездумное послушание, связан с так называемой «идеологией, прикрывающей сверху». Это укоренившаяся в обществе или социальной группе система взглядов, которая заранее юридически и морально оправдывает тех, кто им следует. В эксперименте С.Милгрэма в роли такой идеологически высокой инстанции, заранее снимающей ответственность с испытуемых, выступал авторитет науки («наука требует жертв»). Когда в одном из экспериментов ссылка на научные интересы в оправдание
издевательства над человеком была снята, число послушных упало с 65 до 48%.
Обратим внимание на одно обстоятельство, связанное с данным экспериментом. Оно показывает, что нередко люди о себе и себе подобных думают лучше, чем они есть на самом деле. В одном из подобных исследований, осуществленном Г.Бьер-бауэром по методике С.Милгрэма, испытуемых до начала эксперимента просили предсказать, как другие люди (не они сами) поведут себя в данном эксперименте. Затем тех, в отношении которых они делали предсказание, включили в эксперимент и проверили, как они вели себя на самом деле. Предсказанные и реальные результаты затем сравнили между собой (рис. 82, нижняя и верхняя кривые).
Эти данные также вызывают удивление. Вместо ожидаемых по предсказанию примерно 30% людей, которые способны были довести напряжение до 315 В, таких на самом деле оказалось 100%. Вместо приблизительно 10% ожидаемого числа людей, способных нанести другому человеку удар электрическим током напряжением 450 В, в действительности оказалось более 60%.
Все то, о чем говорилось в эксперименте С.Милгрэма, действует на человека в реальных группах, где на него часто оказывается давление отдельными лицами самими по себе и от имени этих групп. Следовательно, считать влияние группы на индивида только положительным фактором нельзя.
Другим возможным отрицательным следствием группового влияния может быть то воздействие, которое оказывается обычно на одаренных творческих личностей, существенно отличающихся по своей психологии от большинства членов данной группы. На это обстоятельство в свое время обратил внимание В.М.Бехтерев.
Проведя ряд индивидуальных и групповых экспериментов, в результате которых сравнивались показатели творческой работы группы и индивида, В.М.Бехтерев показал, что в творчестве группа может уступать особо одаренным личностям. Выяснилось, в частности, что коллективное творческое решение, если оно принимается по «большинству», методом простого голосования, нередко оказывается более низкого качества, чем частное творчество особо одаренных личностей, включенных в данную группу. Их оригинальные идеи отвергаются большинством потому, что непонятны ему, и такие личности, находясь под сильным психологическим давлением «квалифицированного» (на
самом деле некомпетентного) большинства, сдерживаются, подавляются в своем творческом развитии. В печальной истории нашей страны за последние семь десятков лет мы встречались с немалым количеством примеров, подтверждающих вывод Бехтерева. Имеются в виду многие одаренные писатели, художники, ученые, инженеры, которые были исключены из своих творческих коллективов и, более того, волею судьбы оказались за рубежом, где и получили признание по достоинству.
Последний факт, который здесь следует еще раз напомнить — мы его уже рассматривали, — касается конформного поведения (см. гл. 3). Конформизм — широко распространенный феномен, выражающий собой безусловно отрицательное влияние группы на личность, побуждающий ее вести себя нечестно. И чем более сплоченной является группа в своем психологическом давлении на индивида, тем более конформно он вынужден поступать.






