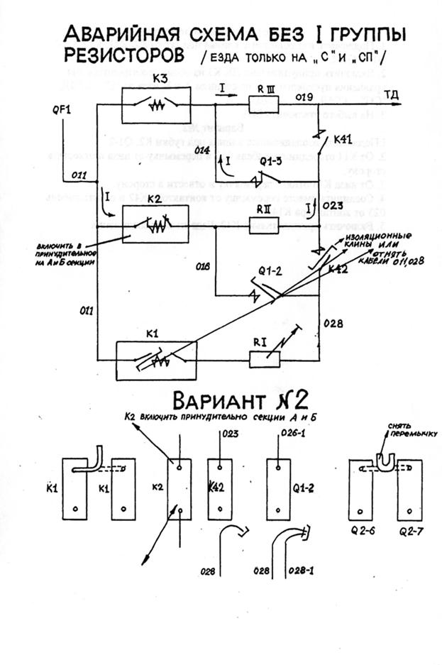
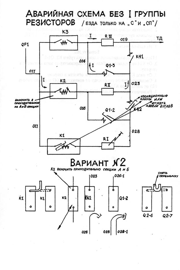
1. Подложить изоляционные клинья под губки Kl, K42 и к.э. Q1-2 или отнять подводящие кабели 011, 028.
2. Включить принудительно ЛК К2 на обоих электровозах для уравнивания токов по секциям - езда на "С", "СП" - соединениях.
3. На выбеге отключить БВ1.
Вариант №2:
1. От верхнего кронштейна контактора К1 отнять перемычку.
2. От нижнего кронштейна контактора Q1-2 группового переключателя отсоединить кабели 028 и 028-1 и заизолировать.
3. От нижнего кронштейна контактора К42 отнять кабель 028 и за изолировать.
4. Включить принудительно К2 на обоих электровозах для уравнения пускового тока по секциям А и Б. Езда на "С" - 6ТЭД, "СП" - ЗТЭД.
5. Езда на "П" - необходимо от верхнего кронштейна к.э. Q2-6, Q2-7 снять перемычку (1-2, 4-3 ТЭД).
6. На выбеге отключать БВ1.








