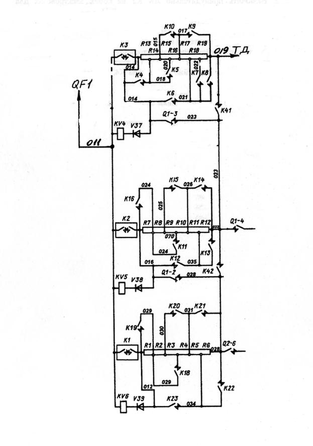
Прозвонка осуществляется в ВВК2 при опущенных токоприемниках и нахождении реверсивно- селективной рукоятки в нулевом положении. Отключатели ТЭД S49-S56, S50-57. S51-S58 на пульте машиниста должны находится в положении "Отключено" (от себя).
Прозвонка 1-й группы резисторов. "Плюс" для контрольной лампы берется от провода Э568 (вентиль переключателя Q15) или от выключателя освещения ВВК. Второй конец контрольной лампы подсоединяется к кабелю 028 на контакторном элементе Q1-2 - лампа должна гореть. Затем нужно нажать на оба вентиля привода Q1 и групповой переключатель Q1 разворачивается в СП- соединение, при этом размыкается его к.э. Q1-2 в цепи кабелей 028 и 016.
Погасание лампы указывает на отсутствие к.з. в 1-й группе резисторов. Если же лампа продолжает гореть, то это указывает на кз. в 1-й группе резисторов.
Прозвонка 2-й группы резисторов. Проверка 2-й группы резисторов производится подсоединением второго конца контрольной лампы к кабелю 023 на контакторном элементе Ql-З. Затем нужно нажать на оба вентиля привода Q1 и групповой переключатель Q1 разворачивается в СП- соединение, при этом размыкается его к.э. Ql-З в цепи кабелей 023 и 014
Погасание лампы указывает на отсутствие к.з. во 2-й группе резисторов. Если же лампа продолжает гореть, то это указывает на к.з. во 2-й группе резисторов.








