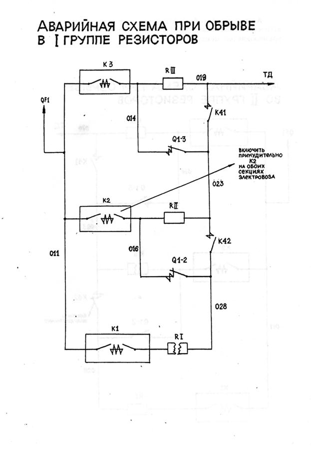
а) Принудительно включить ЛК К2 на обеих секциях для уравнивания тока между секциями А и Б.
б) На выбеге отключить БВ1.

Аварийная схема без 2-й группы пусковых резисторов.
а) Принудительно включить К42 или КЗ на обоих электровозах для уравнивания тока между секциями А и Б.







