Принцип действия автоматических электронных потенциометров основан на компенсационном методе измерения термоЭДС, заключающемся в автоматическом уравновешивании (компенсации) измеряемой ЭДС известным напряжением, получаемым от строго определенного (рабочего) тока на сопротивлении с известным значением.
Типовая принципиальная схема таких потенциометров (рисунок 3.6) содержит: компенсационную мостовую измерительную схему А1, которая вырабатывает напряжение UAB, компенсирующее измеряемую термоЭДС Ех;входное устройство Uz, предназначенное для преобразования поступающего из измерительной схемы сигнала небаланса (некомпенсированного напряжения) постоянного тока D U в сигнал (напряжение) переменного тока; усилитель сигнала небаланса переменного тока А2; реверсивный асинхронный двигатель конденсаторного типа, управляющая обмотка которого питается выходным напряжением с усилителя А2 и который кинематически связан с движком реохорда 1 и кареткой 2, перемещающей указатель (стрелку) 3 вдоль шкалы 4 и перо самописца 5 (если модификация потенциометра с записью измеряемой величины) вдоль диаграммной ленты 6; систему кинематической передачи 7; состоящую из приводного ролика 8 и натяжных роликов 9, связанных между собой тросовой передачей; синхронный двигатель М2 (если модификация потенциометра с записью) для продвижения диаграммной ленты 6.
|
|
|

Рисунок 3.6 – Принципиальная схема автоматического электронного потенциометра
Над шкалой 4 установлена стрелка 10, перемещаемая вдоль шкалы в ручную и являющаяся задатчиком измеряемой температуры. Со стрелкой 10 жестко соединен микропереключатель SQ, переключающий свои контакты в момент совмещения стрелок 3 и 10 и являющийся выходным сигнализирующим (регулирующим) устройством.
Измерительный мост А1 питается от источника стабилизированного напряжения, обеспечивающего постоянство рабочего тока в измерительной схеме. В одну вершину моста включен реохорд R р с токоотводом (вспомогательной спиралью) ХА, предназначенный для изменения компенсирующего напряжения. Плечи моста составлены из резисторов: R н – для установления диапазона измерения ЭДС; R т – для установки величины рабочего тока; R к – для контроля рабочего тока при градуировке или поверке прибора; R м – вспомогательный резистор из медной проволоки для автоматического введения поправки на изменение термоЭДС термопары ВК при изменении температуры ее свободных концов; R п – для ограничения регулировки тока в цепи источника питания GВ при градуировке. Все резисторы, кроме R м изготавливают из стабилизированной манганиновой проволоки. Термопара ВК, как видно из схемы, подключена последовательно с усилителем UZ-A2 к диагонали АВ моста A1, при этом напряжение небаланса направлено навстречу измеряемой термоЭДС.
|
|
|
Схема потенциометра работает следующим образом. В исходном состоянии мост сбалансирован так, что при температуре градуировки термопары (0 °С) и при крайнем левом положении подвижного контакта реохорда напряжение на выходе моста Uав = Eх = D U = 0. Параметры плеч моста А1 выбраны таким образом, что величина напряжения Uав зависит только от положения движка реохорда 1, т. е. от изменения сопротивления Rр. С учетом кинематической связи каждому положению движка 1 соответствует определенное положение указателя 3 на шкале 4. Поэтому для каждого значения измеряемой ЭДС Ех можно найти такое положение движка реохорда, при котором компенсирующее напряжение Uав будет равно Ех. При этом напряжение небаланса D U = 0 и исполнительный механизм М1 следящей системы компенсации находится в покое. При измеряемой температуре, отличной от ее градуировочной величины, измеряемая термоЭДС Еx не равна компенсирующему напряжению Uав, в результате чего возникший сигнал небаланса D U подается через преобразователь UZ на вход усилителя А2. Этот сигнал усиливается до значения, достаточного для приведения в действие реверсивного двигателя M1, выходной вал которого будет вращаться в направлении, зависящем от полярности сигнала D U. Полярность сигнала обусловливается знаком большей величины Ех или Uав. Выходной вал двигателя М1 через систему кинематической передачи 7 воздействует на движок реохорда измерительной схемы А1, изменяя компенсирующее напряжение Uав до тех пор, пока оно не уравновесит измеряемую термоЭДС Ех. Одновременно приводится в движение каретка 2 с указателем 3 и пером 5, фиксируя значение измеряемой температуры.
При применении потенциометра только в качестве измерителя контролируемой величины задатчик 10 и выходное регулирующее устройство SQ не используются.
Конструкция стандартного автоматического электронного потенциометра KCП-4 представлена на лабораторном стенде.
С целью обеспечения нормированной погрешности при измерении и регулировании температуры термопара, подключаемая к потенциометру, должна иметь с ним одинаковое стандартное обозначение градуировки (например, гр. ХА, ХК и т. д.)
3адачи работы
1. Изучить конструкции и принципы действия первичных преобразователей температуры: термометров сопротивления, термисторов и термопар.
2. Изучить конструкции и принципы действия вторичных приборов: логометров и электронных автоматических потенциометров; составить принципиальные схемы приборов.
3. Исследовать зависимость сопротивления термометра сопротивления и термистора от их температуры.
4. Исследовать зависимость термоЭДС термопары от температуры рабочего спая.
1. Конструкции и принципы действия первичных преобразователей температуры и вторичных приборов изучить по методическим указаниям к настоящей работе, натурным образцам и рекомендуемой литературе.
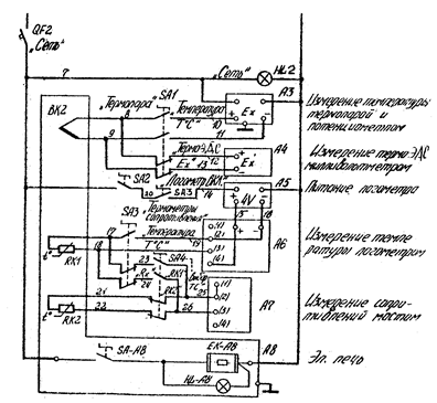
Исследование статических характеристик термометра сопротивления, термистора и термопары провести на лабораторной установке, принципиальная схема которой изображена на рисунке 7. Она состоит из нагревательной электропечи А8 (Р н = 1,0 кW), в рабочей камере которой установлены исследуемые термопары ВК2, термометр сопротивления RK1 и термистор RК2; автоматического потенциометра A3 для измерения температуры в печи А8 совместно с термопарой ВК2, моста постоянного тока А7 (Р333) для измерения величины сопротивлений термометра сопротивления RК1 и термистора RК2.
На лицевой панели пульта размещены: автоматический выключатель QF2для подачи напряжения питания 220 V, 50 Нz на лабораторную установку и защиты ее электрооборудования от аварийного короткого замыкания, переключатели – тумблеры SA1–SА4 для ручного управления, милливольтметр А4 для измерения термоЭДС исследуемой термопары ВК2 и логометр А5–А6 с термометром сопротивления RК1 для измерения температуры в печи А8.
|
|
|
Внимание. Перед началом работы все органы ручного управления установки должны быть установлены в исходное положение: QF2, SА2, SА-А8 – выключены; SA1, SA3 – в положение «Температура», SА4 – в положение «Термометр сопротивления RK1».

Рисунок 7 – Электрическая принципиальная схема лабораторной установки для исследования термоизмерительных преобразователей
2. Снять и построить статические характеристики датчиков температуры.
А. Включить автоматический выключатель QF2, тумблер SA2.
Б. При комнатной температуре измерить ее значение в печи А8 по показаниям вторичных приборов A3 и А6.
Установить переключатель SA1 в положение «ТермоЭДС Еx», измерить величину термоЭДС Ех термопары ВК2 по показаниям прибора А4 (шкала mV). Переключить тумблер SA1 в исходное положение «Температура». Выключить логометр А6 тумблером SА2. Установить тумблер SA3 в положение «Сопротивление Rx».
Пользуясь мостом А7, измерить величину сопротивления термосопротивления RK1:
– нажать кнопку «MB» на лицевой панели моста;
– ручкой «П5» установить множитель «n» в положение «10-2»;
– переключателями П1–П4 установить ожидаемое значение Rx =50–60 Ом нажать кнопку «ЭНИ» и вращением ручки «Баланс» добиться одновременного свечения светодиодов;
– нажать кнопку «ПИТ»;
– уравновесить мост вращением переключателей П1–П4, добиваясь одновременного (или близкого к нему) свечения светодиодов;
– вычислить сопротивление по формуле
Rx = nR,
где n – множитель декады П5,
R – сопротивление плеч сравнения П1–П4.
Установить тумблер SA4 в положение «Термистор RK2». Измерить величину сопротивления термистора RК2 при помощи моста А7, как указано выше при установке множителя «n» в положение «10» и Rx = (40–45) × 103 Ом. После измерения сопротивления RK2 переключить в исходное положение: тумблер SA4 – в положение «Термометр сопротивления RK1», тумблер SA3 – в положение «Температура Т °С». Тумблером SA2 включить логометр А6.
|
|
|
Результаты измерений записать в таблицу:
Таблица 3.1
| № опыта | Т А3, °С | Е х, mV | Т А6, °С | RRK 1, Ом | RRK 2, Ом |
| Т комн. | |||||
Г. Включить печь А8 тумблером SА-А8. При достижении в печи температуры 30 °С зафиксировать ее значение по показаниям прибора A3 и А6. Выключить тумблер печи S А-А8.
Д. Повторить измерения по п. Г при Т = 30±2 °С, 40±2 °С; 60±2 °С; 80±2 °С; 100±2 °С.
Е. После окончания измерений установить все органы ручного управления в исходное положение: выключить тумблеры SА2, SА-А8 и автоматический выключатель QF2. Открыть дверцу печи А8.
Ж. По данным таблицы построить графики:
RRK 1 = f(T),
RRК 2 = f(T) и Eх = f(T),
где Т = (Т А3 + Т А6)/2.
Примечания – Во избежание разряда источника питания мост А7 включать только в моменты измерений. При включении нагрева печи мост необходимо выключить кнопками «ПИТ» и «ЭНИ».