Конструкцию и принцип действия САРТ изучить по методическим указаниям к настоящей работе, натурным образцам и рекомендуемой литературе.
Исследование работы САРТ сушильной камеры провести на лабораторной установке, принципиальная схема которой изображена на рисунке 9.5.

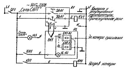
Рисунок 9.5 – Электрическая принципиальная схема лабораторной установки
Она состоит из сушильной камеры А2 (объект САРТ) c термопарой ВК1, настенного автоматического выключателя QF1, потенциометра А1 (КСП-4), а также настенного стенда – пульта управления. Внутри пульта установлены магнитный пускатель KM1 и промежуточное реле КV1, являющиеся функциональными элементами САРТ.
Снять и построить переходную характеристику системы.
1. Включить автоматический выключатель QF1 и потенциометр КСП-4.
2. Измерить температуру в печи А2 по показаниям прибора A1.
3. Включить печь А2 переключателем SА-А2 (на печи), переводя его из положения «О» в положение «1». В результате мгновенного замыкания контактов переключателя на нагревательный элемент печи EK1-A 2 поступит напряжение сети, изменяющееся в этот момент скачком от 0 до 220 V. Реакция САРТ на ступенчатое изменение управляющего воздействия будет характеризоваться переходным процессом температуры.
|
|
|
4. Регистрировать по шкале потенциометра A1 значение температуры в печи с интервалом времени в 2 мин.
Снимать, показания прибора КСП-4 до момента времени третьего-четвертого включения нагревательного элемента печи (6 срабатываний пускателя KM1).
Результаты измерений записать в таблицу 9.1.
Таблица 9.1
| Время, мин | … | ||||||||||
| Температура,°С |
5. После окончания измерений все органы ручного управления установкой установить в исходное положение: выключить переключатель SА-А2 и автоматический выключатель QF1. Открыть дверцу печи А2.
6. По данным таблицы построить график Т = f(t).
7. Определить показатели качества процесса регулирования.






