Совокупность связанных между собой горных выработок шахты, по которым движется воздух, называется вентиляционной сетью. Вентиляционные сети шахт изображаются в виде планов и схем. Вентиляционным планом называется вычерченный в масштабе план горных выработок, на котором стрелками указано направление движения воздуха (рис.12.1). На шахтных вентиляционных планах указываются также скорость и количество воздуха в выработке, ее сечение, места расположения замерных станций и др.
Вентиляционный план необходим для контроля проветривания шахты, а также служит источником ряда данных для расчета вентиляции (длина выработок, их сечение, места утечек и т.п.). При расчетах вентиляционный план может быть заменен вентиляционной или аэродинамической схемой, представляющей собой упрощенное внемасштабное изображение вентиляционной сети, в котором взаимное расположение элементов, соответствующих путям движения воздуха, тождественно их расположению в шахте (рис. 12.2). Обычно на схемах вентиляции изображаются только выработки, по которым движется воздух; для точных расчетов на них указываются также и пути утечек (штриховые линии на рис. 12.2).
|
|
|

Рисунок 12.1 – Пример вентиляционного плана шахты
![]() | |||
![]() | |||
![]() | |||
![]() |

|
![]() | |||||
![]() | |||||
![]() | |||||
|
|
|
|
![]() | |||||
![]() | |||||
![]() | |||||

|
|
|

Рисунок 12.2 – Пример вентиляционной схемы шахты
Места соединения трех и более выработок называются узлами сети (точки 3, 6, 6', 9, 9',13 на рис 12.2). Выработка (или цепь последовательно соединенных выработок), соединяющая два узла, называется ветвью (участки 1-2-3, 3-4-5-6, 6-7-8-9, 9-10-11-12-13, 13-14-15). Часть схемы, ограниченная со всех сторон ветвями и не содержащая ветвей внутри себя, называется элементарным контуром или ячейкой (участки 6-7-8-9-8'-7'-6 и т.п.).
Все вентиляционные сети шахт делятся на два основных класса: плоские и объемные (пространственные).
Плоской называется сеть, которую можно изобразить на плоскости так, что ее ветви будут пересекаться только в узлах. Если же ветви сети пересекаются и на участках между узлами (т.е. появляются дополнительные узлы, отсутствующие в натуре), то для устранения этих лишних пересечений схеме придают объемный характер, и такие сети называются объемными.
Для любой замкнутой сети справедливо соотношение Эйлера:
L=M+N –1, (12.1)
где L – число ветвей;
M – число ячеек или число независимых контуров;
N – число узлов в сети.
|
|
|
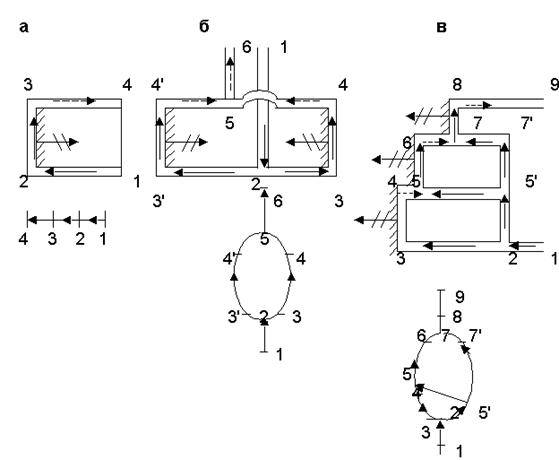
В зависимости от взаимного расположения выработок в схеме различают три основных вида соединений: последовательное, параллельное и диагональное (рис 12.3). При последовательном соединении конец предыдущей выработки соединяется с началом последующей, при параллельном соединении выработки имеют общие точки начала и конца; при диагональном соединении выработки между их общим началом и концом соединяются одна с другой одной или несколькими диагоналями. Если между диагоналями нет аэродинамической связи, соединение называется простым диагональным, если такая связь существует – сложным.
В вентиляционных схемах современных шахт, как правило, сочетаются все основные виды соединений.

Рисунок 12.3 – Пример вентиляционных планов и схем
а – последовательное соединение горных вырабо-
ток;
в – однодиагональное;
1-9 – точки начала и конца выработок.
Основной задачей исследования вентиляционных сетей является: нахождение распределения воздуха по их ветвям; в ряде случаев требуется также определить общее сопротивление сети.









