Электреты. У некоторых диэлектриков состояние поляризации, созданное каким-либо способом, можно зафиксировать на длительное время, что позволяет использовать такие диэлектрики как источники электрического поля - электреты. Способность диэлектриков сохранять поляризованное состояние проявляется по-разному в зависимости от вида диэлектрика, внешних и внутренних условий.
Если вещество, молекулы которого обладают дипольным моментом, расплавить и поместить в сильное электрическое поле, то его молекулы частично выстроятся по полю. При охлаждении расплава в электрическом поле и последующем выключении поля в затвердевшем веществе поворот молекул будет затруднен, и они длительное время сохраняют преобладающую ориентацию. Первые электреты получил в 1922 году японский физик Егучи[4] из смеси карнаубского воска и канифоли.
Остаточная поляризация может быть получена также в кристаллическом веществе за счет ориентации в поле так называемых квазидиполей (две вакансии противоположного знака, примесный ион – вакансия и т.п.) или за счет скопления носителей заряда вблизи электродов.
Стабильные электреты получают путем нагрева, а затем охлаждения в сильном электрическом поле (термоэлектреты), освещения в сильном электрическом поле (фотоэлектреты), облучения радиоактивным излучением (радиоэлектреты), поляризацией в сильном электрическом поле без нагрева (электроэлектреты) и т.д. Все электреты имеют стабильный поверхностный заряд.
Имеется еще один интересный вид электретов – моноэлектреты с монопольным электрическим полем, имеющий во всем объеме заряд одного знака.
Материалами для получения электретов являются аморфные воски и смолы, полимеры, поликристаллические неорганические диэлектрики (титанаты щелочноземельных металлов, ультрафарфор и др.), монокристаллические неорганические диэлектрики (щелочно-галоидные монокристаллы, корунд, рутил), стекла и др.
Электреты применяют как источник постоянного электрического поля (электретные микрофоны и телефоны, вибродатчики, генераторы слабых переменных сигналов, электростатические вольтметры и др.), а также как чувствительные датчики в устройствах дозиметрии, электрической памяти, для изготовления барометров, в электрофотографии и др.
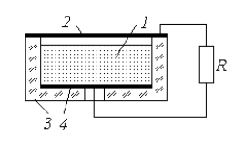
В качестве примера на рис. 5.5 приведена схема электретного микрофона.
|
| Рис. 5.5. Схема электретного микрофона: 1 – электрет; 2 – мембрана; 3 – корпус; 4 – электрод |
Звуковые волны, являясь внешним источником энергии, изменяют зазор между мембраной и электретом, что приводит к изменению электрических полей и возникновению переменной эдс в цепи. Часто в качестве мембраны используют пленку из органического полимера, который является электретом. При подаче на электроды электрического сигнала звуковой частоты микрофон будет выполнять роль телефона.
Сегнетоэлектрики. Кристаллические диэлектрики, обладающие в определённом интервале температур спонтанной (самопроизвольной) поляризацией, которая существенно изменяется под влиянием внешних воздействий. Свое название получили от минерала – сегнетовой соли
. Электрические свойства сегнетоэлектриков во многом подобны магнитным свойствам ферромагнетиков (отсюда название ферроэлектрики, принятое в зарубежной литературе).
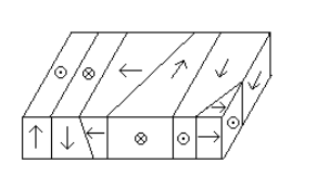
Известно около 300 индивидуальных соединений и более 1500 твердых растворов, которые обладают сегнето – или антисегнетоэлектрическими свойствами. Такие вещества состоят из доменов – областей с разным направлением поляризации (рис.5.6).
|
Рис. 5.6. Схематическое изображение доменов тетрагональной модификации титаната бария ; стрелки указывают направление вектора поляризации |
Равновесная доменная структура сегнетоэлектрика отвечает минимуму свободной энергии кристалла. В идеальном кристалле она определяется балансом между уменьшением энергии при образовании доменов за счет электростатического взаимодействия разных частей кристалла и увеличением энергии доменных границ. Доменная структура реального кристалла определяется природой и характером распределения его дефектов, а также историей образца. Количество различных доменов, взаимная ориентация их спонтанной поляризации зависят от симметрии кристалла.
При постоянной температуре образца связь между вектором электрической индукции
и напряженностью внешнего поля
для сегнетоэлектриков носит нелинейный характер, то есть диэлектрическая проницаемость является функцией напряженности поля
. Зависимость поляризации
от напряженности электрического поля также нелинейная и имеет вид петли гистерезиса (рис.5.7).
Из рисунка видно, что
представляет многозначную функцию от
. Значение
, которое отвечает насыщению, обозначается
, и для типичного сегнетоэлектрика
оно составляет
при комнатной температуре. Остаточная поляризация
определяется величиной
, которая сохраняется в образце после того, когда после достижения насыщения поле уменьшается до нуля. Чтобы свести поляризацию
к нулю, необходимо приложить поле
, которое называется коэрцитивной силой. Величины
и
зависят не только от природы материала, но и от других факторов: структуры, примесей, дефектов и др.
|
| Рис. 5.7. Петля гистерезиса сегнетоэлектрика |
Переход в полярную фазу может быть вызван или сдвигом ионов (рис.5.8), что приводит к изменению структуры, или упорядочением ориентации электрических диполей, которые существовали и в не полярной фазе.
|
| а б |
| Рис. 5.8. Элементарная ячейка сегнетоэлектрика в полярной фазе (а) и неполярной фазе (б) |
Природа спонтанной поляризации достаточно хорошо изучена лишь для сравнительно простых структур типа метатитаната бария
, элементарная ячейка которого показана на рис. 5.9. В этой ячейке (структура типа перовскита) ионы бария расположены в узлах, ион титана – в центре куба, а ионы кислорода – в центре граней. Суммарная поляризация домена возникает за счет относительного сдвига ионов
и
, причем в каждой паре ионов этот сдвиг происходит в противоположных направлениях. Величина этого сдвига не превышает 0,01 нм.
Спонтанная поляризация сегнетоэлектриков сохраняется в некотором интервале температур. Максимальная температура называется сегнетоэлектрической точкой Кюри. Например, для
она составляет
. В интервале от 0 до
ячейка
является тетрагональной с
; вектор спонтанной поляризации направлен вдоль оси
. При температурах выше
ячейка переходит в кубическую и домены разрушаются; при температурах ниже
ячейка превращается в ромбическую; при температурах
– в моноклинную или триклинную, но домены сохраняются.
|
| Рис. 5.9. Элементарная ячейка титаната бария |
Характерной чертой сегнетоэлектриков является большая величина диэлектрической проницаемости (порядка нескольких тысяч) в слабых полях.
Наиболее широко сегнетоэлектрики применяются в малогабаритных конденсаторах большой емкости, причем в виде керамики использует твердые растворы, компоненты которых выбирают так, чтобы уменьшить температурную зависимость. Например, керамику типа
с
состава
, типа
с
состава
, типа
с
состава
и др.
Сегнетоэлектрики применяются как нелинейные элементы: вариконды для управляемых фильтров, модуляторов, генераторов, умножителей и т.п. Используют сегнетоэлектрики и в качестве пьезоэлектриков.
Пьезоэлектрики. Кристаллические вещества, у которых при сжатии и растяжении в определенных направлениях возникает электрическая поляризация даже в отсутствии электрического поля (прямой пьезоэффект). Следствием прямого пьезоэффекта является обратный пьезоэффект – появление механической деформации под действием электрического поля. Связь между механическими и электрическими параметрами (деформацией и электрическим полем) носит в обоих случаях линейный характер. Обратный эффект необходимо отличать от электрострикции, при которой изменение размеров образца пропорционально квадрату электрического поля.
Пьезоэлектрический эффект наблюдается в кристаллах, которые не обладают центром симметрии (более 1500 веществ). Наиболее ярко пьезоэлектрические свойства проявляют кристаллы с низкой симметрией.
Механизм пьезоэффекта можно объяснить на примере кварца. Монокристалл
имеет характерное шестигранное сечение (рис.5.10, а), в нем выделяются три оси: электрическая
, перпендикулярно которой расположена плоскость, на которой выделяется максимальный заряд при прямом пьезоэффекте; механическая
, вдоль которой происходит наибольшая деформация при обратном пьезоэффекте; оптическая
, при распространении света вдоль которой вращается плоскость поляризации. Элементарная ячейка
, которая содержит три молекулы, схематически изображена на рис.5.10, б.
| |
| а б в г | |
Рис. 5.10. Схема структуры кварца: проекции ионов и на плоскость, перпендикулярную оси третьего порядка. Заштрихованные кружки отвечают ионам , светлые – паре ионов ; а – ячейка; б – недеформированное состояние; в – сжатие вдоль оси ; г – растяжение вдоль оси |
При сжатии вдоль оси
положительный ион
и отрицательный ион
перемещаются вглубь ячейки, в результате чего на плоскостях А и В появляются заряды. При растяжении на плоскостях А и В возникают заряды противоположного знака.
Из кварца вырезают пластины, перпендикулярные осям
,
или под углами к ним. Соответственно получают
–срезы,
–срезы и т.д. Широкое применение кварца обусловлено рядом его ценных свойств: твердостью (7 по Моосу), стойкостью к кислотам, высокой температурой плавления (
), малым тепловым расширением (
,
).
Стабильность характеристик кварца способствует его широкому применению в радиоэлектронике: стабилизаторы колебаний, высокоизбирательные фильтры, преобразователи для возбуждения и приема механических колебаний.
Пьезокварцевые резонаторы отличаются высокой добротностью порядка
, что обеспечивает уход частоты от номинального значения
%. Диапазон частот кварцевых генераторов от кГц до сотен МГц.
; стрелки указывают
на плоскость, перпендикулярную оси третьего порядка. Заштрихованные кружки отвечают ионам 





