В успешно функционирующих организациях маркетинговая информация собирается, анализируется и распределяется в рамках маркетинговой информационной системы (МИС), являющейся частью информационной системы управления организацией.
Концепция МИС возникла в США, где и началась ее практическая реализация в начале 70-х годов, спустя несколько лет после разработки концепции автоматизированной системы управления (АСУ) применительно к отдельным организациям.
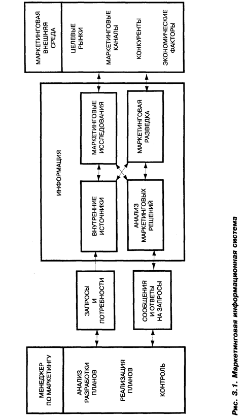
МИС – это совокупность (единый комплекс) персонала, оборудования, процедур и методов, предназначенная для сбора, обработки, анализа и распределения в установленное время достоверной информации, необходимой для подготовки и принятия маркетинговых решений (рис. 3.1). Иногда говорят, что МИС – это способ продумывания решений по поиску необходимой менеджерам маркетинговой информации. Общепризнанно, что руководители и специалисты по маркетингу испытывают потребность в специфической информации и методах ее получения. Таким образом, МИС – это концептуальная система, помогающая решать как задачи маркетинга, так и задачи стратегического планирования.

МИС трансформирует данные, полученные из внутренних и внешних источников, в информацию, необходимую для руководителей и специалистов маркетинговых служб. МИС распределяет информацию среди руководителей и специалистов маркетинговых служб, принимающих соответствующие решения. Кроме того, МИС, взаимодействуя с другими автоматизированными системами предприятия, поставляет нужную информацию руководителям других служб предприятия (производственных, НИОКР и др.). Внутренняя информация содержит данные о заказах на продукцию, объемах продаж, отгрузке продукции, уровне запасов, об оплате отгруженной продукции и др. Данные из внешних источников получаются на основе проведения маркетинговой разведки (из подсистемы текущей внешней информации) и маркетинговых исследований.
Маркетинговая разведка – постоянная деятельность по сбору текущей информации об изменении внешней среды маркетинга, необходимой как для разработки, так и корректировки маркетинговых планов. В то время как внутренняя информация фокусируется на полученных результатах, маркетинговая разведка исследует то, что может произойти во внешней среде.
Источники получения текущей внешней информации могут быть самого различного характера, для ее сбора используются формальные и неформальные процедуры. Подобная информация получается путем изучения книг, газет, публикаций торговли, отчетов фирм-конкурентов; в результате бесед с потребителями, поставщиками, дистрибьюторами и другими внешними по отношению к организации лицами, которых следует эффективно мотивировать на сбор и предоставление нужной информации; на основе бесед с другими менеджерами и сотрудниками, например, сотрудниками сбытовых служб данной организации; путем проведения промышленного и коммерческого шпионажа (хотя в зарубежных книгах много пишут об этических проблемах маркетинговых исследований).
Маркетинговые исследования в отличие от маркетинговой разведки предполагают сбор и анализ данных по конкретным маркетинговым ситуациям, с которыми предприятие столкнулось на рынке. Подобная информация не собирается в двух ранее рассмотренных системах. Такая деятельность осуществляется периодически, а не непрерывно, по мере появления определенных проблем, на основе использования специальных методов сбора и обработки собранных данных.
В МИС также входит подсистема анализа маркетинговых решений, в которой с помощью определенных методов (например, моделей корреляционного анализа, расчета точки безубыточности) на основе созданной базы маркетинговых данных осуществляется доступ к информации, необходимой руководителям для принятия решений, и осуществляется ее анализ в заданном направлении.
Лекция 3. Сегментация рынка






