Тепловым пунктом называется сооружение, которое служит для присоединения местных систем теплопотребления к тепловым сетям. Тепловые пункты подразделяются на центральные (ЦТП) и индивидуальные (ИТП). ЦТП служат для теплоснабжения двух и более зданий, ИТП – для теплоснабжения одного здания. При наличии ЦТП в каждом отдельном здании обязательно устройство ИТП, который выполняет только те функции, которые не предусмотрены в ЦТП и необходимы для системы теплопотребления данного здания. При наличии собственного источника теплоты (котельной) тепловой пункт, как правило, располагается в помещении котельной.
В тепловых пунктах размещается оборудование, трубопроводы, арматура, приборы контроля, управления и автоматизации, посредством которых осуществляются:
- преобразование параметров теплоносителя, например, для снижения температуры сетевой воды в расчетном режиме со 150 до 95 0С;
- контроль параметров теплоносителя (температуры и давления);
- регулирование расхода теплоносителя и распределение его по системам потребления теплоты;
- отключение систем потребления теплоты;
- защита местных систем от аварийного повышения параметров теплоносителя (давления и температуры);
- заполнение и подпитка систем потребления теплоты;
- учет тепловых потоков и расходов теплоносителя и др.
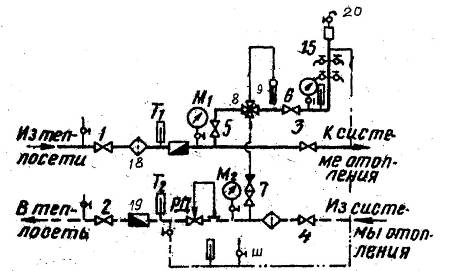
На рис. 8 приведена одна из возможных принципиальных схем индивидуального теплового пункта с элеватором для отопления здания. Через элеватор система отопления присоединяется в том случае, если надо снижать температуру воды для системы отопления, например, со 150 до 95 0С (в расчетном режиме). При этом располагаемый напор перед элеватором, достаточный для его работы, должен быть не менее 12-20 м вод. ст., а потеря напора не превышает 1,5 м вод. ст. Как правило, к одному элеватору присоединяется одна система или несколько мелких систем с близкими гидравлическими характеристиками и с суммарной нагрузкой не более 0,3 Гкал/ч. При больших необходимых напорах и теплопотреблении применяются смесительные насосы, которые также используются и при автоматическом регулировании работы системы теплопотребления.
Подключение ИТП к тепловой сети производится задвижкой 1. Вода очищается от взвешенных частиц в грязевике 2 и поступает в элеватор. Из элеватора вода с расчетной температурой 95 0С направляется в систему отопления 5. Охлажденная в отопительных приборах вода возвращается в ИТП с расчетной температурой 70 0С. Часть обратной воды используется в элеваторе, а остальная вода очищается в грязевике 2 и поступает в обратный трубопровод теплосети.
Постоянный расход горячей сетевой воды обеспечивает автоматический регулятор расхода РР. Регулятор РР получает импульс на регулирование от датчиков давления, установленных на подающем и обратном трубопроводах ИТП, т.е. он реагирует на разность давлений (напор) воды в указанных трубопроводах. Напор воды может меняться по причине увеличения или уменьшения давления воды в теплосети, что обычно связано в открытых сетях с изменение расхода воды на нужды ГВС.
Например, если напор воды возрастает, то расход воды в системе увеличивается. Во избежание перегрева воздух в помещениях регулятор уменьшит свое проходное сечение, чем восстановит прежний расход воды.
Постоянство давления воды в обратном трубопроводе системы отопления автоматически обеспечивает регулятор давления РД. Падение давления может быть следствием утечек воды в системе. В этом случае регулятор уменьшит проходное сечение, расход воды снизится на величину утечки и давление восстановится.
Расход воды (теплоты) измеряется водомером (теплосчетчиком) 7. Давление и температура воды контролируются, соответственно, манометрами и термометрами. Задвижки 1, 4, 6 и 8 используются для включения или отключения теплового пункта и системы отопления.
В зависимости от гидравлических особенностей тепловой сети и местной системы отопления в тепловом пункте могут также устанавливаться:
- подкачивающий насос на обратном трубопроводе ИТП, если располагаемый напор в тепловой сети недостаточен для преодоления гидравлического сопротивления трубопроводов, оборудования ИТП и систем теплопотребления. Если при этом давление в обратном трубопроводе будет ниже статического давления в этих системах, то подкачивающий насос устанавливается на подающем трубопроводе ИТП;
- подкачивающий насос на подающем трубопроводе ИТП, если давление сетевой воды недостаточно для предотвращения вскипания воды в верхних точках систем потребления теплоты;
- отсекающий клапан на подающем трубопроводе на вводе и подкачивающий насос с предохранительным клапаном на обратном трубопроводе на выходе, если давление в обратном трубопроводе ИТП может превысить допускаемое давление для системы теплопотребления;
- отсекающий клапан на подающем трубопроводе на входе в ИТП, а также предохранительный и обратный клапаны на обратном трубопроводе на выходе из ИТП, если статическое давление в тепловой сети превышает допускаемое давление для системы теплопотребления и др.

Рис 8. Схема индивидуального теплового пункта с элеватором для отопления здания:
1, 4, 6, 8 - задвижки; Т – термометры; М - манометры; 2 – грязевик; 3 – элеватор; 5 –радиаторы системы отопления; 7 – водомер (теплосчетчик); РР - регулятор расхода; РД – регулятор давления
Как было показано на рис. 5 и 6, системы ГВС подсоединяются в ИТП к подающему и обратному трубопроводам через водоподогреватели или непосредственно, через регулятор температуры смешения типа ТРЖ.
При непосредственном водоразборе вода на ТРЖ подается из подающего или из обратного или из обоих трубопроводов вместе в зависимости от температуры обратной воды (рис.9). Например, летом, когда сетевая вода имеет 70 0С, а отопление отключено, в систему ГВС поступает только вода из подающего трубопровода. Обратный клапан служит для предотвращения перетекания воды из подающего трубопровода в обратный при отсутствии водоразбора.

Рис. 9. Схема узла присоединения системы ГВС при непосредственном водоразборе:
1, 2, 3, 4, 5, 6 - задвижки; 7 – обратный клапан; 8 – регулятор температуры смешения; 9 - датчик температуры смеси воды; 15 – водоразборные краны; 18 – грязевик; 19 – водомер; 20 – воздухоотводчик; Ш – штуцер; Т – термометр; РД – регулятор давления (напора)

Рис. 10. Двухступенчатая схема последовательного присоединения водоподогревателей ГВС:
1,2, 3, 5, 7, 9, 10, 11, 12, 13, 14 – задвижки; 8 – обратный клапан; 16 – циркуляционный насос; 17 – устройство для отбора импульса давления; 18 – грязевик; 19 – водомер; 20 – воздухоотводчик; Т – термометр; М - манометр; РТ – регулятор температуры с датчиком
Для жилых и общественных зданий также широко применяется схема двухступенчатого последовательного присоединения водоподогревателей ГВС (рис.10). В данной схеме водопроводная вода вначале подогревается в подогревателе I-ой ступени, а затем в подогревателе II-ой ступени. При этом водопроводная вода проходит через трубки подогревателей. В подогревателе I-ой ступени водопроводная вода греется обратной сетевой водой, которая после охлаждения идет в обратный трубопровод. В подогревателе II-ой ступени водопроводная вода греется горячей сетевой водой из подающего трубопровода. Охлажденная сетевая вода поступает в систему отопления. В летний период эта вода подается в обратный трубопровод по перемычке (в обвод системы отопления).
Расход горячей сетевой воды на подогреватель II-ой ступени регулирует регулятор температуры (клапан термореле) в зависимости от температуры воды за подогревателем II-ой ступени.






