Общая характеристика котельных. Котельной установкой называется установка, состоящая из одного или нескольких котлов и вспомогательного оборудования (систем). Основным оборудованием котельных являются паровые и водогрейные котлы. Для обеспечения нормальной работы котлов используется вспомогательное оборудование, которое по своему назначению объединяется в следующие системы:
- топливное хозяйство, служащее для приема, хранения и подачи топлива к котлам;
- тягодутьевая система, обеспечивающая подачу воздуха в котлы для сжигания топлива и удаление продуктов сгорания в атмосферу;
- система водоподготовки, осуществляющая очистку воды от механических примесей, солей - накипеобразователей и коррозионно-агрессивных газов;
- система автоматики безопасности и автоматического регулирования, контроля, сигнализации и управления технологическими процессами;
- система электроснабжения оборудования и освещения котельной и др.
В зависимости от характера тепловых нагрузок котельные подразделяются на:
- отопительные, вырабатывающие тепло для систем отопления, вентиляции и горячего водоснабжения зданий и сооружений;
- отопительно-производственные, вырабатывающие тепло для систем отопления, вентиляции, горячего водоснабжения и технологических целей;
- производственные, вырабатывающие тепло для технологических целей.
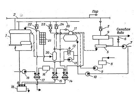
Тепловая схема котельной со стальными паровыми котлами. На рис. 25 дана тепловая схема отопительно-производственной котельной с паровыми котлами, поскольку для технологических целей требуется влажный насыщенный пар давлением 0,9 МПа. С целью упрощения на схеме показан один котел.
Пар с котла 1 поступает в сборный паропровод. Часть пара используется на производстве (стрелка со словом «пар»). Другая часть пара потребляется в котельной для нагревания сетевой воды в водоподогревателях 5 и 6. Сетевая вода подается в водоподогреватели сетевым насосом 7. Перед пароводяным водоподогревателем 4 давление пара снижается до 0,6 – 0,7 МПа в редукционной установке 3. Пар в водоподогревателе 4 отдает свою теплоту сетевой воде и превращается в конденсат. Охлаждение конденсата до 80 – 85 0С производится в охладителе конденсата 5. Из него конденсат самотеком поступает а деаэратор 11. Конденсат с производства собирается в конденсатном баке 8 и перекачивается насосом 9 в деаэратор.
Потери воды, пара и конденсата восполняются подачей сырой водой из водопровода насосом 19. Насос прокачивает воду через пароводяной подогреватель 17, где ее температура увеличивается с 5 – 10 до 20 - 30 0С. Подогрев воды предотвращает образование конденсата на трубопроводах и на оборудовании химводоочистки 16.
Химводоочистка предназначена для снижения жесткости воды до нормируемых значений. Далее умягченная вода поступает в деаэратор 11 для удаления из нее кислорода и углекислого газа. Дегазация воды и конденсата происходит в процессе кипения при давлении 0,12 МПа и температуре кипения 104 0С.
Окончательно обработанная вода из деаэратора подводится к питательным насосам 12 и 13 и подпиточному насосу 10. Питательный насос 13 является рабочим и имеет электрический привод. Насос 10 осуществляет подпитку тепловой сети водой для поддержания в сети заданного статического давления.
При отсутствии электроэнергии котельная бездействует, однако котлы продолжают вырабатывать пар за счет аккумулированной теплоты. Поэтому в котлах необходимо поддерживать требуемый уровень воды, чтобы предотвратить перегрев поверхностей нагрева. С этой целью используется насос 12 с паровым приводом (паровой насос).
Для предотвращения образования накипи растворенные в котловой воде соли непрерывно выводятся из котла с водой, которая называется продувочной. Для утилизации теплоты и массы продувочной воды используется сепаратор непрерывной продувки 20 и охладитель продувочной воды (теплообменник) 15.
Давление в сепараторе находится на уровне 0,2 МПа, а в котле 0,8 – 1,4 МПа. Вследствие резкого понижения давления воды в сепараторе вода мгновенно вскипает и частично (до 10 %) превращается в пар. На образование пара используется часть теплоты воды, а потому температура продувочной воды снижается на 50 – 70 0С и на выходе из сепаратора имеет температуру порядка 120 0С.
Далее эта вода охлаждается в теплообменнике 15 до 60– 40 0С, подогревая в нем сырую воду. После теплообменника продувочная вода не используется в котельной и сливается в продувочный колодец 18. Вода периодической продувки котлов, выводящая из них шлам, напрямую поступает в продувочный колодец. Сюда также могут поступать и другие отработанные потоки воды и конденсата.
Если температура смеси воды в колодце превышает 60 0С, то она разбавляется холодной водопроводной водой и сбрасываются в систему канализации.

Рис. 25. Принципиальная тепловая схема котельной со стальными паровыми котлами:
1 – котел; 2 – главный паропровод; 3 – редукционная установка; 4 – пароводяной подогреватель; 5 – охладитель конденсата; 6 – перемычка; 7 – сетевой насос; 8 - конденсатный бак; 9 – конденсатный насос; 10 – подпиточный насос; 11 – деаэратор; 12 – паровой питательный насос; 13 – питательный насос с электроприводом; 14 – охладитель выпара; 15 – охладитель продувочной воды; 16 – ХВО; 17 – подогреватель сырой воды; 18 – продувочный колодец; 19 – насос сырой воды; 20 – сепаратор непрерывной продувки; 21 – экономайзер; 22, 23, 24 - редукционный клапан; 25 – паропровод собственных нужд.
Для подогрева воды перед ХВО, для работы деаэратора и парового насоса используется паропровод собственных нужд 25. Давление пара в нем такое же, как и в котлах, а потому для снижения давления пара на собственные нужды используются редукционные клапаны 22 – 24. Например, в деаэратор должен подаваться пар давлением порядка 0,15 МПа, так как рабочее давление в деаэраторе 0,12 МПа.
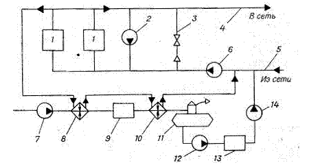
Тепловая схема котельной со стальными водогрейными котлами. На рис. 26 приведена тепловая схема котельной с двумя стальными водогрейными котлами, обеспечивающая теплотой открытую систему теплоснабжения.
Обратная сетевая вода сетевым насосом 6 прокачивается через водогрейные котлы, нагревается в них до требуемой температуры и поступает в подающий трубопровод теплосети. Температура сетевой воды может регулироваться подмесом обратной воды в подающий трубопровод по перемычке 3.
Чтобы снизить коррозию поверхностей нагрева котлов конденсатом паров серной кислоты, содержащейся в продуктах сгорания, вода на входе в котлы должна иметь температуру не ниже 70 0С. Подогрев воды производится горячей водой, подаваемой рециркуляционным насосом 2 на вход котлов.
Сырая вода умягчается в установке ХВО 9 и дегазируется в деаэраторе 11. Из-за отсутствия пара применяется вакуумный деаэратор, в котором кипящая вода имеет температуру 70 – 80 0С при давлении 0,03 – 0,04 МПа.
Умягченная и деаэрированная вода насосом 12 перекачивается в бак-аккумулятор 13, из которого производится подпитка тепловой сети.

Рис. 26. Тепловая схема котельной со стальными водогрейными котлами:
1 – котел; 2 – рециркуляционный насос; 3 – перемычка; 4 – подающий трубопровод; 5 – обратный трубопровод; 7 – насос сырой воды; 8 – подогреватель; 9 – ХВО; 10 – подогреватель; 11 – деаэратор; 12 – перекачивающий насос; 13 – бак-аккумулятор; 14 – подпиточный насос.