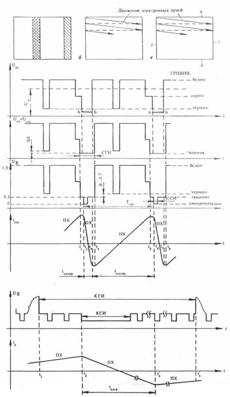
Рассмотрим осциллограммы сигналов на выходах отдельных блоков телецентра (рис. 3.13, а) при передаче изображения в виде тонких черной и серой вертикальных полос на белом фоне (рис. 3.14, а). Отклонение электронного луча по фотокатоду в передающей трубке (рис. 3.14, б) и по экрану кинескопа в телевизоре (рис. 3.14, в) производится одновременно по 2 осям и обеспечивается пилообразными колебаниями строчной (рис. 3.14, ж) и кадровой (рис. 3.14, и) развёрток. Если при передаче белого (чёрного) изображения образуется максимальный (минимальный) сигнал (рис. 3.14, г), его полярность считается положительной. Во время обратного хода электронного луча передающей трубки сигнал изображения не образуется, так как трубка закрыта гасящими импульсами (участки А — Б на рис. 3.13, г; незначительные изменения напряжения в это время обусловлены шумами трубки — флуктуациями темнового тока). Образующийся на выходе передающей трубки сигнал изображения с уровнем 10—20 мВ характеризуется тем, что он однополярен, то есть содержит постоянную
или среднюю составляющую, а информация об изменении яркости объекта содержится в форме сигнала. Для неискажённой передачи формы сигнала нужно обеспечить не только равномерную амплитудно-частотную характеристику, как при передаче звуковых сигналов, но и линейность фазо-частотной характеристики. Для передачи информации об изменении средней яркости изображения, заключённой в
, нужно видеотракт аппаратно-студийного комплекса строить на усилителях постоянного тока, имеющих полосу частот от 0 до 6 МГц. Чтобы избавиться от свойственного усилителю постоянного тока дрейфа нуля, видеотракт строят на усилителях переменного тока, а информацию об
передают косвенным образом в размахе гасящих импульсов. Однако для упрощения все осциллограммы на рис. 3.14 приведены с постоянной составляющей и в предположении, что диаметр луча (апертура) передающей трубки бесконечно мал.
|
|
|
В промежуточном усилителе в сигнале изображения ограничивается шумовая дорожка, к нему добавляются гасящие импульсы для кинескопов (СГИ и КГИ на рис. 3.14, д, з) и сигнал усиливается примерно до 1 В. На рис. 3.14, з приведена упрощённая форма кадровых гасящих импульсов и кадровых синхроимпульсов. Гасящие импульсы приёмных трубок превышают по длительности гасящие импульсы передающих трубок, что позволяет перекрыть возможные сдвиги сигналов во времени, например при переключении камер, имеющих кабели разной длины. Разность между уровнями гашения и чёрного, называемая защитным интервалом, предохраняет канал синхронизации телевизора от прохождения отдельных импульсов ТВ-сигнала. В интервалы строчных и кадровых гасящих импульсов вводятся (в линейном усилителе) строчные (рис. 3.14, е) и кадровые (рис. 3.14, з) синхроимпульсы для синхронизации блока развёртки в телевизорах. На этом заканчивается формирование полного ТВ-сигнала
, в котором различают активные и пассивные временные интервалы. В течение активных интервалов передаётся сигнал изображения, а в течение пассивных — гасящие и синхронизирующие импульсы. При формировании полного ТВ-сигнала исходят из условия максимального упрощения телевизора при одновременном обеспечении устойчивой синхронизации и высокой помехоустойчивости ТВ-приёма. Для удовлетворения этого условия во всех системах вещательного телевидения сигналы синхронизации передаются во время обратного хода строчной и кадровой развёрток, причём так, что сигнал изображения передаётся выше уровня гашения, а синхронизации — ниже при положительной полярности
. Это позволяет легко выделить строчный и кадровый синхроимпульсы из сигнала
в амплитудном селекторе (ограничителе) телевизора, а также подавать полный ТВ-сигнал непосредственно на катод кинескопа без вычёркивания обоих синхроимпульсов. Действительно, при подаче сигнала на катод (рис. 3.13, в) рабочая точка на анодно-катодной характеристике (зависимость тока луча от напряжения между катодом и модулятором) кинескопа и размах сигнала выбираются так, чтобы уровень гашения в сигнале соответствовал напряжению запирания кинескопа (
), при этом синхроимпульсы ещё больше закроют его. Поэтому говорят, что синхроимпульсы в полном ТВ-сигнале передаются на уровне «чернее чёрного». К тому же они формируются и разными по длительности, чтобы в телевизоре легко было отделить их друг от друга в разделителе синхроимпульсов, например, при помощи дифференцирующей и интегрирующей цепочек.
|
|
|
![]() |
Рис. 3.14. Осциллограммы, поясняющие формирование ТВ-сигнала
Видимые размеры растра на экране кинескопа (рис. 3.14, в) ограничиваются передними и задними участками гасящих импульсов (при уменьшении размеров и яркости в телевизоре легко заметить, что изображение окаймлено тёмной рамкой). Правая чёрная вертикальная полоса 1 соответствует переднему участку строчного гасящего импульса (t1-t2 на рис. 3.14, ж), левая 2 — заднему (t3-t4), нижняя чёрная полоса 3 — переднему участку кадрового гасящего импульса (t’1-t’2 на рис. 3.14, и), верхняя 4 — заднему (t’3-t’4). В течение этих промежутков времени кинескоп закрывается под действием гасящих импульсов для того, чтобы на экране не видны были искажения, обусловленные тем, что при переходе от прямого хода к обратному и наоборот скорость луча уменьшается и в блоке развёртки возникают нестационарные переходные процессы.







