Применяются следующие тесты:
· определение длительности кровотечения по Дьюке;
· количества тромбоцитов в крови;
· агрегационной функции тромбоцитов.
1. Время кровотечения по Дьюке – определение длительности кровотечения из поверхностных микрососудов мочки уха после нарушения их целостности с помощью скарификатора. Каждые 30 сек. промокают каплю крови бумагой, до тех пор, пока кровь уже не появляется (N – 2-5 мин.) Увеличение времени свидетельствует о наличии тромбоцитопении, тромбоцитопатии, болезни Виллебранда.
2. Определение количества тромбоцитов – N (150 – 400) × 109/л. В мазках крови подсчитываем количество тромбоцитов по отношению к 1000 эритроцитов. Подсчет производим под иммерсионным объективом с использованием окуляра с вкладным окошком. Зная количество эритроцитов в 1 л крови, рассчитываем содержание тромбоцитов в абсолютных цифрах. Увеличение тромбоцитов свыше 400×109/л свидетельствует о тромбоцитозе, снижение же их количества ниже 150×109/л - тромбоцитопении.
|
|
|
3. Оценка адгезивности (ретенции) тромбоцитов - N – 20 - 55%.
Непрямой метод основан на установлении разницы между количествами тромбоцитов в венозной крови до и после ее контакта с какой-либо поверхностью (колонки со стеклянными шариками).
Индекс адгезивности = А – В × 100%,
А
где А – количество тромбоцитов в крови до пропускания,
В – после пропускания через колонку.
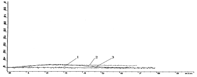
4. Определение степени агрегации тромбоцитов изучают с помощью анализатора агрегации тромбоцитов. Проба служит для оценки сосудисто-тромбоцитарного гемостаза.
Принцип метода заключается в регистрации агрегации тромбоцитов в результате активации данного процесса добавлением индуктора агрегации (АДФ, коллаген, адреналин и др.) к плазме, обогащенной тромбоцитами. Мерой определения процесса является графически регистрируемое падение оптической плотности плазмы крови в результате потребления тромбоцитов в агрегатах, образующихся под воздействием индукторов агрегации. С помощью этого метода возможно оценивать как повышенную, так и сниженную агрегационную активность тромбоцитов.

Рис. 4. АДФ-агрегация (0,5 × 10-6 М)
Нормальная кривая. Первичная агрегация с дезагрегацией.

Рис. 5. АДФ-агрегация (1,5 × 10-6 М)
Нормальная кривая. Двухфазная агрегация.

Рис. 6. Патологические кривые агрегации тромбоцитов.






