Под вентиляцией понимают систему мероприятий и устройств, предназначенных для обеспечения рабочих и обслуживаемых зон помещений, создания метеорологических условий и чистоты воздушной среды, соответствующим гигиеническим и техническим требованиям. Вентиляция, уменьшающая содержание в производственных помещениях различных вредных выделений, способствует не только обеспечению безопасных (в первую очередь, с точки зрения взрывоопасности) и здоровых условий труда, но и во многих случаях увеличению долговечности строительных конструкций, сохранению внутренней отделки помещений, а также созданию условий для оптимального ведения технологических процессов.
Системы вентиляции классифицируют по способу перемещения воздуха, направлению потока воздуха, зоне действия и времени работы. По способу перемещения воздуха вентиляция бывает двух видов: естественная и механическая. Различие заключается в способе осуществления воздухообмена помещений.
Естественная вентиляция осуществляется за счет разности температур воздуха в помещении и вне его (тепловой напор) или воздействия ветра (ветровой напор).
При механической вентиляции перемещение воздуха осуществляется с помощью вентиляторов. Она может быть приточной и вытяжной, и та и другая – общеобменной местной или комбинированной. Действующая в помещении одновременно естественная и механическая вентиляция называется совмещенной.
Естественная вентиляция может быть организованная и неорганизованная. Неорганизованный и неуправляемый приток воздуха, происходящий через неплотности и щели строительных конструкций, называется инфильтрацией, а внутреннего воздуха наружу – эксфильтрацией. Организованная и управляемая естественная вентиляция называется аэрацией. На пищевых предприятиях она применяется в помещениях, имеющих значительные выделения теплоты, и осуществляется с помощью аэрационных фонарей, специальных вентиляционных каналов, фрамуг и окон.
Для использования ветрового напора, а также удаления небольших объемов воздуха используют дефлекторы (дефлекторная вентиляция), специальные насадки, устанавливаемые в верхней части вентиляционных каналов. С их помощью усиливают тягу. Подачу приточного воздуха при естественной вентиляции (СП 2.2.1.1312-03) необходимо предусматривать в теплый период года на уровне не более 1,8 м и в холодный период года – не ниже 4 м от пола до низа вентиляционных проемов. При подаче неподогретого воздуха в холодный период года на более низких отметках необходимо предусматривать мероприятия, предотвращающие непосредственное воздействие холодного воздуха на работающих. Открывающиеся устройства в зданиях с системами аэрации должны обеспечивать возможность направления поступающего воздуха вверх в холодный период года и вниз – в теплый период года.
Преимуществом аэрации является то, что большие объемы воздуха перемещаются в производственном помещении без использования механических средств, что делает ее значительно дешевле механических систем вентиляции. Недостатки аэрации – изменение воздухообмена в зависимости от температуры воздуха в промышленных зданиях и метеорологических параметров наружного воздуха, невозможности очистки наружного воздуха, сложность регулирования параметров воздуха в помещении, в частности относительной влажности, которая должна поддерживаться на определенном уровне. Для компенсации отдельных недостатков используют сочетание естественной и механической вентиляции (совмещенная вентиляция) в различных вариантах.
В зависимости от того, для чего предназначена механическая система вентиляции, она подразделяется на приточную (для подачи воздуха в рабочую зону), вытяжную (для удаления загрязненного воздуха) и приточно-вытяжную с рециркуляцией или без рециркуляции воздуха. Преимущество механической вентиляции состоит в том, что перемещаемый вентилятором воздух можно нагревать, охлаждать, увлажнять и очищать от вредных газов и пыли.
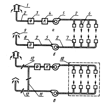
Установки механической приточной вентиляции (рисунок 7 а) обычно состоят из воздухозаборного устройства (воздухоприемника) 1, устанавливаемого снаружи здания в местах наименьшей загрязненности; воздуховодов 2, по которым воздух подается в помещение; фильтров 3, служащих для очистки воздуха от пыли; калориферов 4, в которых воздух подогревается до необходимой температуры; вентилятора 5; приточных отверстий или насадок 6, через которые воздух подается в помещение, и регулирующих устройств, которые устанавливаются в воздухоприемном устройстве и на ответвлениях воздуховодов.

Рисунок 7 Механическая вентиляция:
а — приточная; б — вытяжная; в — приточно-вытяжная
с рециркуляцией
Установки механической вытяжной вентиляции (рисунок 7 б) обычно состоят из вытяжных отверстий 7 или насадок вентилятора 5; воздуховодов 2; устройства для очистки воздуха от пыли, газов 8 и устройства для выброса воздуха (вытяжной шахты) 9, которое должно быть расположено на 1-1,5 м выше конька крыши. В системе механической приточно-вытяжной (рисунок 7 в) вентиляции обе установки работают одновременно.
По месту действия вентиляция бывает общеобменная, когда смена воздуха происходит во всем объеме помещения, и местная, благодаря которой состояние воздушной среды нормализуется только в местах нахождения людей.
Общеобменная вентиляция наиболее часто применяется в тех случаях, когда вредные вещества, теплота, влага выделяются равномерно по всему помещению. Количество воздуха, необходимое для обеспечения нормативных параметров воздушной среды в рабочей зоне, необходимо определять расчетным путем, учитывая неравномерность распределения вредных веществ, тепла и влаги в объеме помещения. Воздухообмен, необходимый для удаления избыточного тепла (L, м3/ч) определяют по формуле
L = 3600 Qизб /С×r × (tуд – tпр), (38)
где Qизб – избыточное количество тепла, Дж/с; С – удельная теплоемкость воздуха, Дж/ (кг× К); r - плотность воздуха при 2930К, кг/м3; tуд – температура удаляемого воздуха, К; tпр – температура приточного воздуха, К.
Необходимый воздухообмен, исходя из содержания в воздухе водяных паров (LП, м3/ч), определяют по выражению
LП = GП / (dуд - dпр) ×r, (39)
где GП – масса водяного пара, выделяющегося в помещении, г/ч; dуд – влагосодержание удаляемого воздуха, г/кг, сухого воздуха; dпр – влагосодержание приточного воздуха, г/кг; r - плотность приточного воздуха, кг/м3.
Воздухообмен по количеству выделяющихся вредных веществ определяют по выражению
L = G / (CПДК – С0), (40)
где G – интенсивность образования вредных веществ, мг/ч; СПДК и С0 – соответственно предельно допустимые концентрации вредного вещества в воздухе и содержание его в приточном воздухе, мг/м3.
При выделении в помещении нескольких видов вредностей определяется требуемый воздухообмен по каждому из них, полученная наибольшая величина принимается за расчетную.
Характеристикой общеобменной вентиляции служит кратность воздухообмена (n), определяемая как отношение объема воздуха, подаваемого для вентиляции помещения за один час (Vв) к объему вентилируемого помещения (Vп).
N = Vв/ Vп (41)
Кратность воздухообмена показывает, сколько раз в час обменивается воздух в помещении.
При проектировании вентиляции следует предусматривать удаление загрязнённого воздуха непосредственно от места выделения вредностей (местная вентиляция) или из тех зон помещения, в которых наблюдаются максимальная концентрация вредных веществ или значительные тепловыделения. Устройство местной вентиляции сводится к созданию различного типа укрытий для источников выделения вредностей или созданию местных отсосов, встроенных в технологическое оборудование.
Местная вентиляции бывает вытяжная и приточная. Местную вытяжную систему вентиляции устраивают, когда загрязнения можно улавливать непосредственно у мест их возникновения. Она состоит из устройств, конструктивное оформление которых в зависимости от вида вредности различно. Это могут быть кожухи, полностью или частично закрывающие источник вредных выделений, вытяжные шкафы с рабочими окнами для обслуживания, вытяжные зонты и бортовые отсосы (устройства, всасывающие отверстия которых приближены к источнику выделения). Отсасывание воздуха непосредственно из оборудования или из-под кожуха, которым оно укрыто, называется аспирацией. Степень создаваемого в системах аспирации разряжения должна быть тем больше, чем выше токсичность удаляемой вредности.
Объемный расход воздуха, удаляемого из вытяжного шкафа при естественной вытяжке (L, м3/ч) определяют по выражению
(42)
где h – высота открытого проема шкафа, м; Q – количество тепла, выделяемого в шкафу, ккал/ч; F – площадь открытого (рабочего) проема шкафа, м2.
При механической вытяжке
L = 3600 × F × V, (43)
где V – средняя скорость всасывания в сечениях открытого проема, м/с.
Местную приточную вентиляцию в виде воздушных душей устраивают в горячих цехах для защиты работающих от перегревания, а в виде воздушно-тепловых завес – для предотвращения проникновения наружного воздуха в помещения в холодный период года через открывающиеся ворота или двери. Воздушные и воздушно-тепловые завесы рассчитываются с учетом того, чтобы на время открывания ворот, дверей и технологических проемов температура смеси воздуха, поступающего в помещение, была не ниже:
· + 140С для производственных помещений при легкой физической работе (работа категории Iа и Iб с общими энерготратами 68 и 88 Вт/м2 соответственно);
· + 120С для производственных помещений при работе средней тяжести (работа категории IIа и IIб с общими энерготратами 113 и 145 Вт/м2 соответственно);
· + 80С для производственных помещений при тяжелой работе (работа категории III с общими энерготратами 177 Вт/м2);
· + 50С для производственных помещений при тяжелой работе (работа категории III) и отсутствии постоянных рабочих мест на расстоянии 3 м и менее от наружных стен и 6 м и менее – от дверей, ворот и проемов.
Большое значение для обеспечения безопасности эксплуатации взрывопожароопасных производств и производств, связанных с использованием токсичных веществ, имеет аварийная вентиляция, представляющая собой самостоятельную вентиляционную установку.
Для автоматического включения аварийной вентиляции её блокируют с автоматическими газоанализаторами, установленными или на величину ПДК (токсичные вещества), или на величину НКПВ (взрывоопасные вещества). Кроме автоматического, предусматривают и ручное включение, при этом пусковые устройства выносят за пределы помещения.
Кондиционирование. При кондиционировании воздуха обеспечивается поддержание в рабочих помещениях оптимальных, допустимых параметров микроклимата на рабочих местах и необходимых микроклиматических условий по технологическому регламенту. Режим работы систем кондиционирования воздуха обычно поддерживается автоматически с помощью специальной системы автоматического регулирования. В некоторых случаях при кондиционировании воздуха требуется обеспечить высокую чистоту его притока. Для этого в кондиционере предусмотрены очистка воздуха от пыли, нагрев его (первичный), обработка в оросительной камере, вторичный подогрев и, если потребуется, смешение свежего наружного воздуха с некоторым объемом воздуха, возвращаемого в кондиционер непосредственно из помещения.
Несмотря на некоторую сложность, а также дороговизну устройства и эксплуатации, системы кондиционирования позволяют поддерживать в производственных помещениях такие условия, при которых можно достичь высокой производительности труда, а также создать условия для оптимального ведения технологических процессов.
Отопление. В производственных зданиях, сооружениях и помещениях любого назначения с постоянным или длительным (более 2 ч) пребыванием людей, в помещениях во время проведения основных и ремонтно-вспомогательных работ, а также в помещениях, в которых поддержание температуры необходимо по технологическим условиям следует предусматривать соответствующую систему отопления для поддержания требуемых температур внутреннего воздуха в холодный период года.
Система отопления должна компенсировать потери тепла через ограждающие конструкции зданий и сооружений, за счет снижения температуры воздуха в помещениях в результате естественного испарения влаги с открытых водных поверхностей, а также идущие на нагревание поступающего снаружи воздуха. Расчет системы отопления проводится с учетом поступлений тепла от технологического оборудования, коммуникаций, нагретых материалов и изделий, людей, искусственного освещения и других источников.
Систему отопления, вид и параметры теплоносителя, а также типы нагревательных приборов следует предусматривать с учетом тепловой инерции ограждающих конструкций и в соответствии с характером и назначением зданий и сооружений (СНиП 2.04.05-91* «Отопление, вентиляция и кондиционирование»).
В зависимости от используемого теплоносителя системы отопления бывают водяные, паровые, воздушные, газовые и электрические. Наиболее эффективны в санитарно-гигиеническом отношении системы водяного и парового отопления, где в качестве теплоносителя используются соответственно горячая вода и водяной пар с температурой не более 130° С. Однако и эти системы применяются с ограничениями. Их установка не допускается в помещениях, где хранятся или применяются карбид кальция, калий, натрий, литий и другие вещества, способные при взаимодействии с водой загораться, взрываться или разлагаться с выделением взрывоопасных концентраций, а также в помещениях, в которых возможно выделение в воздух или осаждение на поверхности строительных конструкций и оборудования веществ, способных к самовоспламенению при прикосновении с горячими поверхностями нагревательных приборов и трубопроводов.
Поверхности нагревательных приборов во всех случаях не должны иметь температуру выше 150° С. При наличии в помещениях невзрывоопасной, органической возгоняемой, неядовитой пыли эта температура не должна превышать 110°С. Нагревательные приборы должны иметь гладкую поверхность, удобную для систематической очистки.
Наиболее безопасным является воздушное отопление, при котором нагрев воздуха производится в калориферах. В таких системах в качестве теплоносителя обычно используется горячая вода или пар. Однако в отдельных случаях для подогрева воздуха допускается применение газа (в здания I и II степеней огнестойкости с производствами категорий Г и Д при условии удаления продуктов горения непосредственно наружу) и электрической энергии (электрокалориферы).
По способу подачи и распределения воздуха система воздушного отопления может быть центральной (как правило, совмещенной с приточной вентиляцией) и местной, при которой нагрев и подачу воздуха в определенное место помещения производят специальными отопительными агрегатами.