РД-58М [60] |
Однокамерный РД-58 (11Д58) разработан в 1964-68 гг для пятой ступени РН Н1, РН "Протон". Он использовался также в составе РН "Энергия". Компоненты топлива - жидкий кислород и керосин Рп = 8,5 тс (83,4 кН) 1п = 349 с t = 600 с
Геометрическая степень расширения
сопла 189
рк = 7,8 МПа
Мдв. = 300 с
Эдв. = 1200 мм
Первые испытания состоялись в 1967 г. До 1988 г. РД-58 выдержал около 50 запусков.
Модификация РД-58З (11Д58З) создана в 1981-90 гг для установки на РН "Зе- нит-3"
Компоненты топлива - жидкий кислород и керосин
Количество камер сгорания 1 Рп = 7,24 тс (71 кН) 1п = 361 с
Геометрическая степень расширения
сопла 189
рк = 7,8 МПа
t = 660 с
Мдв. = 300 кг
Эдв. = 2900 мм
|
|
РН "Энергия"[20] Старт РН "Zenit-3SL" комплекса Sea Launch ("Морской старт") [84] |
РД-58М (11Д58М) - маршевый ракетный двигатель многократного включения для разгонного ракетного блока с запуском в космических условиях для осуществления его выведения с опорной орбиты на геостационарную орбиту и к планетам солнечной системы. Одновременно является исполнительным органом системы управления полетом по каналам тангажа, рыскания и вращения
|
|
|
"РКК "ЭНЕРГИЯ
блока. Разработан в 1970-75 гг для РН "Протон". Первые испытания проведены в 1974 г К настоящему времени осуществлено 130 пусков в составе ракетных блоков в космических условиях. В комплект поставки входят: маршевый ЖРД, бустерный агрегат подачи окислителя, установленный на баке окислителя, бустерный агрегат подачи горючего,
установленный на баке горючего, блок многократного запуска, обеспечивающий химическое зажигание. Рп = 8,67 тс (85 кН)
РН "Протон" [95] |
Компоненты топлива- жидкий кислород и керосин (или синтетическое горючее синтин; модификация на синтине именуется РД-58С/11Д58С) 1п = 354 с (керосин), 361 с (синтин)
Количество включений 7 t = 680 c рк = 7,8 МПа
Геометрическая степень расширения
сопла 189
Km = 2,48
Мдв. = 310 кг
Эдв. = 1200 мм
Ьдв. = 2300 мм
Изготовитель - Воронежский механический завод (выпущено около 180 двигателей).
РД-58МФ (11Д58МФ) разработан для РН
"Энергия-М", "Ангара", блока ЭЫ-БЬРН
"Zenit-3SL" комплекса Sea Launch и др.
Компоненты топлива - жидкий кислород
и керосин
Рп = 8,5 тс (83,4 кН)
1п = 353 с
t = 660 c
Мдв. = 230 кг
рк = 7,75 МПа
Степень расширения сопла 189
Б97
ядерный ракетный двигатель
| Топливо - ксенон 1п = 3000 с 1з = 1 с t = 57600000 с |
Начиная с 1978 г. велись работы по созданию ядерных двигателей для использования на космических буксирах. В 1982 г. НПО "Энергия" разрабо- тального буксира для вывода на орбиту тяжелых спутников "Геркулес" массой до 100 т. Однокамерный ЖРД 11Б97 разработан для таких спутни-
|
|
|
тала для нужд МО проект межорби- ков в 1986 г.
1 7 Д11
основная силовая установка
Силовая установка 17Д11 разработа- Состоит из двух 17Д12, тридцати на в 1976-88 гг. для установки на ор- восьми 17Д15 и восьми РДМТ-200К. битальный корабль "Буран".
Д12
жидкостный ракетный двигатель
Однокамерный 17Д12 создан в 197688 гг. для применения в составе СУ 17Д11 орбитального корабля "Буран". Представляет собой модификацию ЖРД РД-58.
Компоненты топлива - жидкий кислород и керосин (синтин)
Рп = 8,800 тс (86,3 кН)
1п = 362 с
t = 680 с
рк = 7,94 МПа
Мдв. = 230 с
Эдв. = 1200 мм
Ьдв. = 2300 мм
Геометрическая степень расширения сопла 189
РКК "ЭНЕРГИЯ"
Д15
жидкостный ракетный двигатель
Однокамерный 17Д15 разработан в 1976-88 г. для системы управления орбитального корабля "Буран". Входит в состав силовой установки 17Д11. Компоненты топлива - газообразный кислород и синтин Рп = 0,408 тс (4 кН) 1п = 295 с t = 10800 c
МКТС "Буран"[60] |
Геометрическая степень расширения сопла 50
|
ОАО „НПО Энергомаш имени академика В.П.Глушко"
ЕРГОМАШ"
141400 Россия, г. Химки-1 Московской обл. Факс (095) 251-7504 Телекс: 911649 ALMAZ SU E-mail: energomash@glasnet.ru
Генеральный директор и генеральный конструктор - Каторгин Борис Иванович
Первый заместитель генерального директора и генерального конструктора / Директор КБ - Чванов Владимир Константинович
Заместитель генерального директора / Исполнительный директор - Лизгунов Сергей Анатольевич Заместитель генерального директора / Директор завода - Головченко Сергей Сергеевич
Заместитель генерального директора / Директор по стратегическому развитию - Пирогов Николай Анатольевич Заместитель генерального директора / Руководитель администрации - Пахомов Дмитрий Вячеславович Начальник отдела научно-технической информации - Судаков Владимир Сергеевич, тел. (095) 572-7649 Пресс-секретарь - Коротков Юрий Георгиевич, тел. (095) 573-0201
Предприятие ведет свою историю с 15 мая 1929 г., когда в Газодинамической лаборатории в Ленинграде была организована группа по разработке ракетных двигателей под руководством Валентина Петровича Глушко. Вошедшая в 1934 г. в состав Реактивного научно-исследовательского института группа продолжила работу в Москве, а в годы Великой Отечественной войны она была реорганизована в опытно-конструкторское бюро. Основателем и бессменным руководителем предприятия до 1974 г. являлся академик В.П.Глушко, под руководством которого разработаны мощные ЖРД на низко- и высококипящих компонентах топлива. В 1974-91гг. предприятие возглавлял член-корреспондент АН России В.П.Радовский, а с 1991 г. генеральным директором и генеральным конструктором предприятия является член-корреспондент АН России Б.И.Каторгин. Предприятие создало более 70 ЖРД с индексами ОРМ (ОРМ-1...-70, -101, -102) в период 1930-38 гг. Первым отечественным ЖРД, пригодным для пилотируемого полета, был ОРМ-65 (1936 г.) для ракетопланера РП-318 и крылатой ракеты "212". После 1946 г. было разработано более 50 мощных ЖРД для баллистических и космических ракет. ЖРД разработки "НПО Энергомаш" установлены практически на всех первых ступенях и на большинстве вторых ступеней отечественных космических РН.
Направления работ в настоящее время:
• Теоретические исследования в области жидкостных ракетных двигателей;
• Разработка и серийное производство мощных ЖРД для первых и вторых ступеней ракет-носителей, использующих различные компоненты топлива;
• Разработка трехкомпонентных ЖРД;
• Экспериментальная отработка конструкций ЖРД и экспертиза результатов испытаний ЖРД, их узлов и агрегатов;
• Сопровождение летных испытаний ЖРД и эксплуатации в составе РН;
• Разработка новых технологий производства ЖРД;
• Разработка непрерывных химических лазеров различной мощности.
В состав НПО входят: КБ, Опытный завод (производственная площадь 205 тыс.м2, парк оборудования и станков - 4400 ед.) и экспериментальная база (83 испытательных стенда, из них четыре стенда для огневых испытаний двигателей). Площадь территории - 136 га. Производственная мощность - до 20 двигателей типа РД-170 в год.
|
|
|
| II |
Филиалы: Приволжский в Самаре (авторское сопровождение производства двигателей в ОАО "Моторостроитель"), Камский в Перми (авторское сопровождение производства двигателей в ОАО "Пермские моторы"), Омский (испытательная база) и испытательный отдел в Санкт-Петербурге.
Заказчики: РКК "Энергия", ГКНПЦ им. М.В.Хруничева, ГКБ "Южное", Lockheed Martin.
Глава по НПО "Энергомаш" подготовлена редакцией с использованием энциклопедий "Космонавтика" и Encyclpoedia Astronautica, "Альбома конструкций ЖРД п/р В.П.Глушко", ч. I-IV (Воениздат, Москва, 1972 г.), открытых публикаций в журналах "Аэрокосмический курьер" и "Авиапанорама", рекламных проспектов предприятия. Материалы откорректированы разработчиком.
|
Ю "ЭНЕРГОМАШ"
РД-1
жидкостный ракетный двигатель
РД-1 и его модификация РД-1Х3 (ракетный двигатель с химическим зажиганием) разработаны в 1941-46 гг. Они предназначены для облегчения взлета самолетов и кратковременного улучшения их характеристик в полете. Топливо двухкомпонентное (окислитель - азотная кислота, горючее - керосин)
| производится пилотом. Агрегаты автоматики работают от бортовых электрических аккумуляторов и баллонов сжатого воздуха. Зажигание топлива - при помощи пускового горючего (смесь карбинола с бензином), находящегося в бачке, емкость которого рассчитана на 4 запуска. В начальном варианте ЖРД, называвшемся РД-1, зажигание осуществлялось от пускового факела эфиро-воздушной смеси, воспламеняемой электросвечой. Пуск РД-1/РД-1ХЗ полностью автоматический; число пусков не ограничивалось в пределах ресурса. Первые серийные ЖРД РД-1 изготавливались опытными партиями с начала 1944 г. Помимо стендовых доводочных и официальных испытаний, в 1943-46 гг. проведено около 400 пус |
РД- 1ХЗ содержит следующие основные узлы, раздельно монтируемые на самолете: камеру с агрегатами автоматического управления, насосный агрегат, блок дроссельных вентилей и релейную коробку. Камера - двустенная, с регенеративным охлаждением горючим (смесительная головка) и окислителем. Огневая стенка камеры - со спиральным оребрением для образования охлаждающего тракта; при нагреве в процессе работы ЖРД она может перемещаться относительно внешней стенки с целью компенсации температурных напряжений. Давление в камере сгорания 2,01 МПа. Насосный агрегат состоит из шестеренных насосов окислителя и горючего, приводимых от авиационного двигателя через гидромуфту. Насосы развивают напор, соответствующий давлению 3,5 МПа при расходе топлива 1,5 кг/с, частота вращения 33 об./с, потребляемая мощность 33 кВт. Блок дроссельных вентилей обеспечивает плавное регулирование тяги в диапазоне 2,94... 1,47 кН. Управление ЖРД ков ЖРД РД-1 и РД-1ХЗ (на земле и в воздухе) на поршневых самолетах конструкции В.М.Петлякова (Пе-2Р), С. А. Лавочкина (Ла-7Р, "120Р"), А.С.Яковлева (Як-3) и П.О.Сухого (Су-6, Су-7). ЖРД обеспечивали прирост максимальной скорости самолетов до 30%.
|
|
|
В 1946 г. на авиационном празднике в Тушино состоялся первый публичный полет истребителя "120Р" с работающим ЖРД РД-1Х3.
Компоненты топлива - азотная кислота и керосин Рз = 0,3 тс (2,94 кН) 1з = 200 с рк = 20,5 атм Мдв. = 56 кг
Камера ЖРД РД-1ХЗ, установленная на моторной раме вместе с агрегатами управления [63] |
Ресурс до первой переборки 1 час
РД-2
жидкостный ракетный двигатель
Однокамерный двигатель РД-2 является дальнейшим развитием двигателя РД-1ХЗ и может развивать вдвое большую тягу. В 1946 г. он прошел официальные, а в 1947 г. государственные стендовые испытания. Предназначался в качестве вспомогательного двигателя для реактивных самолетов.
Пуск РД-2 был полностью автоматический. Число пусков не ограничивалось в пределах ресурса. Величина тяги регулировалась путем изменения подачи компонентов топлива в камеру блоком дроссельных вентилей, связанных с сектором управления двигателем. Как и двигатель РД-1ХЗ, РД-2 состоит из отдельно монтируемых на самолете агрегатов: собственно двигателя (камера сгорания с агрегатами пуска и управления), насосного агрегата, приводимого от основного двигателя самолета, блока дроссельных вентилей, релейной коробки с электрическим реле. Компоненты топлива - азотная кислота и керосин Рз = 0,600 тс (5,89 кН) 1з = 200 с
Количество камер 1 рк = 20 атм Мдв. = 77 кг
РД-3
жидкостный ракетный двигатель
В семейство самолетных ЖРД, разработанных предприятием, входил РД-3 с ТНА и тремя камерами от двигателя РД-1. РД-3 предназначался для основной силовой установки самолетов типа истребителей-перехватчиков, мог быть использован и как вспомогательный двигатель для самолетов с винтомоторной или воздушно-реактивной установкой.
Двигатель состоит из трех камер, ТНА, питающего эти камеры, газогенератора, вырабатывающего парогаз для работы турбины, и агрегатов пуска и управления. На режимах форсажа работают все три камеры (диапазон тяг: 900...300 кгс), в других случаях может работать только одна камера (300...100 кгс). Управление двигателем полностью автоматизировано, введена автоблокировка для устранения аварий вследствие неправильного запуска двигателя. РД-3 был разработан и проходил стендовые испытания в 1944-45 гг. Компоненты топлива - азотная кислота и керосин Рз = 0,900 тс (8,83 кН) 1з = 190 с рк = 22,5 атм Мдв. = 190 кг
|
РД-100
жидкостный ракетный двигатель
РД-100 разработан в 1947-50 гг для баллистической ракеты Р-1 и ее модификаций. Являлся советским вариантом двигателя немецкой ракеты А-4 (Фау-2). Воспроизводство его происходило при участии немецких инженеров. Представляет собой однокамерный ЖРД с ТНА, приводимым в действие продуктами каталитического разложения концентрированной перекиси водорода в газогенераторе. Компоненты топлива - жидкий кислород и 75%-ый раствор этилового спирта Рп = 31,3 тс (307 кН) Рз = 27,2 тс (267 кН) 1п = 237 с 1з = 203 с t = 65 c
РД-100 [78] |
Р-1Д [60] |
Количество камер 1 рк = 1,59 МПа Km = 1,28 Ntha = 400 кВт птна = 3900 об./мин. Мдв. = 885 кг Эдв. = 1650 мм Ьдв. = 3700 мм
РД-101
жидкостный ракетный двигатель
РД-101 - кислородно-спиртовой ЖРД, разработанный в 1947-51 гг. для баллистической ракеты Р-2 и ее модификаций.
Представляет собой однокамерный ЖРД с ТНА, приводимым в действие продуктами каталитического разложения концентрированной перекиси водорода в газогенераторе. РД-101 создан в результате усовершенствования РД-100 (без участия немецких специалистов) путем применения горючего большей концентрации (92%), форсирования рабочих параметров, улучшения охлаждения смесительных головок камеры и сопла, введения автоматики для регулирования тяги в полете, модернизации системы газогенерации (применены твердый катализатор разложения перекиси водорода, а затем и центробежный насос для подачи ее в газогенератор), введения сильфон- ных трубопроводов для окислителя и эластичных для горючего, улучшения компоновки и т. д.; изменения претерпели все системы и элементы ЖРД.
Рп = 41,2 тс (404 кН)
Рз = 37 тс (363 кН)
1п = 237 с
1з = 210 с
рк = 2,12 МПа
Km = 1,45
t = 85 с
Мдв. = 888 кг
Эдв. = 1650 мм
Р-2 [60] |
Ьдв. = 3350 мм
РД-102
жидкостный ракетный двигатель
В 1951-53 гг. для ракеты Р-3А разработан проект ЖРД РД-102, где компонентами топлива являлись жидкий кислород и спирт.
Работы по проекту РД-102 были пре- 1з = 214 с
кращены в пользу РД-103. t = 83 с
Рп = 43,7 тс (428 кН) Мдв. = 885 кг
1п = 235 с Ьдв. = 3100 мм
|
Ю "ЭНЕРГОМАШ"
РД-103
жидкостный ракетный двигатель
РД-103 разработан в 1948-53 гг. для баллистических ракет Р-5, Р-5М, "Вертикаль" и др. В основном использовалась модификация РД-103М. Представляет собой однокамерный ЖРД с ТНА, приводимым в действие продуктами каталитического разложения концентрированной перекиси водорода в газогенераторе. Создан в результате усовершенствования РД-100 путем применения горючего большей концентрации, форсирования рабочих параметров, улучшения охлаждения смесительных головок камеры и сопла, введения автоматики для регулирования тяги в полете, модернизации системы газогенерации (применены твердый катализатор разложения перекиси водорода, а затем и центробежный насос для подачи ее в
газогенератор), введения сильфонных трубопроводов для окислителя и эластичных для горючего, улучшения компоновки и т. д.; изменения претерпели все системы и элементы ЖРД. Компоненты топлива - жидкий кислород и 92%-ый раствор этилового спирта Рп = 51 тс (500 кН) Рз = 44 тс (432 кН) 1п = 248 с 1з = 220 с t = 120 c рк = 2,39 МПа Мдв. = 870 кг Эдв. = 1620 мм Ьдв. = 3220 м
РД-103М [63] |
В 1952-55 гг. создана модификация РД-103РД для использования при испытаниях систем будущей МБР Р-7.
РД-105
жидкостный ракетный двигатель
| Рп = 64 тс (627 кН) Рз =55 тс 1п = 302 с 1з = 260 с t = 130 c Количество камер 1 рк = 5,88 МПа |
| Геометрическая сопла 14,2 Km = 2,7 Мдв. = 782 кг Эдв. = 1200 мм Ьдв. = 4500 мм |
| степень расширения |
РД-105 - экспериментальная разработка 1952-54 гг. для первой ступени МБР типа Р-7. Предусматривалась ДУ первой ступени из четырех ЖРД РД-105. Компоненты топлива - жидкий кислород и керосин
РД-106
жидкостный ракетный двигатель
Экспериментальная работа по РД-106, модификация РД-105 с большим соплом, проводилась в 1952-54 гг. для второй ступени МБР. На второй ступени предполагалось установить один двигатель РД-106 и включать его одновременно с двигателями РД-105 первой ступени.
Компоненты топлива - жидкий кисло -
род и керосин
Рп = 65,8 тс (645,3 кН)
1п = 310 с
t = 330 c
Количество камер 1 рк = 5,88 МПа
Геометрическая степень расширения
сопла 20,4
Km = 2,7
Мдв. = 802 кг
Эдв. = 1400 мм
Ьдв. = 4800 мм
РД-107
РД-107 разработан в 1954-57 гг. для первой ступени МБР Р-7. Модификации РД-107 использовались на РН "Спутник", "Восток", "Восход", "Молния", "Союз".
Производится в ОАО "Моторостроитель" (г. Самара).
ЖРД содержит четыре основных и две рулевые камеры, питающий их ТНА, газогенератор, агрегаты управления, раму и др.
| жидкостный ракетный двигатель |
РД-107[105] |
Основные камеры паяно-сварной конструкции с внутренним и регенеративным охлаждением создают 92% тяги ЖРД. Корпус камеры сгорания образован двумя оболочками - огневой бронзовой стенкой и стальной рубашкой, которые соединены через гофрированные проставки, а в области максимального теплового потока через ребра на огневой стенке. Окислитель подается непосредственно в смесительную головку камеры через центральный патрубок, горючее - в кольцевой коллектор, расположенный у выхода из камеры, и распределяется по каналам охлаждающего тракта. Затем, нагретый до 480 К, направляется в смесительную головку пакетной конструкции с плоскими днищами, скреп
ленными 337 форсунками. Одна форсунка - в центре, остальные - в 10 концентрических рядах. Все форсунки, кроме периферийных, двухкомпо- нентные. На периферии установлены форсунки горючего, создающие у огневой стенки камеры защитную газожидкостную пленку завесного охлаждения. Ори сжигании топлива в камере сгорания образуется газ с давлением 5,85 МОа и температурой 3520 К. Ори этом газ разгоняется до скорости 2950 м/с, сообщая камере тягу 230 кН (в пустоте). Огневое днище смесительной головки, форсунки, огневая стенка и гофрированные проставки изготовлены из жаропрочных медных сплавов, остальные детали камеры - стальные.

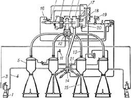
| I - рулевые камеры.; 2 - узел поворота рулевой камеры; 3 - трубопроводы окислителя рулевых камер; 4 - трубопроводы горючего рулевых камер; 5 - основные камеры; 7 - парогазогенератор; 8 - турбина; 9 - насос окислителя; 10 - насос горючего; II - датчик давления системы регулирования тяги; 12 - главный клапан окислителя; 13 - трубопроводы окислителя основных камер; 14 - главный клапан горючего; 15 - трубопровод горючего основной камеры; 16 - пуско-отсечный клапан перекиси водорода; 17 - редуктор давления; 18 - насос перекиси водорода; 19 - воздушный редуктор с электроприводом; 20 - насос жидкого азота; 21 - дроссель системы гр опорожнения баков с электроприводом |
РН "Восток" [105] |
Турбонасосный агрегат РД-107 [63] |
| Ю "ЭНЕРГОМАШ" |
ТНА содержит два основных и два вспомогательных центробежных одноступенчатых насоса и активную двухступенчатую турбину мощностью 3820 кВт. Основные насосы - с осевой крыльчаткой горючего и шнеками окислителя перед центробежными колёсами - установлены соосно с турбиной и имеют одинаковую с ней частоту вращения 138 об./с. Насосы рассчитаны на подачу 226 кг/с жидкого кислорода под давлением 7,8 МОа и подачу 91 кг/с керосина под давлением 9,3 МОа. Корпуса, колеса и шнеки насосов - из алюминиевых сплавов; валы, осевая крыльчатка и почти все детали турбины - стальные. Вспомогательные насосы приводятся во вращением (302 об./с) через шестеренный мультипликатор. Один из насосов подает жидкий азот в теплообменник, который встроен в выхлопной коллектор турбины. Испарившийся в теплообменнике азот используется для наддува топливных баков РН. Другой вспомогательный насос питает 82%-ой перекисью водорода газогенератор, содержащий твердый катализатор, при прохождении через который перекись водорода разлагается на водяной пар и газообразный кислород. Смесь под давлением 5,4 МОа и с температурой 830 К поступает (8,8 кг/с) на лопатки турбины и затем выбрасывается через выхлопные патрубки со скоростью 450 м/с, создавая тягу 7 кН. Рулевые камеры по конструкции аналогичны основным. Работая при давлении 5,4 МОа, каждая из них развивает тягу в 6 раз меньшую, чем основная камера. Камеры снабжены полными цапфами, через которые подводится топливо; они же обеспечивают при помощи гидроприводов отклонение камер на угол 45°. Зажигание топлива в камерах при запуске осуществляется от пиротехнических устройств, устанавливаемых через сопла. Регулирование ЖРД по тяге достигается изменением расхода рабочего тела газогенератора. Соотношение компонентов топлива регулируется изменением расхода горючего.

| 7 8 9 Ю |
| Схема РД-107[63] |
|
Компоненты топлива - жидкий кислород и керосин Рз = 821 кН Рп = 1000 кН 1з = 2520 Н/(кг/с) 1п = 3080 Н/(кг/с) Km = 2,47
Ю "ЭНЕРГОМАШ"
t = 140 с рк = 5,85 МПа Мдв. = 1155 кг
|
РН "Космос" [98] |
Ьдв. = 2860 мм (без рулевых камер) Эдв. = 2580 мм (без рулевых камер) За прошедшие годы были разработаны разнообразные модификации ЖРД РД-107, которые использовались для пусков семейства космических РН, созданных на базе МБР Р-7 ("Спутник", "Луна", "Восток", "Молния", "Восход", "Союз", "Союз-У", "Союз-У2"). Все они основывались на конструкции двигателя РД-107 и не имели принципиальных отличий по конструкции. Использующаяся в настоящее время модификация является одной из наиболее совершенных и надежных модификаций двигателей типа РД-107. Она разработана в 1971-75 гг.
РД-108
жидкостный ракетный двигатель
Р-7 [60] РД-108 [78] |
РД-108 разработан в 1954-57 гг. Производится в ОАО "Моторостроитель" (г. Самара).
Аналогичен по конструкции РД-107. Отличается в основном числом рулевых камер и конструкцией дросселя, предназначенного для изменения соотношения топливных компонентов (установлен в магистрали окислителя в отличие от РД-107). Двигатель РД-108 имеет четыре основные камеры и четыре рулевые камеры. Камеры, ТНА и газогенератор - те же, что и в РД-107. ЖРД включается одновременно с двигателями первой ступени. Компоненты топлива - жидкий кислород и керосин
Рз = 745 кН Рп = 941 кН 1з = 2430 Н/(кг/с) 1п = 3090 Н/(кг/с) рк = 5,1 МПа t = 310 с Km = 2,39
Ьдв. = 2860 мм (без рулевых камер) Эдв. = 1950 мм (без рулевых камер) Мдв. сухая = 1250 кг
За прошедшие годы были разработаны разнообразные модификации ЖРД РД-108, которые использовались для пусков семейства космических РН, созданных на базе МБР Р-7 ("Спутник", "Луна", "Восток", "Молния", "Восход", "Союз", "Союз-У", "Союз-У2"). Все они основывались на конструкции двигателя РД-108 и не имели принципиальных отличий по конструкции. Используемая в настоящее время модификация РД-108 является одной из наиболее совершенных и надежных модификаций двигателей типа РД-108. Она разработана в 1971-75 гг. В одной из модификаций двигателя для РН «Союз-У2» керосин для повышения экономичности был заменен циклином, но сейчас эта модификация не используется.
ступени РН, разрабатывавшийся в 1957-60 гг.
Представляет собой однокамерный ЖРД на кислороде и НДМГ. Рабочим телом турбины являются продукты термического разложения основного горючего в газогенераторе вместо па- схеме.
Работы по РД-109 прекращены в пользу РД-119.
| РД-109 жидкостный ракетный двигатель РД-109 - один из проектов для второй рогаза. ТНА выполнен по двухвальной t = 330 с |
Компоненты топлива - жидкий кислород и НДМГ Рп = 10,36 тс (101,6 кН) 1п = 334 с
Количество камер 1 рк = 7,75 МПа
Геометрическая степень расширения
сопла 58,5
Km = 1,49
Мдв.сухая = 210 Кг
Эдв. = 1000 мм
|
Ьдв. = 2300 мм
РД-110
жидкостный ракетный двигатель
1з = 244 с
Количество камер 1 рк = 5,88 МПа Km = 2,65 Эдв. = 1800 мм Ьдв. = 5200 мм
РД-111
| Разработка РД-110 велась в 1947-51 гг. для МБР Р-3. В основу положена конструкция двигателя РД-103. Прорабатывался вариант двигателя с охлаждением камеры водой. Работа завершена на стадии макетного про |
| ектирования, изготовления и испытания отдельных узлов двигателя. Компоненты топлива - жидкий кислород и керосин Рп = 140 тс (1374 кН) 1п = 285 с |
жидкостный ракетный двигатель
РД-111 разработан в 1959-65 гг. для первой ступени МБР Р-9. Компоненты топлива - жидкий кислород и керосин
РД-111 [65] |
РД-111 содержит 4 камеры, ТНА, газогенератор, агрегаты автоматики, раму и др. элементы. Камера ЖРД - со связанными оболочками, с регенеративным и завесным (от форсуночной головки) охлажденным горючим. Камеры установлены на двигательной раме в подшипниках, оси которых расположены горизонтально, в плоскостях курса и тангажа РН; путем поворота камер достигается полное управление полетом. Над камерами расположен горизонтально ТНА, связанный с ними сильфонными металлическими шлангами. ТНА содержит центробежные одноступенчатые насосы окислителя и горючего (со шнеками на входе) и двухступенчатую осевую активную турбину (мощность 8460 кВт). Насосы и турбины расположены соосно и вра-
Р-9А [60] |
щаются с частотой 142 об./с. Газ для привода ТНА вырабатывается в газогенераторе за счет сжигания небольшой части топлива с избытком горючего. Отработанный газ выбрасывается через патрубок, снабженный расширяющимся соплом. ЖРД регулиру-
|
Ю "ЭНЕРГОМАШ"
ется по тяге аналогично ЖРД РД-219 и по соотношению компонентов топлива - РД-107. Зажигание топлива в камерах и газогенераторе при запуске осуществляется от пиротехнических устройств; раскрутка ТНА производится пороховым стартером. Рп = 166 тс (1628 кН) Рз = 143,51 тс (1407 кН) 1п = 317 с 1з = 275 с t = 110 с рк = 7,85 МПа
Геометрическая степень расширения
сопла 18,0
Km = 2,39
Мдв. = 1480 кг
Эдв. = 2760 мм
Ьдв. = 2340 мм
|
Турбонасосный агрегат РД-111 [63] |
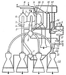
1, 2 - главные пуско-отсечные клапаны; 3 - пороховой стартер; 4 - дроссель системы опорожнения баков; 5, 16 - электроприводы; 6, 7 - насосы; 8 - теплообменник; 9 - газогенератор; 10 - отсечный пироклапан; 11 - турбина; 12, 13, 15, 17 - редукторы давления; 14 - пуско-отсечный клапан; 18, 19 - управляющие электропневмоклапаны; 20 - выпускное сопло турбины; 21 - датчик давления системы регулирования тяги; 22 - камера; а - горючее; б - окислитель; в, г - газ для наддува баков; д - сжатый воздух от бортовых баллонов; е - сжатый воздух от наземной установки
Схема РД-111 [63]
РД-112
жидкостный ракетный двигатель
Проектные работы по РД-112 велись в 1960 г. для установки на первую ступень МБР.
Предложена схема с дожиганием окислительного генераторного газа в основной камере сгорания. Для раскрутки турбины предполагалось использовать пусковую турбину, приводимую пороховыми газами от стартера.
Компоненты топлива - жидкий кислород и НДМГ. Рп = 111 тс (1089 кН) Рз = 98 тс 1п = 344 с 1з = 304 с
Количество камер 1 рк = 14,7 МПа
Геометрическая степень расширения сопла 31,8 Km = 1,7
Мдв.сухая = 790 кг Эдв. = 1290 мм Ьдв. = 2600 мм
РД-113
жидкостный ракетный двигатель
Проектные работы велись в 1960 г. для установки на вторую ступень МБР. Развитие ЖРД РД-112 (отличался высотным соплом).
Компоненты топлива - жидкий кислород и НДМГ
Рп = 116 тс (1138 кН) Km = 1,7
1п = 360 с Мдв. = 1100 кг
Количество камер 1 Эдв. = 2480 мм
рк = 14,7 МПа Ьдв. = 4200 мм
Геометрическая степень расширения сопла 119,8
|
РД-114
жидкостный ракетный двигатель
Проектные работы по РД-114 велись в переходом к разработке двигателей на Количество камер 1
1960-61 гг. для первой ступени МБР. По принципиальной схеме аналогичен двигателю РД-112, но форсирован по тяге. В камере введены два пояса щелевой завесы и улучшена схема охлаждения сопла. Проводились модельные испытания отдельных агрегатов и
азотном тетраоксиде вместо кислорода. Компоненты топлива - жидкий кислород и НДМГ. Рп = 168,6 тс (1653 кН) Рз =152 тс 1п = 341 с 1з = 307 с рк = 14,7 МПа Геометрическая степень расширения сопла 26,4 Km = 1,77 Мдв. = 900 кг Эдв. = 1460 мм Цдв. = 2600 мм
узлов. Работы прекращены в связи с t = 120 с
РД-115
жидкостный ракетный двигатель
Высотная модификация двигателя РД-114.
Компоненты топлива - жидкий кислород и НДМГ Рп = 176 тс (1726 кН) 1п = 357 с
t = 130 с Km = 1,77
Количество камер 1 Мдв. = 1250 кг
рк = 14,7 МПа Эдв. = 3265 мм
Геометрическая степень расширения Lдв. = 5000 мм сопла 86,2
РД-119
жидкостный ракетный двигатель
РД-119 разработан в 1958-62 гг. и использовался на второй ступени РН "Космос". Изготавливался в Химках и Красноярске.
|
Содержит камеру, ТНА, газогенератор, рулевые сопла, агрегаты управления, раму и другие элементы. Камера ЖРД - со связанными оболочками, тракт регенеративного охлаждения образован оребрением огневой стенки в области камеры сгорания и горловины сопла, а также гофрированными про- ставками между стенками сопловой части камеры. Внутреннее охлаждение камеры обеспечивается периферийными форсунками смесительной
1 - камера; 2 - рулевые сопла; 3 - газораспределитель с электроприводом; 4 - отсечный пироклапан окислителя; 5 - смеситель; 6 - трубопровод горючего камеры; 7 - газогенератор; 8 - теплообменник-испаритель; 9 - турбина; 10, 16 - пуско-отсечные клапаны; 11 - насос горючего; 12 - насос окислителя; 13 - пусковой клапан окислителя; 14 - азотный редуктор с электроприводом; 15 - баллон со сжатым азотом; 17 - редуктор давления горючего; 18 - трубопровод горючего газогенератора; 19 - отсечный клапан горючего камеры; 20 - трубопровод горючего завесного охлаждения
РД-119 [105] |
Схема РД-119 [63]
головки и питаемым автономно поясом завесы, установленным перед соплом. ТНА содержит два шнекоцент- робежных топливных насоса и осевую двухступенчатую активную турбину с частотой вращения 350 об./с и мощностью 566 кВт, расположенные на двух соосных валах, которые связаны с помощью шлицевого соединения через короткий гибкий вал. На одном валу установлены насос горючего и (кон- сольно) турбина, на другом - насос окислителя. Турбина приводится во вращение газом с температурой 1030 К, который вырабатывается при термическом разложении горючего в газоге-
|
нераторе. Начальный тепловой импульс создается сжиганием порохового заряда, расположенного в газогенераторе. Этот же заряд используется для начальной раскрутки турбины при запуске ЖРД. Отработанный газ турбины истекает через три пары неподвижных рулевых сопел, снабженных газораспределителями с электроприводами, обеспечивая управление полетом РН.
В РД-119 имеются агрегаты, вырабатывающие газ для наддува топливных баков. Бак окислителя наддувается продуктами испарения окислителя в теплообменнике, который встроен в выхлопной патрубок турбины. Бак горючего наддувается газом, образующимся при смешении части генераторного газа с горючим. Зажигание топлива в камере при включении ЖРД осуществляется от пиротехнического устройства, устанавливаемого через сопла. Тяга регулируется изменением расхода горючего тела газогенератора. В конструкции камеры, газогенератора, газораспределителей, системы газовых трубопроводов широко использованы титановые сплавы. При команде на включение РД-119 двигатель первой ступени (РД-214) еще работает, и создаваемая им перегрузка
"НПО "ЭНЕРГОМАШ"
обеспечивает поступление начальной порции топлива в двигатель. Компоненты топлива - жидкий кислород и НДМГ Рп = 10,71 тс (105 кН) 1п = 352 с t = 260 с рк = 7,89 МПа
Геометрическая степень расширения сопла 102,0 Km = 1,5
Мдв. сухая = 168 кг Ьдв. = 2170 мм
Эдв. = 1020 мм (без рулевых сопел)
РД-120
жидкостный ракетный двигатель
ЖРД РД-120 разработан в 1976-85 гг. под общим руководством В.П.Радов- ского для второй ступени РН "Зенит". Имеет схему с дожиганием окислительного газа. Он выполняет только маршевые функции (осуществляет основной разгон ступени) и обеспечивает подогрев гелия для наддува бака окислителя.
Наземные огневые испытания ЖРД проходил в полностью укомплектованном составе с полноразмерным соплом на стенде с выхлопным диффузором, позволяющим имитировать высотные условия работы двигателя. Летные испытания РН "Зенит" начались в 1985 г.
Двигатель допускает проведение многократных огневых стендовых испытаний автономно или в составе ступени и дальнейшее использование на РН при минимальном объеме профилактических работ.

| РД-120 [78] |
ЖРД РД-120 является однокамерным двигателем с насосной подачей. На ступени он установлен неподвижно внутри торового бака горючего. Камера паяно-сварной конструкции с плоской многофорсуночной смесительной головкой. Ее наружное (регенеративное) и внутреннее (пленочное) охлаждение осуществляется горючим. ТНА расположен вертикально. Он выполнен двухблочным. Первый блок содержит осевую одноступенчатую газовую турбину и насос кислорода. Во втором блоке размещены насосы керосина первой и второй ступени. Безкавита- ционную работу ТНА обеспечивают бустерные насосные агрегаты (БНА). Газогенератор - окислительный, паяно-сварной. Он работает на основных компонентах ракетного топлива и охлаждается кислородом. Теплообменник подогрева гелия для наддува бака окислителя паяно-сварной. Управление работой ЖРД обеспечивают автоматические и пневмоуправляемые клапаны, регуляторы тяги и дроссель СОБ. Все агрегаты ЖРД с помощью трубопроводов объединены в единую пневмогидравлическую систему и функционируют по определенной циклограмме по командам от системы управления РН.
РД-120 был первым российским серийным ЖРД, прошедшим стендовые огневые испытания в США в октябре 1995 г.
ЖРД серийно изготавливается на Южном машиностроительном заводе (г. Днепропетровск, Украина). Его серийное производство в короткие сроки может быть также налажено в "НПО Энерго- маш" или на других заводах отрасли. Компоненты топлива - жидкий кислород и керосин.
Зажигание компонентов топлива осуществляется с помощью пускового горючего.
Рп = 85 тс (833 кН) 1п = 350 с t = до 360 с Количество камер 1 Рк = 16,2 МПа
РД-120К [98] |
Геометрическая степень расширения сопла 106,1 Km = 2,6
| Ю "ЭНЕРГОМАШ" |
Диапазон дросселирования 70...110% Мдв. = 1125 кг Эдв. = 1954 мм Ьдв. = 3872 мм
На базе РД-120 разработаны двигатели: РД-120К для первых ступеней перспективных РН и РД-120и для первой ступени РН ULV-22 ("Единство"). Двигатель РД-120К, являющийся модификацией двигателя РД-120 с укороченным соплом, отличается от последнего перекомпонованной верхней частью. РД-120К, разработка которого велась в "НПО Энергомаш" в инициативном порядке, предназначен для использования на первых ступенях перспективных РН легкого и среднего класса. Он имеет возможность регулирования по тяге - 50...105%. РД-120К может устанавливаться как неподвижно (в этом случае управление вектором тяги двигателя может осуществляться с помощью двух рулевых камер), так и в шарнирном подвесе для управления вектором тяги (угол качания камеры в двух плоскостях ±6°.
Основная камера двигателя РД-120и установлена неподвижно, а управление вектором тяги осуществляется с помощью двух рулевых камер. В 1999 г. были проведены два огневых стендовых испытания двигателя РД-120и в НИИХиммаш в Сергиевом Посаде. Компоненты топлива - жидкий кислород и керосин
Рз = 73...80 тс (716...785 кН)
1п = 337 с 1з = 305 с
Количество камер 1
рк = 16,6...17,5 МПа
Геометрическая степень расширения
сопла 106,7
Km = 2,6
Мдв. = 1080 кг
Эдв. = 1500 мм
Испытания РД-120 на стенде компании Pratt & Whitney [97] |
|
Ьдв. = 2800 мм
РД-134
жидкостный ракетный двигатель
| Проект ЖРД (середина 90-х гг.) для верхних ступеней РН. Двигатель должен быть установлен на карданной подвеске с качанием камер в одной плоскости. |
| Компоненты топлива - жидкий кислород и керосин Рп = 35 тс (343 кН) 1п = 357 с Количество камер 4 (с общим ТНА) |
рк = 16,7 МПа Km = 2,6 Мдв. = 540 кг Эдв. = 2400 мм Ьдв. = 1600 мм
РД-146
жидкостный ракетный двигатель
РД-146 - проектная разработка 1992 г. Рп = 90 тс (883 кН) Кт = 2,6
для второй ступени РН. 1п = 350 с Количество камер 1
Компоненты топлива - жидкий кис- рк = 16,67 МПа лород и керосин
"НПО "ЭНЕРГОМАШ"
РД-161
РД-161 (проект 1990 г.) - высотный однокамерный ЖРД с турбонасосной системой подачи топлива. Выполнен по схеме с дожиганием генераторного газа. Имеет качающуюся в двух плоскостях камеру. Базовая версия. Назначение - верхняя ступень РН и разгонных блоков. Двигатель оснащен газогенератором высокого давления для питания управляющих камер. Зажигание компонентов топлива в РД-161 осуществляется с помощью плазмы, возникающей при пропускании тока высокого напряжения и частоты через газообразный кислород. РД-161-1 - вариант без неохлаждае- мого соплового насадка Компоненты топлива - жидкий кислород и керосин Рп = 2 тс (19,6 кН) 1п = 360 с t = 900 c
Количество камер 1 рк = 12,2 МПа
Геометрическая степень расширения сопла 18,75
Количество включений - до 17
Угол качания в шарнире ±6°
№гна = 444 л.с.
Km = 2,6
Мдв. = 119 кг
Бдв. = 780 мм
Ьдв. = 1700 мм
РД-161-2 - вариант с неохлаждаемым сопловым насадком. Компоненты топлива - жидкий кислород и керосин Рп = 2,03 тс (19,9 кН) 1п = 365 с t = 900 c
Количество камер 1 рк = 11,72 МПа
РН "Союз " [79] |
Геометрическая степень расширения сопла 19,25 Km = 2,6 Мдв. = 141 кг
Бдв. = 1020 мм Ьдв. = 2205 мм
РД-161П - проект 1993 г. с двумя уровнями тяги (1 - основной и 2 - промежуточный режим) и другим окислителем (высококонцентрированная перекись водорода). Схема двигателя - замкнутая с дожиганием. Назначение - третья ступень РН "Союз". Рп1 = 2,5 тс (24,5 кН) Рп2 = 1,4 тс (13,7 кн) 1п1 = 319 с 1п2 = 317 с рк = 12,23 МПа t = 900 c
Количество камер 1 Геометрическая степень расширения сопла 265,0 Km = 5,9
Количество включений - до 50
№гна = 500 л.с.
Мдв. = 105 кг
Бдв. = 540 мм
Ьдв. = 1450 мм
Двигатели РД-161 и РД-161П состоят из практически аналогичных камер сгорания с двухкомпонентными (газ - жидкость) форсунками, высотных сопел и ТНА. Тракт газогенерации обоих ЖРД различен. Газогенератор двигателя РД-161 - двухкомпонентный од- нофорсуночный (центробежная форсунка с осевым впрыском горючего и периферийным распылом окислителя), работает с избытком окислителя, образуя горячий газ с температурой около 550°С, состоящий в основном из кислорода и некоторой части паров воды и углекислого газа. Газогенератор двигателя РД-161П - однокомпо- нентный каталитический: при проходе перекиси водорода через каталитический пакет происходит ее разложение с образованием горячего парогаза с температурой порядка 850°С, состоящего из паров воды и кислорода. По-
РД-161П [78] |
сле срабатывания на лопатках турбины ТНА парогаз поступает в камеру сгорания, где дожигается с помощью горючего.
"НПО "ЭНЕРГОМАШ"
Благодаря применению однокомпо- нентного газогенератора система подачи топлива и запуска двигателя была существенно упрощена. Этот двигатель имеет особенность: в случае, если горючее в камеру сгорания не подается, ЖРД работает в так называемом однокомпонентном режиме, создавая при этом достаточно высокую тягу. Наибольшая трудность в разработке системы подачи топлива состояла в выборе материалов для каталитического пакета газогенератора. Применение насадка из углепластика длиной приблизительно 500 мм позво
|
ляет увеличить удельный импульс тяги в вакууме примерно на 5 единиц. Двигатель РД-161 относится к разряду перспективных. Он обеспечивает получение наиболее высокого удельного импульса тяги кислородно-керосиновых ЖРД.
РД-167
жидкостный ракетный двигатель
Для верхних ступеней РН в 90-х гг. Рп = 35 тс (343 кН) Эдв. = 2370 мм
разработан проект ЖРД РД-167 (ва- 1п = 383 с Ьдв. = 1575 мм
риант РД-134). Количество камер 4
Компоненты топлива - жидкий кис- рк = 19,6 МПа
лород и жидкий метан Km = 3,6
РД-169
жидкостный ракетный двигатель
РД-169 предложен в начале 90-х гг. для первой ступени РН "Рикша-1". Связка из шести ЖРД РД-169 образует ДУ РД-190.
Проект выполнен с дожиганием окислительного генераторного газа. Управление вектором тяги - качание в двух плоскостях ±8°.
Компоненты топлива - жидкий кислород и жидкий метан Рп = 17 тс (167 кН) Рз = 15 тс (147 кН) 1п = 351 с 1з = 309 с
Количество камер 1 рк = 14,7 МПа
Km = 3,4
Продолжительность одного использования 200 с
Количество включений в полете 1 Мдв. сухая = 246 кг Эдв. = 530 мм Ьдв. = 2100 мм
РД-170
жидкостный ракетный двигатель
РД-170 [78] |
РД-170 разработан в 1976-87 гг. для первой ступени РН "Энергия". Самый мощный в мире ЖРД имеет высочайший уровень параметров и характеристик для двигателей такого класса. Двигатель предназначен для многократного использования и сертифицирован на 10-кратное использование. Первое огневое испытание РД-170 было проведено 25 августа 1980 г. На одном из двигателей было проведено 18 полноресурных огневых испытаний на стенде с общей наработкой 2520 секунд. Первый полет в составе РН "Энергия" был выполнен 15 мая 1987 г. Двигатель спроектирован по схеме с дожиганием окислительного газа. Он имеет четыре камеры сгорания и один ТНА, приводимый в действие двумя газогенераторами. Управление вектором тяги обеспечивается качанием каждой камеры на угол ±8° в двух плоскостях благодаря разработке уникального сильфонного узла. (Подробное описание конструкции - см. РД-171)
Компоненты топлива - жидкий кислород и керосин. Рз = 740 тс (7255 кН) Рп = 806 тс (7903 кН) 1з = 309,2 с 1п = 337 с рк = 24,5 МПа Km = 2,6
Мдв.сухая = 9750 кг Эдв. = 4000 мм Ьдв. = 4000 мм
РН "Энергия" [60] |
Количество использований - до 10
|
Ю "ЭНЕРГОМАШ"

| 1 - бустерные насосные агрегаты; 2 - камера сгорания; 3 - преднасосы; 4 - турбина; 5 - насос горючего; 6 - насос окислителя; 7 - воспламенитель; 8 - шарнир; 9 - теплообменник; 10 - бак пускового горючего |
| Горючее♦ |
Схема РД-170 [60]
РД-171
жидкостный ракетный двигатель
РД-171 [78] |
ЖРД РД-171 создан в 1976-85 гг под общим руководством В.П.Радовского. ЖРД РД-171 выполнен по схеме дожигания в камерах окислительного генераторного газа. Сегодня это самый мощный ЖРД в мире. Он устанавливается на первых ступенях РН "Зенит" и "Zenit- 3SL".
Конструктивно аналогичен РД-170 (за исключением крепления к ракете) и обладает возможностью качания камер только в одной плоскости. ЖРД РД-171 допускает проведение огневых стендовых испытаний автономно или в составе ступени и дальнейшее использование на РН при минимальном объеме профилактических работ: Он выполняет маршево-рулевые функции (осуществляет разгон и управление полетом РН), а также обеспечивает подогрев гелия для наддува бака окислителя ступени и подачу керосина с высоким давлением на бортовой источник мощности для рулевых гидроприводов РН. ЖРД РД-171 является четырехкамерным двигателем с насосной подачей компонентов ракетного топлива. Камеры установлены в карданных узлах силовой рамы и могут отклоняться в тангенциальной плоскости на угол до 8°. Камеры имеют паяно-сварную конструкцию с плоскими многофорсуночными смесительными головками. Их наружное (регенеративное) и внутреннее (завесное) охлаждение производится горючим. Окислительный газ подводится по газоводам, имеющим уникальные сильфон- ные узлы, обеспечивающие поворот камер. ТНА расположен вертикально между камер. ТНА содержит осевую одноступенчатую газовую турбину, шнекоцент- робежный насос окислителя и шнеко- центробежный двухступенчатый насос горючего (вторая ступень обеспечивает подачу части горючего в газогенераторы). Турбина и насос окислителя установлены на одном валу. Две ступени насоса горючего установлены на другом со- осно расположенном валу, крутящий момент на который передается с помощью зубчатой рессоры. Безкавитационную работу ТНА обеспечивают бустерные насосные агрегаты. Оба газогенератора - окислительные, паяно-сварные. Они работают на основных КРТ и охлаждаются кислородом. Теплообменник подогрева гелия - многостенный, паяно-сварной. Управление работой ЖРД обеспечивают автоматические и пневмоуправляемые клапаны, регулятор тяги, дроссель СОБ и дроссели окислителя. Все агрегаты
РН "Zenit-3SL"на платформе стартового комплекса Sea Launch [84] |
ЖРД с помощью трубопроводов объединены в единую пневмогидравлическую систему и функционируют по определенной циклограмме по командам от системы управления РН. ЖРД изготавливаются в "НПО Энерго- маш". В 80-х гг. велось параллельное изготовление двигателя на Омском заводе ПО "Полет".
Компоненты топлива - жидкий кислород и керосин. Вспомогательным компонентом является пусковое горючее ПГ-2. Рп = 806 тс (7903 кН) Рз = 740 тс (7254 кН) 1п = 337 с 1з = 309,2 с Количество камер 4 рк = 24,5 МПа t = 140 с Km = 2,63 Мдв. = 9500 кг Эдв. = 4150 мм Ьдв. = 3565 мм
"НПО "ЭНЕРГОМАШ"
РД-172
|
жидкостный ракетный двигатель
Проект РД-172 создан в90-х гг как модификация РД-171 с повышенной тягой за счет увеличения давления в камерах сгорания.
| Рп = 848 тс (8310 кН) Рз = 784 тс (7680 кН) 1п = 337 с 1з = 311 с Количество камер 4 |
| рк = 25,7 МПа Km = 2,6 Эдв. = 4150 мм Ьдв. = 3565 мм |
Компоненты топлива - жидкий кислород и керосин
РД-180
жидкостный ракетный двигатель
Двухкамерный РД-180 разработан в 1994-98 гг для РН Atlas IIIA компании Lockheed Martin на основе ЖРД РД-170. Двигатель спроектирован по схеме с дожиганием окислительного газа. Двигатель РД-180 имеет две камеры сгорания в отличие от четырехкамер- ного РД-170 и новый ТНА меньшей мощности, приводимый в действие одним газогенератором, а также ряд агрегатов автоматики, спроектированных заново.
В начале 1996 г. "НПО Энергомаш" приступило к подготовке производства РД-180, а огневые испытания доводочных двигателей прошли уже в ноябре того же года. Первое огневое испытание на стенде в США было проведено 29 июля 1998 г. Первый товарный ЖРД РД-180 поставлен в США в январе 1999 г. Первый полет американской РН Atlas IIIA с российским двигателем РД-180 успешно осуществлен 24 мая 2000 г.
РД-180 на РН Atlas IIIA [78] |
РД-180 [78] |
|
| и.. Насос горючего / ^ Насос окислителя Камера сгорая и я\ Схема РД-180 [78] |
"НПО Энергомаш" имеет контракт на поставку в США 18 двигателей для за-
|
Ю "ЭНЕРГОМАШ"
пусков американских ракет. В июне 1997 г. Lockheed Martin объявил о намерении заказать 101 двигатель РД-180 производства "НПО Энергомаш" для коммерческих полетов РН Atlas IIIA. Планируется оснастить двигателями РД-180 и новое семейство РН Atlas V. Маркетингом и реализацией двигателя РД-180 в США занимается совместное предприятие "РД АМРОС", созданное при равном участии "НПО Энергомаш" и Pratt & Whitney. Компания Pratt & Whitney купила лицензию на производство девяти двигателей РД-180 для установки на вышеуказанную РН.
Компоненты топлива - жидкий кислород и керосин Рп = 423,4 тс (4152 кН) Рз = 390,2 тс (3828 кН) 1п = 337,8 с 1з = 311,3 с рк = 26,0 МПа Km = 2,72

| РН Atlas IIIA [78] |
|
|
РД-58М [60]
Старт РН "Zenit-3SL" комплекса Sea Launch ("Морской старт") [84]
РН "Протон" [95]
МКТС "Буран"[60]
Камера ЖРД РД-1ХЗ, установленная на моторной раме вместе с агрегатами управления [63]
РД-100 [78]
Р-1Д [60]
Р-2 [60]
РД-103М [63]
РД-107[105]
РН "Восток" [105]
Турбонасосный агрегат РД-107 [63]
РН "Космос" [98]
Р-7 [60] РД-108 [78]
РД-111 [65]
Р-9А [60]
Турбонасосный агрегат РД-111 [63]
РД-119 [105]
РД-120К [98]
Испытания РД-120 на стенде компании Pratt & Whitney [97]
РН "Союз " [79]
РД-161П [78]
РД-170 [78]
РН "Энергия" [60]
РД-171 [78]
РН "Zenit-3SL"на платформе стартового комплекса Sea Launch [84]
РД-180 на РН Atlas IIIA [78]
РД-180 [78]






