При значительном износе основных конструкций здания возможен снос его методом разрушения с применением экскаваторов, оснащенных клин- или шар-молотами, бульдозеров, или подрывом.
Примерно в таком же порядке осуществляют снос и деревянных строений. Если древесина сносимых строений поражена грибком, строение сжигают.
Разборку конструкций полносборных зданий осуществляют в порядке обратном порядку монтажа. Монолитные конструкции перед разборкой необходимо расчленить на отдельные конструктивные элементы. Для разборки зданий большой высоты в настоящее время используют высокопроизводительное оборудование, представляющее собой комплект навесного оборудования на гусеничный гидроэкскаватор. В комплект оборудования входят ножницы для разборки армированного бетона, комплект сменных челюстей для разборки стальных конструкций, гидромолот с конической ударной пикой для дробления железобетона.
При сносе строений кирпичный бой можно использовать для временных дорог, для приготовления цемянки или в качестве заполнителя бетона низких марок. Древесину используют для разогрева битума и мастик в построечных условиях или при отогреве мерзлого грунта. Демонтированные железобетонные конструкции могут служить сырьем для получения щебня.
|
|
|
Разборка строительных конструкций. Демонтаж перегородок, оконных и дверных заполнений. В зданиях постройки до 1960 г. в большинстве случаев установлены деревянные перегородки, разборку которых рекомендуется производить по следующей технологии. Под нижними обвязками перегородок пробивают отверстия и закрепляют в этих отверстиях стропы крана. Перегородки, освобожденные от креплений в стенах и перекрытиях, с помощью стропов и крана транспортируются на транспортное средство или на специальную площадку для дальнейшей переработки.
Демонтаж оконных и дверных заполнений начинают со снятия оконных приборов, после чего легким ломиком снимают створки и фрамуги с навесов, глухие фрамуги перед этим освобождают от креплений и укладывают на верстаки, где осторожно извлекают оконное стекло и штапики. Подоконные доски и приставные коробки снимают вручную, предварительно освободив их от креплений и заделки в стенах. Работы по демонтажу оконных и дверных заполнений рекомендуется выполнять звеном рабочих, состоящим из двух человек, с применением электроотверток и пневматического ручного инструмента.
Очистку территории от леса, кустарника, пней, камней производят с помощью техники: тракторов-древовалов со специальным навесным оборудованием, отвалом бульдозера-планировщика, кусторезом. Деревья валят, спиливая их электрическими или бензиновыми пилами. Пни корчуют по всей площади основания насыпей, имеющих высоту менее 1 м. Под насыпи высотой более 1 м корчевку пней не производят, но они должны быть срезаны на уровне земли.
|
|
|
Отвод поверхностных и подземных вод. Вода на строительной площадке может быть подземная, которая постоянно находится под землей на незначительном уровне от ее поверхности, и поверхностная, которая поступает на площадку в результате дождей, таяния снега. Отвод поверхностных вод осуществляют с помощью системы канав (кюветов) с уклоном для стока воды в заданном направлении от строительной площадки. Если рельеф не позволяет вывести воду с площадки, то создают приемные выемки и устанавливают насосы для перекачки. Мощность насоса должна обеспечивать откачку из котлована всей прибывающей воды. На случай аварии насоса мощность всех установленных насосов (но не менее двух) назначают с двукратным запасом.
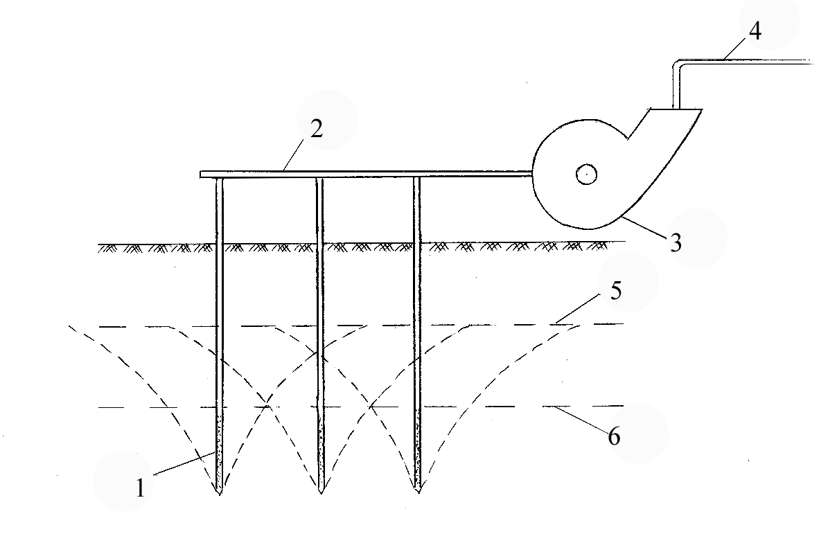
Подземные воды со стройплощадки могут быть отведены временно или постоянно. Временный отвод заключается в понижении уровня подземных вод, как правило, ниже отметок заложения фундаментов на время производства работ. На глубине 5-10 м понизить уровень подземных вод можно с помощью иглофильтров (рис. 3.2). Иглофильтр представляет собой трубу диаметром 38-50 мм с цилиндрическим или коническим наконечником, и перфорированными стенками. Группы погруженных в осушаемый грунт фильтров объединяют общим всасывающим коллектором, который присоединяют к насосу. Воду насосами через напорные трубопроводы откачивают в водоем.

Рис. 3.2. Схема работы иглофильтра:
1 – иглофильтр, 2 – коллектор, 3 – насос, 4 – водовод, 5 – старый уровень грунтовых вод, 6 – новый уровень грунтовых вод
Понижение уровня грунтовых вод до 5 м достигают одноступенчатой установкой. При понижении уровня вод на большую глубину применяют двухступенчатые установки иглофильтров. На большой глубине (до 30 м) понизить уровень подземных вод при рытье котлованов можно центробежными насосами, опущенными в обсадные трубы.
Постоянный отвод подземных вод со строительной площадки осуществляют с помощью дренажей. Дренажи могут быть открытыми и закрытыми. Для этого прорывают канавы и закладывают дренажи. В качестве дренажей наиболее часто применяют: в неглубоких канавах – поверхностные лотки, в закрытых глубоких траншеях – заполнение щебнем, крупнозернистым песком, камнем и другим фильтрующим материалом или уложенные на дно траншеи дренажные трубы (асбоцементные, керамические, керамзитобетонные), в которые собирается грунтовая вода и отводится с участка (рис. 3.3). Ширина дренажных канав при их глубине до 2,5 м составляет 0,8 м, при глубине от 2,5 до 6 м – до 1 м. Трубы укладывают с зазорами в стыках и с уклоном от 0,004 до 0,03 %.

Рис. 3.3. Устройство дренажа:






