Более производительны паровоздушные молоты, гидромолоты, и дизельмолоты. Первые совершают около 300 ударов в минуту, вторые – около 60.
Паровоздушные молоты по характеру использования энергии делятся на молоты простого и молоты двойного действия. Первые состоят из массивного корпуса, внутри которого находится паровой цилиндр. У такого молота рабочий ход происходит под действием силы тяжести ударной части, а энергия пара или сжатого воздуха используется при холостом ходе для подъема ударной части. Паровоздушные молоты двойного действия отличаются от молотов простого действия тем, что энергия пара или сжатого воздуха используется для дополнительного увеличения скорости падения ударной части, что увеличивает силу удара по свае.
Наибольшее распространение получили дизельмолоты, они оригинальны по конструкции, компактны, мобильны, не требуют громоздких котлов и насосных станций, автономны, экономичны.
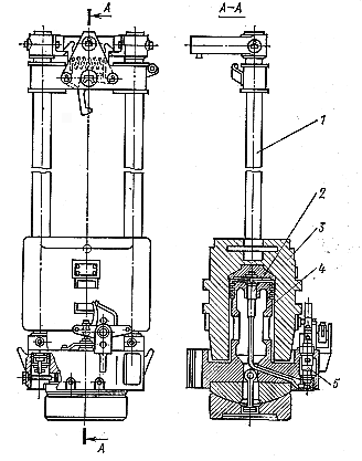
У них один недостаток, понятный из схемы его работы (рис. 5.4) – затруднена забивка свай в слабые грунты.
|
|
|

Рис. 5.4. Дизельмолот:
1 –штанга, 2 – камера сгорания, 3 – цилиндр, 4 – поршень,
5 – система подачи топлива
Вибропогружение осуществляют с помощью вибропогружателей – это по существу вибратор, закрепляемый на верхнем конце сваи, который передает свои колебания свае, а она - грунту, вследствие этого уменьшаются силы трения в зоне контакта сваи и грунта, и свая под воздействием собственного веса и веса установленного на ней погружателя внедряется в грунт.
В зависимости от вида свай и свойств грунта вибропогружатели могут жестко закрепляться на свае или подрессориваться, использовать высокие частоты вибрации (для легких свай) или низкие (для тяжелых). Наиболее эффективен этот метод для грунтов песчаных и водонасыщенных. Применение вибрационного метода для погружения свай в маловлажные плотные грунты возможно лишь при устройстве лидирующих скважин, т. е. при предварительном выполнении другого процесса, требующего буровых механизмов.
При вибрационном погружении в глину или тяжелый суглинок под нижним концом сваи образуется перемятая глинистая подушка, которая вызывает значительное (до 40%) снижение несущей способности сваи. Чтобы устранить возникновение этого явления, сваю погружают на заключительном отрезке длиной 15-20 см ударным методом.
Способы комбинированные представляют собой самые разные комбинации как статических, так и динамических методов: забивка с вибрацией вибромолотами, забивка с подмывом, вдавливание с вибрацией, вдавливание с подмывом и т. д. Наиболее универсальным и часто применяемым из них является погружение с помощью вибромолотов.






