Для разрушения асфальтобетонных покрытий, мерзлых грунтов, скальных пород, элементов конструкций из различных строительных материалов (камня, кирпича, бетона), пробивки отверстий в стенах и перекрытиях и т. п. применяют молотки и бетоноломы. Эти машины относятся к импульсно-силовым с возвратно-поступательным движением рабочих органов (пилы или зубила - у молотков, пики или лопаты - у бетоноломов). Они выполнены по одинаковым принципиальным схемам и отличаются друг от друга энергией удара, которая у электрических молотков составляет от 2 до 25 Дж, а у ломов - 40 Дж при электрическом и 90 Дж при пневматическом приводах. По сравнению с молотками ломы имеют также большую массу. В рабочем состоянии молоток может занимать произвольное положение относительно обрабатываемого материала, а бетонолом - только вертикальное или близкое к нему положение при работе сверху вниз.
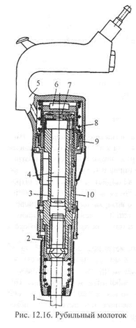
В строительстве применяют преимущественно пневматические машины, которые значительно легче электрических и обладают большей энергией удара. Они менее энергоемки в изготовлении и не требуют использования дорогостоящих материалов, безопасны и просты в обслуживании и ремонте. Их недостатком является низкий КПД и большая стоимость энергии питания. Однако решающую роль в определении себестоимости единицы продукции играют трудовые затраты, определяемые техническими параметрами машины, в том числе массой и габаритами. На рис. 12.16 представлен пневматический рубильный молоток, в котором поступательное движение рабочего органа 1, закрепленного во втулке подвижного ствола 2, обеспечивается за счет ударов по его хвостовику бойком 3, перемещаемым в цилиндрической части 4 ствола путем попеременной подачи в нижнюю и верхнюю полости цилиндра сжатого воздуха. Клапанный механизм 7 воздухораспределения расположен в верхней части ствола. Рукоятка 5 - вместе с корпусом 10 виброизолирована пружиной 8, поступающим в камеру 9 сжатым воздухом и буфером 6.
|
|
|
Отечественная промышленность выпускает молотки с энергией удара от 8 до 56 Дж с частотой соответственно от 40 до 10 Гц и массой от 5,5 до 11 кг.
Для образования глухих и сквозных скважин (горизонтальных, вертикальных, наклонных) в однородных грунтах до IV категории включительно применяют пневматические пробойники (для скважин диаметром от 55 до 300 мм) и раскатчики грунта (для скважин диаметром от 55 до 2000 мм).
Пневматический пробойник (рис. 12.17, а) работает в импульсно-силовом режиме. Он перемещается в грунте за счет возвратно-поступательного движения ударника 4, перемещающегося в корпусе 1 и наносящего удары либо по наковальне (передней части корпуса) - при движении на скважину, либо по задней гайке 10 - при движении из скважины. Движение в прямом направлении (на скважину) обеспечивается подачей сжатого воздуха от компрессора по гибкому шлангу 11 к патрубку 7 и далее, через камеру 6 и окна 5, в полость между ударником и передней частью корпуса - камеру 3. Из-за разности воспринимающих давление сжатого воздуха площадей со стороны камер 6 и 3 ударник перемещается вправо. В конце этого перемещения происходит выхлоп воздуха из камеры 3 через окна 5 в полость 8 и далее, через отверстия амортизатора 9, в атмосферу, вследствие чего ударник сначала останавливается, а затем, с возрастанием давления воздуха в камере 6, перемещается влево, нанося удар по наковальне. Для возвратного движения (из скважины) вращением шланга 11 и соединенного с ним патрубка 7 последний вывинчивают из гайки 10, перемещая патрубок в положение, показанное штриховой линией, увеличивая этим ход ударника в направлении к задней гайке до сообщения окон 5 с полостью 8 так, что выхлоп отработавшего воздуха происходит одновременно с ударом ударника по задней гайке. При перемещении же ударника в направлении передней части корпуса из-за амортизирующего действия находящегося в камере 3 воздуха удара по наковальне не происходит.
|
|
|


Импульсное перемещение пробойника в грунте является результатом разбаланса между генерируемыми ударами активными силами и силами трения корпуса о стенки скважины. При движении ударника в обратном направлении (после удара) этот баланс восстанавливается, и возвратного перемещения всего пробойника не происходит. Поэтому необходимым условием проходки скважины пробойником является наличие сил трения между корпусом и стенками скважины. Этим объясняется, в частности, необходимость имитации указанных сил трения специальными устройствами при запуске машины.
Горизонтальные проколы в грунте выполняют обычно из предварительно отрытых приямков (12.17, б). Для предотвращения самопроизвольного вращения патрубка и изменения вследствие этого направления движения пробойника шланг от компрессора укладывают змейкой и заневоливают. В зависимости от прочности грунта и диаметра скважины последнюю пробивают несколькими проходками пробойника со сменными уширителями 2 (рис. 12.17, а). Для проходки глухих скважин обязателен описанный выше реверс движения пробойника для его извлечения из скважины. В случае сквозных скважин могут быть применены более простые нереверсивные пробойники.
Пробойники применяют также для забивки металлических труб и анкеров, для глубинного уплотнения грунта, рыхления слежавшихся насыпных материалов и других подобных работ.
Основными параметрами пробойников являются: энергия удара на прямом ходу, частота ударов, диаметр и длина скважины, а также скорость проходки. Давление сжатого воздуха составляет от 0,5 до 0,7 МПа, а его удельный расход - от 0,05 до 0,22 (м3/с)/кВт. Пробойники отличаются простотой устройства и обслуживания. Основной недостаток - ограниченная область применения - только в однородных нескальных грунтах немерзлого состояния с каменистыми включениями не более 0,15 м. При работе в неоднородных грунтах, из-за боковых реактивных сил грунта, возможно значительное отклонение пробойника от заданного курса.
Раскатчики грунта (рис. 12.18, а) являются самодвижущимися машинами непрерывного действия, предназначенными для образования скважин в грунте методом его постепенного уплотнения рабочим органом в виде конических катков 3, установленных на шейках эксцентрикового вала 2. Первый (направляющий) каток 4 свободно посажен на ось вала, а все остальные катки, с возрастанием их диаметров от лиддщюго к замыкающему катку, свободно посажены на шейки вала, каждая из которых, а следовательно и ось поддерживаемого ею катка, развернуты относительно предыдущей шейки на угол так, что при вращении вала происходит завинчивание всего устройства в осевом направлении (на скважину) с одновременным уплотнением грунта в стенках скважины обкатывающимися по ним катками. Реактивный момент воспринимается замыкающим катком с ребрами / по его периферии. Вращение валу передается от встроенного в замыкающий каток мотор-редуктора, питаемого электроэнергией от внешнего источника через кабель 5.
|
|
|
В диапазоне диаметров разрабатываемых скважин 55... 250 мм мощность двигателя при скорости проходки 20 м/ч составляет от 0,3 до 5,5 кВт, а масса машины - до 150 кг. Масса наиболее мощных раскатчиков (для разработки скважин 2000 мм) достигает 25 т при мощности двигателя до 270 кВт. Они работают с частичной выемкой грунта, для чего их дооборудуют винтообразной лопастью на замыкающем катке.






