1. Уложить больного на кушетку или операционный стол.
2. Стерильным пинцетом снять старую повязку с раны.
3. С помощью другого стерильного пинцета обработать швы стерильным шариком с раствором антисептика (йодонат, спиртовый раствор хлоргексидина).
4. Захватить узел шва пинцетом и легко потягивая вывести подкожную часть нитки (она обычно белого цвета в отличие от накожной части темного цвета).
5. Подвести острую браншу стерильных ножниц под белую часть нитки и рассечь ее у поверхности кожи.
6. Легко потягивая удалить шов.
7. Каждый снятый шов складывать на маленькую развернутую салфетку, которую в конце процедуры необходимо бросить в таз с грязным материалом.
8. Линию швов обработать раствором антисептика (йодонат, спиртовый раствор хлоргексидина).
9. На линию швов положить стерильную салфетку.
10. Закрепить повязку с помощью бинта, клея или лейкопластыря.
Таблица 2
МЕСТНОЕ МЕДИКАМЕНТОЗНОЕ ЛЕЧЕНИЕ ГНОЙНОЙ РАНЫ
| Фаза заживления раны | Период заживления раны | Метод местного лечения |
| Первая фаза, воспаление | Отторжение погибших тканей | Гипертонические растворы |
| Мази на водорастворимой основе | ||
| Протеолитические ферменты | ||
| Подавление инфекции. | Многокомпонентные мази на водорастворимой основе | |
| Химиопрепараты, антисептики | ||
| Эвакуация содержимого | Дренирование | |
| Гипертонические растворы | ||
| Вторая фаза, регенерация | Подавление инфекции | Мази с химиопрепаратами и антисептиками |
| Рост грануляций | Комбутек, альгинор. Индифферентные мази | |
| Третья фаза, образование и реорганизация | Организация рубца и эпителизация | Индифферентные мази |
| Солкосерил |
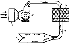
Рисунок 1а.
|
|
|
Принципиальная схема установки для лечения ран в управляемой абактериальной среде.
| 1- входной фильтр; 2- компрессор; 3- бактериальный фильтр; 4,5- изолятор; 6- замок изолятора. |
Рисунок 1б.
Местный гнотобиологический изолятор.
| 1- камера из прозрачной поливинилхлоридной пленки; 2- система стерильного воздухообмена; 3- система крепления изолятора к телу больного; 4- перчатки для манипуляций. |
Рисунок 2.
Схема пассивного дренирования

Рисунок 3.
Вакуумный дренаж по Редону.

Рисунок 4а.
Активный открытый антибактериальный дренаж одной или двумя трубками.

Рисунок 4б.
Послойное дренирование раны несколькими трубками.

Приложение 4






