
Фасад и поперечное сечение балки жесткости
Мост через автодорогу М-25 в Lyne В ВеликобританиИ
Вантовый мост с предварительно напряженной железобетонной главной балкой является первым такого типа в Европе. Он связывает Вирджиния Вотер с Чертси. Исходными условиям были острый угол пересечения и сохранение автодорожного движения по объездной дороге. Стоимость сооружения составила около 500 тыс. фунтов стерлингов.

Рис. 1. Мост через автодорогу М-25 Lyne
Схема моста – два косых пролета равной длины 54,87 м. Ванты полу-арфной системы размещены в двух плоскостях.
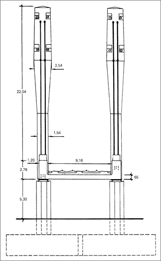
Высота балки жесткости 2,76 м, ширина 11,56 м. Балка представляет собой предварительно напряженный железобетонный лоток. В продольном направлении установлено 8 кабелей, каждый из 119 прядей проволок диаметром 7 мм. Ширина плиты 9,16 м, толщина 0,65 м – достаточно для размещения двух ж.д. путей.
Пилоны образуют с плитой единый блок, который опирается на железобетонные опоры. Опоры имеют поперечное сечение в основании 1,52х1,52 м и уширяются кверху, чтобы обеспечить достаточно места для анкеровки вант и поперечного предварительного натяжения (рис. 2).
|
|
|

Рис. 2. Поперечное сечение на уровне пилона и деталь анкеровки вант
Монтаж конструкций продолжался менее двух лет и осуществлялся в несколько этапов:
– бетонирование главной балки на 13 секциях, с использованием подмостей;
– выставление опалубки и бетонирование пилона по окончании третьей секции;
– балластировка пути и укладка шпал;
– навеска и натяжение вант.
Основные данные:
| Общая длина | 117,44 м |
| Пролеты | 54,87 м, 54,87 м |
| Ширина плиты | 11,56 м |
| Высота плиты | HD = 2,67 м, HD/L = 1/20 |
| Высота пилона | HP = 22,04 м, HP /L = 0,40 |
| Введен в эксплуатацию в 1979 г. |
Вантовый мост через Неву на КАД вокруг Санкт-Петербурга
Новый вантовый мост через Неву (см. рис. 1) в составе Кольцевой автодороги вокруг Санкт-Петербурга – уникальное сооружение, проект которого разрабатывается Институтом Гипростроймост Санкт-Петербург. Уникальность сооружения заключается в том, что это первый за трёхсотлетнюю историю города неразводной мост через Неву, перекрывающий русло реки одним пролётом, который сможет обеспечить постоянную связь между частями города круглогодично, 24 часа в сутки. Кроме того, на конструкцию воздействуют такие нагрузки, величина и характер которых не регламентируется действующими нормативными документами.

Рис. 1. Варианты моста
Первоначальным проектом предусматривалось строительство моста с центральным пролётом 500 метров в районе так называемого Кривого Колена – излучины Невы в районе Рыбацкого. Однако необходимость сооружения моста в сжатые сроки привела к необходимости уменьшения длины центрального пролёта и переноса створа моста вниз по течению в район Уткиной Заводи. Выбор данного расположения объясняется основным требованием речников – в русле реки не должны располагаться постоянные опоры. В Уткиной же Заводи находится стоянка судов речного порта, что позволило разместить правобережные пилоны за причальной стенкой.
|
|
|
После рассмотрения множества вариантов принята следующая схема мостового перехода, удовлетворяющая требованиям ускоренного монтажа. В два этапа (сначала низовой, затем верховой) сооружаются два одинаковых моста с металлическими пролётными строениями 2´66+174+382+174+2´66 метров (в качестве альтернативного рассматривался вариант сталежелезобетонного пролётного строения – так называемой edge-girder system). На сегодняшний день по длине пролёта данный мост входит в 40 наиболее крупных вантовых мостов в мире (см. рис. 2).

Рис. 2. Схема моста
Каждое пролётное строение шириной 25 и высотой 2.5 метра состоит из двух коробчатых продольных балок, соединённых поперечными. В местах крепления вант поперечные балки имеют ту же высоту, что и главные. В остальных сечениях высота поперечных балок меньше. Проезжая часть пролётного строения выполнена в виде ортотропной плиты – стальных листов настила, подкреплённых продольными рёбрами (стрингерами). По краям пролётных строений установлены обтекатели, улучшающие работу пролётного строения на взаимодействие с ветровым потоком. Высота пролётных строений над уровнем воды (подмостовой габарит) составляет 30 метров, что сопоставимо с высотой 9-ти этажного дома.
Пролётные строения предназначены для пропуска 4 полос движения в одну сторону с тротуарами для обслуживающего персонала (пешеходное движение по мосту не предусмотрено). Расстояние между осями мостов – 36.4 метра (см. рис. 3).

Рис. 3. Схема сечения и монтажный блок балки жесткости
Пролётные строения с помощью вант подвешиваются на металлические пилоны высотой 120.5 метров. Для сравнения: высота петербургской телебашни – 316 метров, Петропавловской крепости – 122.5, Исаакиевского собора – 101.5, Адмиралтейства – 72 метра (см. рис. 4).
Фундаменты пилонов из буронабивных свай погружены на глубину от 30 до 40 метров.

Рис. 4. Сопоставление высоты пилонов моста
Для моста была применена система вант из параллельных прядей по монострэндной (однопрядной) технологии, являющейся наиболее современной разработкой в этой области. Поставка вант осуществляется швейцарской фирмой VSL. Каждый кабель формируется из последовательно натягиваемых прядей непосредственно в процессе сооружения моста. Общая длина всех прядей составляет 900 километров, что почти в полтора раза больше расстояния от Петербурга до Москвы
При проведении аэродинамического анализа конструкции Вантового моста институт «Гипростроймост» привлек к проектированию специалистов датской консультационный фирмы COWI и финской компании Consulting Kortes, что позволило провести численное моделирование обтекания конструкции ветровым потоком с использованием компьютерных программ упомянутых фирм. Натурная «продувка» модели моста в аэродинамической трубе производилась в Датском Морском Институте.
Один из участников строительства моста – Мостоотряд-19, некоторые этапы строительства показаны на рис. 5.




Рис. 5. Этапы строительства правобережного и левобережного пилонов моста.
Опоры левобережной эстакады. Стапель для сборки балки жесткости.
Железнодорожный мост через рЕКУ Неккар
Мост с одной ж.д. колеей и главным пролетом 77,0 м перекрывает р. Неккар (Германия) и шлюз под углом 45º. Береговые устои назначены параллельно руслу реки. Главная балка центрального пролета выполнена из стали, на других участках – из железобетона. Стальная конструкция образована из двух продольных балок переменной высоты (2,54 … 3,16 м) и поперечных вставок с шагом 5,67 м (рис. 1). Мост открыт в 1968 г.
|
|
|

Рис. 1. Мост через р. Неккар, схемы

Рис. 2. Мост через р. Неккар
анкеровка вант в главной балке и решение головной части пилона
Основные данные:
| Общая длина | 119,65 м |
| Пролеты | 37,492 и 77,0 м |
| Ширина плиты | 6,10 м |
| Высота плиты | HD= 2,54…3,16 м, HD/L= 1/30 |
| Высота пилона | HP= 18,80 м, HP/L= 0,24 |
| Введен в эксплуатацию в 1968 г. |






