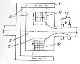
По конструктивному исполнению (рис.46) тормозные устройства делятся на радиальные и осевые.

Рисунок 46. Тормозные устройства электроприводов.
8.1 Электромагниты в качестве привода тормозных устройств.
В качестве привода в тормозных устройствах применяются эл. магниты постоянного и переменного тока.
Эл. магниты различают длинноходовые с повышенным механическим усилием и короткоходовые, имеющие повышенное быстродействие.
Используются тормозные эл. магниты:
- постоянного тока: серии КМП и ВМ – длинноходовые (ход якоря от 40 до 120 мм); серии МП, ТКП – короткоходовые (ход якоря от 3 до 4,5 мм).
- переменного тока:
Трехфазные серии КМТ – длинноходовые (max ход от 50 до 80 мм);
Однофазные серии МО – короткоходовые (ход якоря от 3 до 4 мм).
Катушки эл. магнитов переменного тока включаются параллельно и при их включении имеет место значительные броски тока: серии КМТ Iпуск.н=(10-30)Iн.кон
Серии МО Iпуск.н=(5÷6)Iн.кон
Катушки эл. магнитов включаются одновременно с двигателями и растормаживают тормоз.
|
|
|
При отключении двигателя одновременно обесточиваются катушки эл. магнита и происходит торможение-затяжка тормозов под действием пружины или груза.
8.2 Эл. гидравлические толкатели.
Состоят из двигателя, центробежного насоса и гидроцилиндра с поршнем. Их преимущества по сравнению с тормозами с эл. магнитами:
- повышенная износоустойчивость и отсутствие ударов;
- плавность торможения и меньшая масса;
- меньший расход эл. энергии;
- заклинивание тормозного устройства не приводит к вредным последствиям.
При включении двигателя, насос нагнетает жидкость под поршень. Шток воздействует на тормозное устройство и происходит растормаживание.
При выключении двигателя исчезает давление, и поршень со штоком под действием пружины опускается, что приводит к затормаживанию.
8.3 Эл. магнитные муфты
Управляемые устройства, служащие для соединения и разъединения ведущего и ведомого валов в приводе без остановки двигателя. Муфты имеют три основные разновидности: фрикционные (муфты трения); ферропорошковые; с магнитной связью или гистерезисные.

1- контактные кольца;
2- обмотка;
3- ведущая часть муфты;
4- диски трения;
5- полумуфта;
6- выступ;
7- направляющая втулка;
8- паз;
9- пружина;
10- ведомый вал;
11- ведущий вал
Рисунок 47. Эл. магнитная фрикционная муфта.
Устройство фрикционной муфты показано на рис.47. Валы входят в зацепление за счет кольцеобразных поверхностей трения 4, которые соприкасаются при рабочем перемещении якоря 5 под действием магнитного поля, создаваемого катушкой управления 2. Магнитный поток замыкается через якорь.
Фрикционные диски изготавливаются из износостойких материалов с большим коэффициентом трения (лучшие показатели у металлокерамики).
|
|
|
Расцепление дисков происходит при обесточивании катушки управления под воздействием возвратной пружины 9.
Ферропорошковые муфты
Основаны на использовании способности ферромагнитной смеси «затвердевать» в магнитном поле. Пространство между плоскими поверхностями ведущего и ведомого валов заполнено ферромагнитным порошком с размером частиц 4-50 мкм.
При обесточенной обмотке управления ведомый вал остается неподвижным, т.к. трения между поверхностями относительно невелико.
В магнитном поле обмотки управления вязкость ферромагнитной массы резко возрастает и на ведомом валу появляется вращающий момент.
Магнитогистерезисные муфты
Силы сцепления создаются за счет взаимодействия постоянных магнитов индуктора с полем, созданным активным слоем ротора изготовленного из материала с широкой петлей гистерезиса.
Гистерезисные муфты широко применяются для передачи момента в агрессивную среду, отделенную от окружающей среды металлической немагнитной оболочкой и находящуюся под высоким давлением.
В ряде схем автоматики необходима быстрая остановка привода. В этом случае применяют тормоза на базе гистерезисных муфт.

1 – якорь;
2 – индуктор;
3- магнитная система;
4 – катушка возбуждения;
5- магнитный поток;
6 – контактные кольца.
Рисунок 48. Индукционная муфта.