При соединении колец подшипников с валом и корпусом различные типы посадок обеспечиваются выбором соответствующего отклонения валов и отверстий корпусов.

Рис. 7. Регулировка зазора в подшипнике металлическими прокладками.

Рис. 8. Изменение зазора в подшипнике с помощью регулировочного винта.

Рис. 9. Регулировка зазоров в коническом радиально-упорном подшипнике
В подшипниках качения поле допуска внутреннего кольца располагается не в тело, как это имеет место у основной детали в стандартной системе отверстия, а в противоположную сторону (рис. 10). Поэтому соединение внутреннее кольцо - вал получается более плотным. Поле допуска наружного кольца располагается в теле кольца. Характер соединений наружное кольцо - корпус такой же, как и в обычных соединениях по системе вала.

Рис. 10. Схема расположения полей допусков для подшипников
На посадочные диаметры колец, подшипников установлены следующие обозначения полей допусков: L0, L6, L5, L4, L2 - для отверстий внутреннего кольца по классам точности подшипников;
|
|
|
l0, l6, l5, l4, l2 - для наружного диаметра подшипников по классам точности.
Работоспособность подшипников в значительной степени зависит от характера соединения колец подшипников с валом и корпусом.
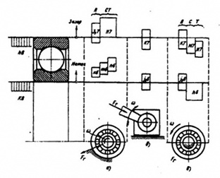
В зависимости от условий работа подшипникового узла или механизма в целом различают местное, циркуляционное и колебательное нагружение колец подшипников. При местном нагружении при вращении подшипника нагрузка направлена и действует на одно и то же место в кольце (наружное кольцо на рис. 11а, внутреннее - на рис. 11 в)
При циркуляционном нагружении за каждый оборот подшипника последовательно нагружаются все участки дорожки качения кольца (внутреннее кольцо на рис. 11а, наружное - на рис. 11 в). При колебательном нагружении нагрузке подвергается определенный участок дорожки качения, протяженность которого зависит от амплитуды колебаний (рис. 11 б).
Посадки выбирают в зависимости от режима нагружения (Л - легкий, С - средний, Т - тяжелый) и вида нагружения (местное, циркуляционное, колебательное) (рис. 11). Циркуляционное нагружение с сопряженными деталями должно осуществляться неподвижной посадкой (с натягом) во избежание обкатывания кольцом сопряженной детали и возникновения контактной коррозии (внутреннее кольцо на рис. 11 а, наружное - на рис. 11 в).
Соединение местнонагруженных колец с сопряженными деталями осуществляется более свободными посадками (наружное кольцо - рис. 11 а, внутреннее - рис. 11 в), что дает возможность кольцам иногда проворачиваться.
При колебательном нагружении обычно для обоих колец выбирают переходные посадки (рис. 11, б).
Подшипники с большими натягами не применяют, поскольку вследствие деформации колец, они не позволяют обеспечить требуемые рабочие зазоры в подшипниках.

Рис. 11. К выбору посадок подшипников качения






