[К4]
4) 2NO2 + 2NH3 −−−−−→ N2 + 3H2O+0,5O2+Q4
t, τ, C
[К5]
5) NO2 + 2H2 −−−−−→ 1/2N2 + 2H2O+Q5
t, τ, C
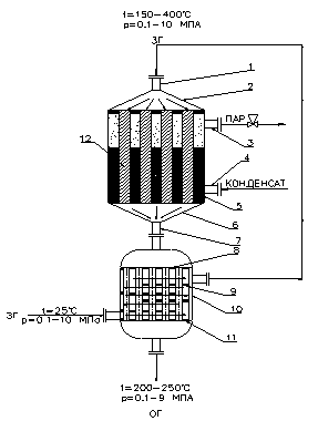
Реактор трубчатого типа (рисунок 10)
| 1, 7 – коллектор ввода и вывода газа; 2, 6 – верхняя и нижняя крышки реактора; 3 – коллектор выдачи пара; 4 – коллектор подачи конденсата; 5 – реактор; 8, 11 – верхняя и нижняя трубные доски; 9 – труба; 10 – рекуперационный теплообменник; 12 – трубы с катализатором. |
Рисунок 10 – Реактор трубчатого типа
АБСОРБЦИЯ [5]
Абсорбция – процесс селективного поглощения токсичных компонентов газа жидкими средами.
Процесс поглощения серного ангидрита протекает по уравнению:
[P]
6) SO3+ H2O−−−−−−→ H2SO4 + Q7 ,
t, τ, C
В результате реакции (6) образуется товарная серная кислота - моногидрат.
Абсорбция классифицируется на две группы:
– физическая;
– химическая.






