Станок-качалка (рис. 5.2) является индивидуальным приводом скважинного насоса.
Основные узлы станка-качалки – рама, стойка в виде усеченной четырехгранной пирамиды, балансир с поворотной головкой, траверса с шатунами, шарнирно-подвешенная к балансиру, редуктор с кривошипами и противовесами. СК комплектуется набором сменных шкивов для изменения числа качаний, т. е. регулирование дискретное. Для быстрой смены и натяжения ремней электродвигатель устанавливается на поворотной салазке.
|
Монтируется станок-качалка на раме, устанавливаемой на железобетонное основание (фундамент). Фиксация балансира в необходимом (крайнем верхнем) положении головки осуществляется с помощью тормозного барабана (шкива). Головка балансира откидная или поворотная для беспрепятственного прохода спускоподъемного и глубинного оборудования при подземном ремонте скважины. Поскольку головка балансира совершает движение по дуге, то для сочленения ее с устьевым штоком и штангами имеется гибкая канатная подвеска 17. Она позволяет регулировать посадку плунжера в цилиндр насоса для предупреждения ударов плунжера о всасывающий клапан или выхода плунжера из цилиндра, а также устанавливать динамограф для исследования работы оборудования.
|
|
|
Амплитуду движения головки балансира регулируют путем изменения места сочленения кривошипа шатуном относительно оси вращения (перестановка пальца кривошипа в другое отверстие). За один двойной ход балансира нагрузка на СК неравномерная. Для уравновешивания работы станка-качалки помещают грузы (противовесы) на балансир, кривошип или на балансир и кривошип. Тогда уравновешивание называют соответственно балансирным, кривошипным (роторным) или комбинированным.
Блок управления обеспечивает управление электродвигателем СК в аварийных ситуациях (обрыв штанг, поломки редуктора, насоса, порыв трубопровода и т. д.), а также самозапуск СК после перерыва в подаче электроэнергии.
Долгое время нашей промышленностью выпускались станки-качалки типоразмеров СК. В настоящее время по ОСТ 26-16-08-87 выпускаются шесть типоразмеров станков-качалок типа СКД табл. 5.1
В шифре, например, СКД8-3,0-4000, указано Д – дезаксиальный;
8 ‑ наибольшая допускаемая нагрузка Рmax на головку балансира в точке подвеса штанг, умноженная на 10 кН; 3,0 – наибольшая длина хода устьевого
|
|
|
штока, м; 4000 – наибольший допускаемый крутящий момент Мкр.max на ведомом валу редуктора, умноженный на 10-2 кН∙м.
Имеющаяся моноблочная конструкция небольшой массы делает возможным её быструю доставку (даже вертолетом) и установку без фундамента (непосредственно на верхнем фланце трубной головки) в самых труднодоступных регионах, позволяет осуществить быстрый демонтаж и проведение ремонта скважинного оборудования.
Таблица 5.1 – Типоразмеры станков-качалок типа СКД
| Станок‑качалка | Число ходов балансира в мин. | Масса, кг | Редуктор |
| СКД3-1,5-710 | 5 – 15 | Ц2НШ-315 | |
| СКД4-2,1-1400 | 5 – 15 | Ц2НШ-355 | |
| СКД6-2,5-2800 | 5 – 14 | Ц2НШ-450 | |
| СКД8-3,0-4000 | 5 – 14 | НШ-700Б | |
| СКД10-3,5-5600 | 5 – 12 | Ц2НШ-560 | |
| СКД12-3,0-5600 | 5 – 12 | Ц2НШ-560 |
Фактически бесступенчатое регулирование длины хода и числа двойных ходов в широком интервале позволяет выбрать наиболее удобный режим работы и существенно увеличивает срок службы подземного оборудования.
Нагрузка на шток, кН (тс) 60 (6)
Длина хода, м 1,2 – 2,5
Число двойных ходов в минуту 1 – 7
Мощность, кВт 18,5
Масса привода, кг 1800
Станки-качалки для временной добычи могут быть передвижными на пневматическом (или гусеничном) ходу. Пример – передвижной станок-качалка «РОУДРАНЕР» фирмы «ЛАФКИН».
ЛЕКЦИЯ 6. УСТЬЕВОЕ ОБОРУДОВАНИЕ
Устьевое оборудование предназначено для герметизации затрубного пространства, внутренней полости НКТ, отвода продукции скважины, подвешивания колонны НКТ, а также для проведения технологических операций, ремонтных и исследовательских работ в скважинах.
В оборудовании устья колонна насосно-компрессорных труб в зависимости от ее конструкции подвешивается в патрубке планшайбы или на корпусной трубной подвеске.
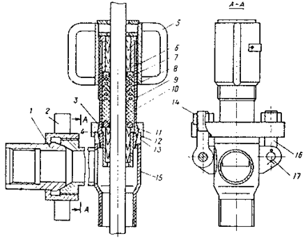
Для уплотнения устьевого штока применяется устьевой сальник типа СУС1 (рисунок 6.1) или СУС2.

Рисунок 6.1 – Устьевой сальник типа СУС1::
1 – ниппель; 2 – накидная гайка; 3 – втулка; 4 – шаровая крышка;
5 – крышка головки; 6 – верхняя втулка; 7 – нажимное кольцо;
8,10 – манжеты; 9 – шаровая головка; 11 – опорное кольцо; 12 – нижняя втулка; 13 – кольцо; 14 – гайка; 15 – тройник; 16 – болт откидной; 17 – палец.






