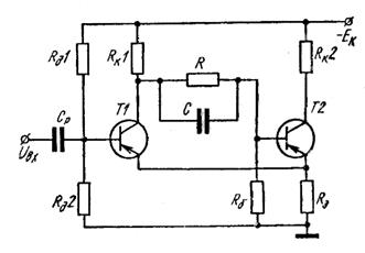
Триггер Шмитта образован двумя транзисторами с общим эмиттерным резистором. Имеется только одна базовая связь через резистор R. Резистор R э обеспечивает положительную обратную связь транзистора Т2 со входом Т1 и одновременно отрицательную связь по току каскада на Т1.
|
Запуск схемы производится по одному входу импульсами чередующейся полярности или медленно меняющимся напряжением. При подаче питающего напряжения Т1 закрыт, при этом Т2 открыт и насыщен. На выходе схемы – низкий уровень напряжения. При открывании Т1
входным сигналом напряжение на его коллекторе падает. Снижается ток базы Т2, проходящий через R, и Т2 переходит в закрытое состояние. Этому способствует падение напряжения на R э от тока Т1. На выходе формируется высокий уровень напряжения.
При запирании транзистора Т1 обратным напряжением, отпирается и насыщается транзистор Т2. За счет этого на выходе формируется задний фронт выходного импульса. Как и в схеме симметричного триггера, конденсатор С служит для ускорения переходного процесса.
Условие насыщения Т1:
R д1 < b R д2 R к1 / (b R э + R д2) (8.14)
Условие запирания Т2:
R б < E к R э / [ I ко (R к1 + R э)] (8.15)
Условие запирания Т1:
R д2 <b R э R к1 E к / [ E к R к2 + b R к1 I ко (R к2 + R э)] (8.16)
Условие насыщения Т2:
R < b R б [ E к R к2 – R к1 I ко (R э + R к2)] / [ E к (R б + b R э)] (8.17)
Необходимо, чтобы R к1 > R к2. Обычно R к1 = (2 – 3) R к2
Амплитуда выходного импульса U макс» E к R к2/(R к2 + R э)
Триггер Шмитта применяется для преобразования синусоидальных напряжений в прямоугольные импульсы, для сравнения амплитуд входных сигналов, а также в качестве порогового элемента.






