Процесс изготовления стержней мало отличается от процесса изготовления форм, поэтому для изготовления стержней применяют те же машины, что и для изготовления форм. В качестве стержневых используют пескодувные (пескострельные), встряхивающие, вибропрессовые машины и пескометы. Поскольку основная номенклатура стержней имеет массу до 100 кг, наиболее широко применяют пескострельные машины как наиболее производительные и наиболее автоматизированные.
При производстве некоторых массовых отливок требуется большое количество одинаковых стержней постоянного сечения простой конфигурации (цилиндрические, призматические и т. д.). В этом случае целесообразно использовать мундштучные машины (рис. 37).
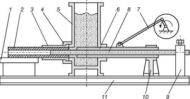
Рис. 37. Мундштучная стержневая машина
|
Мундштучная стержневая машина имеет предельно простую конструкцию. Она состоит из корпуса 5, верхняя часть которого является приемным бункером для смеси, мундштука 3, соединенного с корпусом накидной гайкой 4 и прессующего механизма. Прессующий механизм включает в себя подвижный полый плунжер 6, неподвижный стержень 8 и приводной кривошипно-ползунный механизм 7. Для приема стержня служит приемный стол 1. Для объединения всех элементов машины используются два опорных кронштейна 9 и 10 и основание 11.
|
|
|
При работе машины плунжер 6 запрессовывает стержневую смесь в мундштук 3. Благодаря трению смеси о стенки мундштука и стержень 8 происходит уплотнение смеси и на приемный стол выдавливается готовый стержень 2 некоторой длины. После сушки стержень разрезают на куски необходимой длины. Таким методом получают стержни поперечником от 18 до 100 мм.
Рис. 37. Мундштучная стержневая машина






