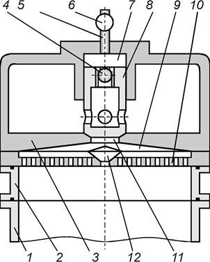
Рис. 33. Пневмоимпульсная головка
|
В настоящее время применяют два вида импульсного уплотнения – пневмоимпульсное и газоимпульсное (взрывное). Соответственно существует два типа импульсных головок. В корпусе 3 пневмоимпульсной головки (рис. 33) помещен клапан 8, перекрывающий выпускное отверстие 11. На нижнем фланце корпуса закреплена решетка рассекателя 10 с дефлектором 12. К нижней поверхности решетки рассекателя прижимается наполнительная рамка 2, поэтому размеры решетки должны соответствовать размерам опоки 1. Полость корпуса 3 служит ресивером для сжатого воздуха, который подводится (в данной конструкции) по трубопроводу 5 через обратный клапан 4. При повороте крана 6 подача воздуха в ресивер прекращается, сжатый воздух из полости 7 над клапаном выходит в атмосферу, под действием давления воздуха в ресивере клапан резко отбрасывается вверх. Сжатый воздух через выпускное отверстие 11 и полость 9 рассекателя попадает в пространство над смесью и уплотняет ее.
|
|
|
Рабочий процесс пневмоимпульсной головки заключается в истечении сжатого воздуха из ресивера в полость рассекателя, а из полости рассекателя в пространство над смесью. Как первый, так и второй процесс описывается сложными дифференциальными уравнениями, которые невозможно решить аналитическими методами.
Площадь выпускного отверстия изменяется в зависимости от пути, пройденного клапаном. Движение клапана описывается уравнением
,
| (85) |
где M и a – масса и ускорение клапана;
p 0, p р и p 1 – давление соответственно в ресивере, полости рассекателя и надклапанном пространстве;
F к, F 0 и F 1 – эффективная площадь соответственно кромки клапана, выпускного отверстия и верхнего торца клапана.
Главными параметрами головки являются: давление p 0 воздуха в ресивере и его объем V 0, площадь F 0 выпускного отверстия, площадь сечения F p, объем V p и конструкция рассекателя. В настоящее время нет апробированной методики расчета указанных параметров, поэтому их определяют эмпирическим путем. Ниже приведены рекомендации Г. А. Гейдебрехова и С. Н. Козлова по подбору указанных параметров.
Выбор давления воздуха в ресивере и объема ресивера зависит от технологически необходимого максимального давления воздуха над смесью и объемов полостей рассекателя и наполнительной рамки. В установках высокого давления используется сжатый воздух под давлением 7¸10 МПа, в установках низкого давления под давлением 0,6¸0,7 МПа. Соответственно в установках высокого давления удельный объем V р/ F оп ресивера (отнесенный к площади опоки F оп) берется равным 0,03¸0,05 м3/м2, в установках низкого давления – равным 0,6¸0,7 м3/м2.
|
|
|
Чем больше площадь F 0 выпускного отверстия, тем выше скорость подъема давления воздуха в пространстве над смесью. Однако при использовании подобных клапанов, с увеличением площади выпускного отверстия растет масса клапана и уменьшается скорость его подъема, определяющим сечением становится сечение зазора между клапаном и седлом. Практически установлено, что для установок высокого давления F 0/ F оп = 0,043¸0,025, для установок низкого давления F 0/ F оп = 0,1¸0,12. Большая относительная площадь отверстия во втором случае объясняется существенно меньшей скоростью истечения газа.
Назначение рассекателя – равномерное распределение потока воздуха по сечению формы. При отсутствии рассекателя струя воздуха выдувает смесь из части формы, противолежащей к выпускному отверстию. Контрлад формы становится неровным, толщина рыхлого слоя увеличивается, иногда обнажается модель. Вместе с тем рассекатель не должен уменьшать интенсивность поступления сжатого воздуха в пространство над смесью. Поэтому, с учетом уменьшения плотности воздуха, сечения полости и отверстий рассекателя должны быть больше сечения F 0 выпускного отверстия. Вместе с тем объем V р полости рассекателя увеличивает общий объем пространства над смесью, а чем больше этот объем, тем больше падает в нем давление газа.
Для импульсных головок высокого давления F р/ F 0 ³ 2,4; V р/ V 0 £ 0,47; для головок низкого давления F р/ F 0 ³ 1,5; V р/ V 0 £ 0,034. Хорошие результаты получают при использовании рассекателя в виде плиты с отверстиями диаметром 10 мм. Если размеры выпускного отверстия близки к размерам опоки (в плане), рассекатель не нужен, что позволяет уменьшить объем ресивера 3 (рис. 33).
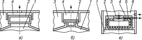
Как уже было сказано, интенсивность подъема давления воздуха над смесью в значительной степени зависит от конструкции клапана. Клапан, показанный на рис. 33, прост по конструкции, хорошо работает в головках высокого давления, где его быстрое открывание обеспечивается большим перепадом давления. В головках низкого давления перепад значительно меньше, поэтому скорость движения клапана невысокая. Для того чтобы обеспечить интенсивный подъем давления, необходимо увеличить диаметр выпускного отверстия, соответственно необходимо увеличить диаметр тарелки 2 клапана (рис. 34, а). Для уменьшения массы тарелки следует уменьшить ее высоту. Между тарелкой и стенкой камеры 4 над клапаном оставляют зазор, чтобы уменьшить силы трения. Поток воздуха, движущийся в зазоре, направляет тарелку и ускоряет ее движение вверх.
Рис. 34. Конструкции клапанов импульсных головок
|
Тарелка 2 клапана, показанного на рис. 34, б, имеет хвостовик 5, перемещающийся относительно выпускного отверстия. При выходе воздуха из камеры 4 клапан 2 движется вверх, постепенно увеличивая скорость. Выпускное отверстие начинает открываться только после того, как хвостовик выйдет из отверстия. В этот момент скорость клапана большая, что и обеспечивает резкое увеличение зазора между клапаном и седлом и быстрое поступление сжатого воздуха из полости ресивера 3 в полость рассекателя 1.
Диафрагменный клапан (рис. 34, в) представляет собой диафрагму 8, расположенную внутри перфорированной горловины 6. Внутри диафрагмы и в полости ресивера 3 находится сжатый воздух. Давление внутри диафрагмы несколько больше давления в ресивере, что обеспечивается раздельным подводом воздуха, поэтому диафрагма прижата к горловине. Для подачи воздуха в полость 1 над опокой клапан 7 открывается, давление внутри диафрагмы и ресивера выравнивается, диафрагма резко сокращается, открывает отверстия горловины, и воздух из ресивера через горловину устремляется в полость 1.
|
|
|
В формовочных машинах для крупных опок применяют многоклапанные головки с несколькими ресиверами, смонтированными на общей плите.
Представляет интерес конструкция импульсной головки ВАРИО ИМПУЛЬС (рис. 35).
Основными узлами головки являются воздушный ресивер 1, импульсный клапан 2 с широкой тарелкой 3 и дроссель 4. Особенность конструкции клапана заключается в том, что в плите-рассекателе 4 и тарелке клапана 3 выполнены отверстия, не совпадающие друг с другом. Поэтому, когда тарелка прижата к плите, воздух из ресивера не попадает в форму. Для того чтобы выровнять плотность столбов смеси над моделью и вокруг нее предусмотрен дроссель 5 в виде плиты с отверстиями.
Рис. 35. Импульсная головка ВАРИО ИМПУЛЬС фирмы БМД
|
Работает машина следующим образом. После засыпки формовочной смеси опока 7 с наполнительной рамкой 6 прижимается к импульсной головке. Тарелка клапана поднимается, полости ресивера и опоки сообщаются, создается волна давления воздуха, которая мгновенно уплотняет смесь. Поскольку над центральной частью формы расположен дроссель, давление здесь нарастает несколько медленнее, чем вокруг модели. Поэтому зона вокруг модели уплотняется интенсивнее, чем над моделью.
После уплотнения давление в ресивере сбрасывается, и полуформа с наполнительной рамкой и моделью опускаются. При движении вниз специальными устройствами сначала останавливается наполнительная рамка, затем полуформа и после извлечении модели 8 из формы – модельная плита 9. Так осуществляется протяжка модели.
Известна следующая конструкция автоматов линии фирмы G. Fischer (Швейцария). Опоку 1 (рис. 36) прижимают к головке 2, которая одновременно выполняет функции наполнительной рамки. Над головкой установлен бункер 3, устье которого закрыто жалюзийным затвором 4. Жалюзи открывают, и формовочная смесь из бункера сыплется в опоку и наполнительную рамку. Затем жалюзи поворачивают в исходное положение, плотно закрывая камеру 8. Камера 8 соединена с камерой 6, в которую подается газ. Масса газа зависит от давления и времени открытия клапана 5. Газовоздушную смесь поджигают электрической искрой. Начинается быстрое горение газа, давление газа в камерах 6 и 8 резко возрастает; происходит импульсное уплотнение смеси. Максимальное давление газа над смесью в момент сгорания в описанной головке 0,45¸0,5 МПа; время подъема давления 0,005 с.
|
|
|
Рис. 36. Газоимпульсная головка
|
В камере 6 установлен вентилятор 7, который перемешивает газовоздушную смесь и направляет ее в импульсную головку. Частоту вращения вала вентилятора можно изменять, регулируя тем самым степень перемешивания газовоздушной смеси и равномерность ее распределения по камерам 6 и 8. В результате изменяется интенсивность роста давления, максимальное давление и, следовательно, плотность формы. Максимальная частота вращения вала вентилятора достигает 33 с-1 (1980 об/мин).
Обычно в газоимпульсных установках используют пропан-бутановые смеси, ацетилен, смесь метана с воздухом и кислородом. Наибольшее распространение получила горючая смесь метана и сжатого воздуха. Для уплотнения одной полуформы требуется газ в объеме (при нормальном давлении), равном 20¸25 % объема полуформы, и сжатый воздух под давлением 0,2¸0,25 МПа в количестве, равном 1,6¸2 объема полуформы. В качестве горючих веществ было также предложено использовать порох, бензин, дизельное топливо, угольную или древесную пыль. Резко повысить газовое давление можно, пропуская электрический ток через проводник, который при этом испаряется, или, создавая дуговой разряд между двумя электродами, к которым проводится ток высокого напряжения.
Рис. 33. Пневмоимпульсная головка
,
Рис. 34. Конструкции клапанов импульсных головок
Рис. 35. Импульсная головка ВАРИО ИМПУЛЬС фирмы БМД
Рис. 36. Газоимпульсная головка






