Целью гидравлического расчета водопроводной сети является определение экономически наивыгоднейших диаметров труб d, мм и потерь напора на ее участках h, м.
Гидравлический расчет водопроводной сети производится в следующей последовательности [ 1 ].
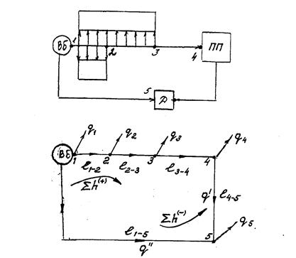
1. Составляется расчетная схема сети. Для этого магистральную сеть разбивают на расчетные участки с нанесением узлов (рис. 10).

Рис. 10. Расчетная схема для гидравлического расчета водопроводной сети.
Узлы сети намечают в точках отбора воды крупными потребителями, в местах устройства пересечений или ответвлений магистральных линий, в точке присоединения напорных водоводов с водонапорной башней.
2. Определяется удельный расход воды - расход, приходящийся на единицу длины сети (на 1 погонный метр). Удельный расход воды определяется для населения, полива улиц и зеленых насаждений, исключая расход воды отдельными крупными потребителями:
qуд =
, л/с на 1 п.м., (15)
где Σ l1 – суммарная длина линий с односторонней отдачей воды (l2-3); Σ l2 – суммарная длина линий с двухсторонней отдачей воды (l1-2), принимается с коэффициентом 2.
|
|
|
3. Определяются путевые расходы воды - расход на каждом расчетном участке сети (равномерно распределенный расход воды):
qпут = qуд · l, л/с, (16)
где l – длина расчетного участка, м.
Пример:
qпут (1-2) = qуд 2l1-2;
qпут(2--3) = qуд l2-3 и т.д.
4. Определяются узловые расходы воды - расход в каждом узле расчетной схемы:
qузл = 0,5Σ qпут, л/с, (17)
где Σ qпут - сумма путевых расходов воды, примыкающих к данному узлу, л/с.
Пример:
q1 = 0,5(q1-2 + q1-5);
q2 = 0,5(q1-2 + q2-3) и т.д.
5. Определяются сосредоточенные расходы воды крупными потребителями (например, промышленным предприятием, железнодорожным депо):
, л/с, (18)
где qп – расходы воды на единицу продукции, л/сут; Nп - количество выпускаемой продукции в сутки.
6. Проводится предварительное потокораспределение воды по расчетным участкам сети. Распределение потоков воды рекомендуется производить в направлении от конечных расчетных участков сети к начальным. С этой целью на сети определяется точка встречи потоков – узел, в котором узловой расход воды делится пополам и направляется по прилегающим расчетным участкам.
Пример:
Для схемы, представленной на рис. 10, точкой встречи потоков является узел 5, в котором узловой расход q5 делится пополам, л/с:
q5 = q5′ + q5′ ′
и направляется по прилегающим расчетным участкам сети, тогда:
q4-5 = q5′;
q1-5 = q5 ′′;
q3-4 = q5′ + q4;
q2-3 = q5′ + q4 + q3 и т.д.
7. Определяются экономически наивыгоднейшие диаметры труб d (мм) и гидравлический уклон i. Эти величины принимаются по [ 7 ] с использованием расчетных расходов, полученных путем предварительного потокораспределения воды по участкам сети.
|
|
|
Определяются потери напора по длине на каждом расчетном участке сети:
hl = i·l, м.вод.ст, (19)
где i - гидравлический уклон, т.е. потери напора воды на 1-ом погонном метре сети.
Пример:
h1-2 = i·l1-2 ;
h2-3 = i·l2-3 и т.д.
Определяются общие потери напора воды на каждом расчетном участке с учетом потерь по длине и местных потерь напора в фасонных частях и арматуре:
h = hl + hм, м. (20)
Для простоты и удобства расчета используется формула:
h = (1,05…1,1) i·l, м, (21)
где 1,05…1,1 – поправочные коэффициенты, учитывающие местные потери
напора, принимаемые равными 5…10% от величины потерь по длине.
8. Производится увязка кольца сети по формуле:

0,5 м, (22)
где Σ h (+) - сумма потерь напора на участках, расходы воды которых, направлены по часовой стрелке, м; Σ h (-) - сумма потерь напора на участках, расходы воды которых, направлены против часовой стрелки, м.
Пример:
Для схемы сети, представленной на рис. 10:
Σ h (+)= h1-2 + h2-3 + h3-4+ h4-5;
Σ h (-) = h1 –5.