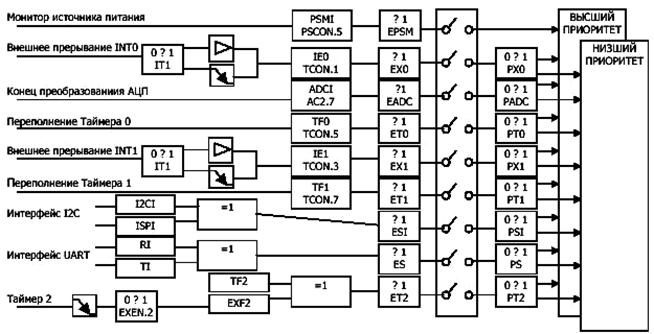
В микроконверторе поддерживается 9 прерываний с двумя уровнями приоритета.
Таблица. Источники прерывания и вектора обработчиков прерывания.
| Прерывание | Наименование источника прерывания | Адрес вектора | Приоритет прерывания |
| PSMI | Монитор источника питания | 43h | |
| IE0 | Внешнее прерывание INT0/ | 03h | |
| ADCI | Завершение преобразования АЦП | 33h | |
| TF0 | Переполнение таймера/счетчика 0 | 0Bh | |
| IE1 | Внешнее прерывание INT1/ | 13h | |
| TF1 | Переполнение таймера/счетчика 1 | 1Bh | |
| I2CI/ISPI | Прерывание последовательного интерфейса | 3Bh | |
| RI/TI | Прерывание УАПП | 23h | |
| TF2/EXF2 | Прерывание от таймера/счетчика 2 | 2Bh |

Рис. Система прерываний ADuC812.
При возникновении прерывания от одного из источников (если прерывание от данного источника разрешено соответствующими битами в регистре IE или IE2) прерываний происходит останов выполняющейся программы и переход на обработчик прерывания установленный по соответствующему вектору. Начинает выполняться код обработчика прерывания. Возвращение к выполнению основной программы происходит после выполнения команды RETI. Ход выполнения основной программы продолжается с того места, где было прервано. По команде RETI очищается также соответствующий флаг прерывания.






