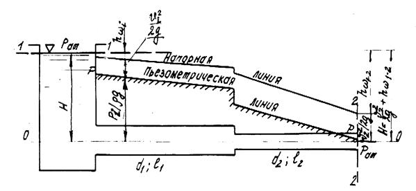
Исходными уравнениями для гидравлического расчета являются уравнение Бернулли и уравнение неразрывности. Рассмотрим истечение жидкости из простого короткого трубопровода в атмосферу. Напишем уравнение Бернулли для сечения 1–1 и 2–2 относительно плоскости отсчета 0–0 (рис.7):
.

Рис.7
Обозначая
и учитывая, что
,
;
, получим:
, (7.20)
где
.
Таким образом, при истечении жидкости в атмосферу часть действующего напора Н преобразуется в скоростной напор, а часть затрачивается на преодоление гидравлических сопротивлений на участке между рассматриваемыми сечениями 1–1 и 2–2.
Выражая потери по длине и в местных сопротивлениях общими формулами

и выражая все потери через скорость
, получим
.
Решая это уравнение относительно скорости
, получим:
,
а для расхода
,
где

может быть назван коэффициентом расхода трубопровода.
Если участки трубопровода имеют большую длину, то местными потерями или пренебрегают, или учитывают способом эквивалентной длины трубы. Согласно этому способу местные сопротивления с потерей напора
заменяют в расчете участком трубы длиной
, выбираемой так, чтобы потеря по длине на ней равнялась бы
. Тогда из условия

находят эквивалентную длину







