Истечение жидкости через малые отверстия и насадки при постоянном напоре
Контрольные вопросы
1. Что такое местное сопротивление?
2. Как определяются потери напора в местных сопротивлениях?
3. От чего зависит величина коэффициента местных потерь?
4. Почему опытный коэффициент отличается от табличного?
5. В чем состоит принцип наложения потерь?
6. Как влияет вязкость жидкости на коэффициент сопротивления?
Лабораторная работа №8
Цель работы: Определить среднее значение коэффициентов истечения m, e, j, x и сравнить их с табличными данными.
На практике часто приходится встречаться с истечением жидкости через различные отверстия и насадки. При этом характер истечения существенно зависит от условий истечения.
Задача об истечении сводится к определению скорости истечения и расхода вытекающей жидкости. Наиболее просто и точно эта задача решается в случае, когда напор одинаков по всему поперечному сечению отверстия. Это условие выполняется при истечении жидкости из малых отверстий.
«Малым отверстием» называется такое отверстие, линейный размер которого не превышает 0,1Н, где Н – напор жидкости над центром тяжести отверстия, Рн = Рк (рис. 8.1).
Если линейный размер d отверстия значительно больше толщины стенки d, в которой оно сделано (d > 3d), то такое отверстие называется отверстием в тонкой стенке. При этом считается, что края отверстия имеют острую кромку и при прохождении жидкости через такие отверстия практически отсутствуют потери напора на трение.
При образовании струи, вытекающей из отверстия, имеет место ее сжатие на расстоянии (0,5¸1,0)d от дна стенки или сосуда (рис. 8.1, а, б).

Рис. 8.1. Истечение жидкости из отверстий
Отношение площади сжатого сечения струи wс к площади отверстия w0 называется коэффициентом сжатия струи e.
e = wс/w0, (8.1)
Применив уравнение Бернулли к двум сечениям Н-Н (свободная поверхность жидкости в сосуде)и С-С (сжатое сечение), получим формулу для определения скорости движения жидкости при Н = const
, (8.2)
где Н - напор жидкости над отверстием;
– коэффициент скорости для отверстия;
z – коэффициент сопротивления отверстия, учитывающий потери напора от сечения Н-Н до сечения С-С.
Расход жидкости, вытекающей из отверстия, определяется по формуле
Q = wc×Vc. (8.3)
Подставляя в (8.3) значения wc и Vc, определенный из (8.1) и (8.2), получим:
, (8.4)
где m = ej, m - коэффициент расхода.
Величины коэффициентов e, j, z, m зависят от формы отверстия и режима движения жидкости, определяемого числом Rе.
Рассмотрим процесс истечения жидкости через насадок.
Насадком называется короткий патрубок, присоединенный к отверстию, длина которого составляет l = (8¸4)d, где d – диаметр выходного отверстия в стенке.
В технике применяются следующие типы насадков (рис.8.2): цилиндрические, конические, коноидальные.

Рис. 8.2. Типы насадков:
1 – цилиндрический внешний; 2 – цилиндрический внутренний; 3 – конический сходящийся; 4 – конический расходящийся; 5 – коноидальный
Цилиндрические, конические сходящиеся и коноидальные насадки способствуют увеличению расхода вытекающей жидкости, по сравнению с истечением из отверстия. Это объясняется тем, что при входе в насадок происходит сжатие струи, а затем постепенное ее расширение с заполнением всего сечения насадка. Вследствие сжатия струи в насадке образуется вакуум, при этом возрастает действующий напор, т.к. истечение происходит не в атмосферу, а в область вакуума (рис.8.3).
Скорость вытекающей из насадка жидкости определяется по формуле
, (8.5)
где
- коэффициент скорости для насадка; x н - коэффициентсопротивления насадка.

Рис. 8.3. Истечение жидкости через насадок
Формула для определения расхода Q при истечении жидкости из насадка имеет вид
, (8.6)
где w0 - площадь сечения выходного отверстия насадка; m - коэффициент расхода, величина которого зависит отвида насадка или его конфигурации;
– приведенный напор.
Коэффициенты j, e, z, m определяются опытным путем, их средние значения приведены в справочной литературе по гидравлике.
2. Описание экспериментальной установки и порядок проведения опытов
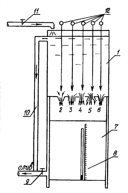
Лабораторная установка (рис. 8.4) состоит из напорного бака, в дне которого выполнено отверстие 4 диаметром 12,5 мм и смонтированы 4 насадка: конический сходящийся 2, внешний цилиндрический 3, конический расходящийся 5 и коноидальный 6. Нижняя часть установки представляет собой мерный бак 7, оборудованный водомерным стеклом 8. Для открытия и закрытия насадков и отверстия служат металлические стержни 12, верхний конец которых изогнут в виде кольца, а на нижнем закреплена резиновая пробка. Подача воды в напорный бак осуществляется через трубопровод 11. Слив жидкости из мерного бака по окончании опытов проводится через кран 9. Для поддержания постоянного уровня в напорном баке установка оборудована обводной трубой 10.
