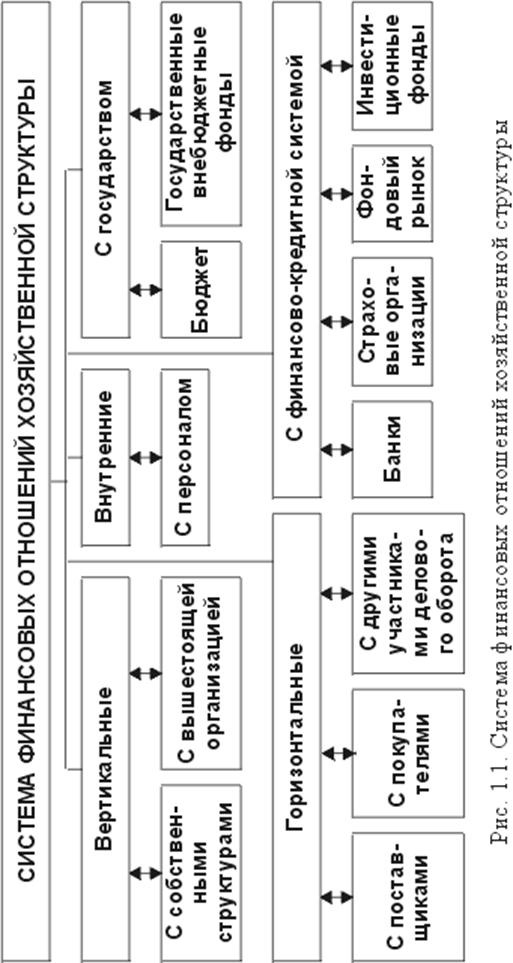
Структура финансовых отношений на предприятии (связи-системы)

7. Планирование:
- разработка финансовой стратегии предприятия; формирование системы целей и основных показателей деятельности организации на долгосрочный и краткосрочный период; определение приоритетных задач, проведение долгосрочного и краткосрочного финансового планирования; составление бюджета предприятия;
- формирование ценовой политики; прогнозирование продаж; анализ экономических факторов и конъюнктуры рынка;
- налоговое планирование.
8. Формирование структуры капитала и расчет его цены:
- определение общей потребности финансовых ресурсов для обеспечения деятельности организации; формирование и анализ альтернативных источников финансирования; формирование оптимальной финансовой структуры капитала, обеспечивающей минимизацию его стоимости и достаточную финансовую устойчивость предприятия;
- расчет цены капитала;
- формирование эффективного потока реинвестируемой прибыли и амортизационных отчислений.
9. Разработка инвестиционной политики:
- инвестиционный анализ;
- формирование важнейших направлений инвестиционной деятельности предприятия; оценка инвестиционной привлекательности отдельных проектов и финансовых инструментов, отбор наиболее эффективных из них;
- формирование инвестиционного портфеля и управление им.
10. Управление капиталом:
- выявление реальной потребности в отдельных видах активов и определение их суммарной стоимости, исходя из предполагаемых темпов и объемов деятельности предприятия;
- формирование структуры активов, отвечающей требованиям ликвидности предприятия;
- работа с ценными бумагами;
- повышение эффективности комплексного использования оборотного капитала;
- контроль и регулирование денежных операций; анализ денежных потоков;
- поддержание связей с инвесторами.
11. Анализ финансовых рисков:
- определение основных финансовых рисков, присущих финансово-хозяйственной и инвестиционной деятельности организации;
- анализ и прогнозирование финансовых и предпринимательских рисков;
- разработка путей снижения рисков; формирование системы мероприятий по профилактике и минимизации финансовых рисков.
12. Оценка и консультации:
- координация и контроль исполнения управленческих решений в рамках финансового менеджмента;
- организация системы мониторинга финансовой деятельности, реализации отдельных проектов и управление финансовыми результатами;
- корректировка финансовых планов, бюджетов отдельных подразделений;
- проведение консультаций с руководителями других подразделений предприятия и разработка для них рекомендаций по вопросам организации финансовых и торговых операций.






