Контрольные вопросы
Системы вентиляции. Вентиляционные системы предназначены для обеспечения нормальных санитарно - гигиенических условий воздушной среды в производственных помещениях. В зависимости от выполнения функций приточные и вытяжные системы, а также системы воздушно-тепловых завес.
Кондиционеры с рециркуляцией. Возврат части воздуха из помещения в начальный участок воздухопровода позволяет значительно сократить расход тепла и холода на кондиционирование. Такие схемы нашли применение в тех случаях, когда в помещении не выделяются вредные газы.
Схемы управления кондиционером с рециркуляцией приведены на рис. 6.18. Стабилизация температуры точки росы в холодный период года по данной схеме осуществляется регулятором температуры 2в изменением соотношения расходов наружного и рециркулирующего воздуха, Поддержание гидродинамического режима в помещении достигается одновременным изменением положения заслонки 2в на рециркуляционной линии и положения заслонки 2д на вытяжной линии.
В летний период температура точки росы поддерживается изменением расхода хладоносителя в оросительную камеру. Однако для экономии холода предусмотрен позиционный регулятор 1б, который при наружной температуре, превышающей заданное значение температуре, превышающей заданное значение температуры в помещении, открывает заслонку 2в и прикрывает заслонку 2г до определённого предела, обеспечивающего приток наружного воздуха в соответствии с санитарной нормой.
Температура воздуха в помещении стабилизируется регулятором 36 путём изменения расхода теплоносителя.
Кондиционируемое помещение
Рис.6.18. Схема управления системой кондиционирования с рециркуляцией
Системы приточной вентиляции. Эта система обеспечивает подачу свежего воздуха определённой температуры в производственные помещения с помощью калорифера и вентилятора (рис.6.19, а). Основным параметром регулирования этих систем является температура воздуха после вентилятора. Регулирование осуществляется путем изменения расхода горячей воды, подаваемой из теплосети. Одной из серьёзных проблем при автоматизации плиточных систем является защита калорифера от замерзания в зимнее время. Для этой цели предусматриваются два термометра сопротивления с позиционными регуляторами температуры. Один из термометров устанавливается на начальном участке воздуховода, другой - на трубопроводе воды после калорифера. Если температура воздуха ниже 3 - 4°С, a температура воды ниже 20-30°С, позиционные регуляторы срабатывают, включают вентилятор, закрывают заслонку на воздуховоде и открывают клапан на трубопроводе воды. При рабочем отключении вентилятора система защиты осуществляет периодическое прогревание калорифера пропусканием горячей воды.
Если в качестве теплоносителя используют пар то в калорифере нагревается только часть воздуха. Другая часть направляется непосредственно во всасывающую магистраль вентилятора. Регулирующие воздействия в этом случае будут вноситься изменением соотношения расходов основного и байпасируемого потоков воздуха. Система защиты при таком регулировании должна обеспечить закрывание клапана на магистрали пара при полном закрывании заслонки основного потока воздуха (или предотвращения перегрева незначительной части воздуха, который будет проникать через закрытую заслонку).
На рис.6.19, б показана схема регулирования электрокалорифера с четырьмя секциями равной мощности. Два позиционных регулятора осуществляют включение и выключение секций в зависимости от температуры воздуха за вентилятором. Точность такого регулирования 6оC. Достоинство систем с электрокалорифером отсутствие необходимости в устройствах защиты от замерзания.
В отдельных случаях приточная вентиляция обеспечивает воздушное отопление производственных помещений за счёт нагревания воздуха в нескольких последовательно установленных калориферах до 40-50оС. Заданная температура воздуха в помещении поддерживается регулятором температуры, изменяющим расход горячей воды в калориферы, Регулирующие клапаны на трубопроводах горячей вода настроены таким образом, чтобы при повышении температуры воздуха в помещении сначала закрывался регулирующий клапан в помещении сначала закрывался регулирующий клапан последнего калорифера, и только в том случае, если этого недостаточно, в работу включались бы клапаны предыдущих калориферов.
В промышленности применяют и более сложную систему управления приточной вентиляцией - путём изменения производительности вентилятора в зависимости от температуры наружного воздуха. Если температура наружного воздуха уменьшиться ниже того значения, которое было принято при отсчёте калорифера, то регулятор температуры пропорциональности уменьшит расход воздуха, и наоборот.
Для экономии тепла в отдельных случаях воздуха после помещения частично возвращают в воздуховод перед калорифером. Температура воздуха после вентилятора при наличии рецикла стабилизируется путем изменения соотношения расходов наружного и рециркулирующего воздуха

Рис.6.19. Схема управления системой приточной вентиляции а) - с калорифером обогреваемым горячей водой б) - с электро калорифером: 1 - воздушный фильтр, 2 - калорифер, 3 – вентилятор
Системы вытяжной вентиляции. При автоматизации вытяжных систем решается задача защиты вентилятора от "опрокидывания" при его остановке. В момент "опрокидывания" вытяжная, система начинает работать на приток за счёт разрежения в помещении. Это тем более нежелательно в случае общего (на несколько вытяжных систем) выходного воздухопровода, так как в момент "опрокидывания" в помещение могут проникать вредные газы. Для исключения "опрокидывания" на воздухопроводе вытяжной системы устанавливают заслонку, которая блокируется с электродвигателем вентилятора. При установке вентилятора заслонка закрывается и перекрывает вытяжной воздухопровод.
Если вытяжная система обслуживает помещения, в которых могут находиться особо опасных вещества, необходима установка резервного вентилятора. В автоматическом режиме при непредусмотренной остановке рабочего вентилятора срабатывает реле потока воздуха, установленное на его воздухопроводе; оно дает сигнал на включение резервного вентилятора и открытие его заслонки.
Если помещение, обслуживаемое вытяжной системой, оборудовано и приточной вентиляцией с регулируемой производительностью, одновременно должна изменяться производительность и вытяжной системы. С этой целью на вытяжном воздухопроводе устанавливают заслонку, на которую подаётся регулирующее воздействие от регулятора, изменяющего расход воздуха приточной системы.
Системы воздушно-тепловых завес. Эти системы предназначены для стабилизации температуры в производственных помещениях с часто открываемыми грузовыми воротами (рис.6.20). Работает система управления завесой следующим образом. При открывании ворот срабатывает конечный выключатель, который даёт сигнал на включение вентилятора завесы и открытие трубопровода теплоносителя. Воздух, нагретый в калорифере, поступает в определённом направлении в зону ворот и преграждает путь холодному атмосферному воздуху в помещение. Расход воздуха, подаваемого в завесу, регулируется в зависимости от температуры наружного воздуха, Это значительно сокращает потери тепла в летнее время. Отключение тепловой завесы производится по сигналу того же конечного выключателя при закрытии ворот.
Рис. 6.20. Схема управления воздушно-тепловой завесой: 1 - калорифер; 2 - вентилятор; 3 - направляющие сопла
Современное исполнение системы автоматизации установок аспирации и газоочисток производится на той же приборной основе, что и печных агрегатов. Это и измерительная часть и микропроцессорные средства автоматического контроля и регулирования с подключением отдельных ПМК к общей управляющей вычислительной машине печной агрегат или несколько из них.
На рис.6.21 представлена функциональная схема автоматизации управления секцией рукавных фильтров, в табл.6.2 приведена спецификация к данной схеме.
На рис.6.22 показана функциональная схема автоматизации управления слоевым фильтром, в табл.6.3 приведена спецификация к этой схеме.
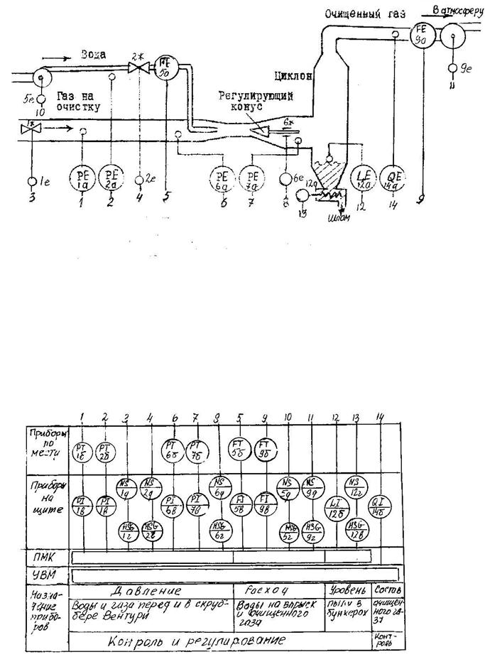
На рис.6.23 приведена функциональная схема автоматизации управления скруббером Вентури, а в табл.6.4 спецификация к ней.
На рис.6.24 изображена функциональная схема автоматизации управления аспирацией и газоочисткой с помощью, соответственно, электрофильтра и скруббера Вентури, в табл.6.5 – спецификация к системе.
На рис.6.25 представлена функциональная схема автоматизации управления работой электрофильтром, а в табл.6.6 приведена спецификация к ней.

Рис.6.21.Функциональная схема системы автоматического управления секции рукавных фильтров
Формат | Зона | Позиция | Обозначение | Наименование | Количество | Примечание |
Рис.6.22.Функциональная схема системы автоматического управления газопылеочистной установки на слоевом фильтре: I- электропечь; II- фильтр слоевой; III, XII- винтовой конвейер; IV- дымосос; V- элеватор; VI- бункер приёмный; VII- течка; VIII- тележка; IX- бадья; X- бункер промежуточный; XI- грохот; XIII- привод; XIV- камера дожигания СО; XV- камера закаливания
Формат | Зона | Позиция | Обозначение | Наименование | Количество | Примечание |
Рис.6.23.Функциональная схема системы автоматического управления одной секции газопылеочистной
установки скрубберов Вентури
Формат | Зона | Позиция | Обозначение | Наименование | Количество | Примечание |
Рис.6.24.Функциональная схема автоматизации установок аспирации с электрофильтром и газопылеочистки дуговой печи со скруббером Вентури: I-электропечь; II-эксгаустер; III-циклон - промыватель с трубой Вентури; IV-каплеуловитель; V- электрофильтр; VI- пылеуловительный зонд; VII- боров; VIII- устройство дожигания СО
Формат | Зона | Позиция | Обозначение | Наименование | Количество | Примечание |

Рис.6.25.Функциональная схема автоматизации управления электрофильтром
Формат | Зона | Позиция | Обозначение | Наименование | Количество | Примечание |
Формат
Формат
Формат
Формат
Формат