Элементная база современных радиоэлектронных устройств.



























Усилители электрических сигналов, автогенераторы, радиопередатчики,
Радиопередатчик
устройство (комплекс устройств), служащее для получения модулированных электрических колебаний в диапазонах радиочастот с целью их последующего излучения (антенной (См. Антенна)) в виде электромагнитных волн. Р. — важнейшая составная часть систем и устройств передачи информации посредством радиоволн: систем и устройств, применяемых в радиосвязи (См. Радиосвязь),телевидении (См. Телевидение),радиовещании (См. Радиовещание),радиолокации (См.Радиолокация),радионавигации (См. Радионавигация) и др. отраслях техники (см., например, Передающий радиоцентр,Приёмо-передающая радиостанция), а также используемых в научных экспериментах. Р. различают по диапазону рабочих волн (см. Радиоволны), мощности колебаний, подводимых к антенне (до 100 вт — маломощные, от 100 вт до 10 квт — средней мощности, от 10 квт до 1 Мвт — мощные и свыше 1 Мвт — сверхмощные), роду работы (телеграфные, телефонные и др.), способу модуляции (с амплитудной, частотной, фазовой или др. модуляцией), типу генераторных электронных приборов (ламповые, транзисторные, магнетронные, клистронные и т.п.), назначению (связные, вещательные, локационные, телевизионные и т.п.), мобильности (стационарные, передвижные).
|
|
|
Простейший (однокаскадный) Р. содержит генератор с самовозбуждением, преобразующий энергию постоянного (реже переменного) тока в энергию радиочастотных колебаний (см. Генерирование электрических колебаний), и Модулятор, а также источник электропитания. Однако Р., работающие в диапазонах дециметровых и более длинных волн (особенно Р. средней и большой мощности), обычно состоят из нескольких каскадов, выполняющих различные функции. Многокаскадность Р. вызвана главным образом требованием получения достаточно мощных колебаний с высокой стабильностью несущей частоты (допустимый уход частоты обычно лежит в пределах 10-6—10-9). Применение различных методов стабилизации частоты (См.Стабилизация частоты) обычно позволяет получать достаточно стабильные колебания лишь в маломощном генераторе с самовозбуждением (называемым задающим генератором (См. Задающий генератор)), работающим на частоте, как правило, более низкой, чем рабочая частота Р. Тогда в последующих каскадах Р. (умножителях частоты (См. Умножитель частоты)) производится её умножение. При особо высоких требованиях к стабильности частоты сразу после задающего генератора ставят т. н. буферный каскад, защищающий задающий генератор от обратного воздействия последующих, более мощных каскадов Р. Для увеличения мощности колебаний применяют каскад (или каскады) предварительного усиления напряжения и мощности колебаний, который возбуждает выходной мощный каскад Р., называемый генератором с независимым возбуждением. Изменением того или иного параметра Р. осуществляют модуляцию колебаний (См. Модуляция колебаний) радиочастоты. Модулированные колебания через цепи связи передаются в антенну, кабельную или проводную линии связи.
|
|
|
Антенна
устройство для излучения и приёма радиоволн. Передающая А. преобразует энергию электромагнитных колебаний высокой частоты, сосредоточенную в выходных колебательных цепях радиопередатчика, в энергию излучаемых радиоволн. Преобразование основано на том, что, как известно, переменный электрический ток является источником электромагнитных волн. Это свойство переменного электрического тока впервые установлено Г. Герцем в 80-х гг. 19 в. на основе работ Дж. Максвелла (подробнее см. Излучение и приём радиоволн). Приёмная А. выполняет обратную функцию — преобразование энергии распространяющихся радиоволн в энергию, сосредоточенную во входных колебательных цепях приёмника. Формы, размеры и конструкции А. разнообразны и зависят от длины излучаемых или принимаемых волн и назначения А. Применяются А. в виде отрезка провода, комбинаций из таких отрезков, отражающих металлических зеркал различной конфигурации, полостей с металлическими стенками, в которых вырезаны щели, спиралей из металлических проводов и др.
Основные характеристики и параметры А. У большинства передающих А. интенсивность излучения зависит от направления или, как говорят, А. обладает направленностью излучения. Это свойство А. графически изображается диаграммой направленности, показывающей зависимость от направления напряжённости электрического поля излученной волны (измеренной на большом и одинаковом расстоянии от А.). Направленность излучения А. приводит к повышению напряжённости поля волны в направлении максимального излучения и таким образом создаёт эффект, эквивалентный эффекту, вызываемому увеличением излучаемой мощности. Для количественной оценки эквивалентного выигрыша в излучаемой мощности введено понятие коэффициента направленного действия (КНД), показывающего, во сколько раз нужно увеличить мощность излучения при замене данной реальной А. гипотетической ненаправленной А. (изотропным излучателем (См. Изотропный излучатель)), чтобы напряжённость электромагнитного поля осталась неизменной. Не вся подводимая к А. мощность излучается. Часть мощности теряется в проводах и изоляторах А., а также в окружающей А. среде (земле, поддерживающих А. конструкциях и др.). Отношение излучаемой мощности ко всей подводимой называется кпд А. Произведение КНД на кпд называется коэффициентом усиления (КУ) А.
Приёмная А. также характеризуется формой диаграммы направленности, КНД, кпд и КУ. Её диаграмма направленности изображает зависимость эдс, создаваемой А. на входе приёмника, от направления прихода волны. При этом предполагается, что напряжённость поля в точке приёма не зависит от направления прихода волны. КНД показывает, во сколько раз вводимая А. во входную цепь приёмника мощность при приходе волны с направления максимального приёма больше среднего (по всем направлениям) значения мощности, при условии, что напряжённость поля не зависит от направления прихода волны. КНД приёмной А. характеризует её пространственную избирательность, определяющую возможность выделения принимаемого сигнала на фоне помех, создаваемых радиосигналами, идущими с разных направлений и порождаемых различными источниками (см. Помехи радиоприёму). Под кпд приёмной А. подразумевают кпд этой же А. при использовании её для передачи. КУ приёмной А. определяется как произведение КНД на кпд. Форма диаграмм направленности, КНД и КУ любой А. одинаковы в режиме передачи и в режиме приёма. Это свойство взаимности процессов передачи и приёма позволяет ограничиться описанием характеристик А. только в режиме передачи.
|
|
|
Теория и методы построения А. базируются на теории излучения элементарного электрического вибратора (рис. 1, а),опубликованной Г. Герцем в 1889. Под элементарным электрическим вибратором подразумевают проводник, длиной во много раз меньшей длины излучаемой волны λ, обтекаемый током высокой частоты с одинаковой амплитудой и фазой на всей его длине. Его диаграмма направленности в плоскости, проходящей через ось, имеет вид восьмёрки (рис. 1, б). В плоскости, перпендикулярной оси, направленность излучения отсутствует, и диаграмма имеет форму круга (рис. 1, в). КНД элементарного вибратора равен 1,5. Примером практического выполнения элементарного вибратора является Герца вибратор. Любая А. может рассматриваться как совокупность большого числа элементарных вибраторов.
Первая практическая А. в виде несимметричного вибратора была предложена изобретателем радио А. С. Поповым в 1895. Несимметричный (относительно точки подвода энергии) вибратор представляет собой длинный вертикальный провод, между нижним концом которого и Заземлением включается передатчик или приёмник (рис. 2, а). Заземление обычно выполняется в виде системы радиально расположенных проводов, которые закапывают в землю на небольшую глубину. Эти провода соединены общим проводом с одной из клемм передатчика или приёмника. Диаграмма направленности вертикального несимметричного вибратора, длина которого мала по сравнению с λ, имеет в вертикальной плоскости (при высокой электрической проводимости земли) вид полувосьмёрки (рис. 2, б); в горизонтальной — форму круга. КНД такой А. равен 3. Как видно из рис. 2, б, вертикальный несимметричный вибратор обеспечивает интенсивное излучение вдоль поверхности земли и поэтому получил широкое применение в радиосвязи и радиовещании на длинных и средних волнах. На этих волнах свойства почвы близки к свойствам высокопроводящей среды и обычно требуется обеспечить интенсивное излучение вдоль поверхности земли.
|
|
|
Одной из важных характеристик А. такого типа является сопротивление излучения Rизл. При длине вибратора l ≤ 1/4λ под сопротивлением излучения обычно подразумевают отношение излученной мощности к квадрату эффективного значения силы тока, измеренного у нижнего конца вибратора. Чем больше Rизл, тем больше излучаемая мощность (при заданном токе в вибраторе), выше кпд, шире полоса пропускаемых частот и ниже максимальная напряжённость электрического поля, возникающая у поверхности провода А. при заданной подводимой мощности. Т. к. максимальная напряжённость поля, во избежание ионизации окружающего воздуха и пробоя изоляторов, поддерживающих А., не должна превосходить определённого значения, то чем больше Rизл, тем больше максимальная мощность, которую можно подвести к А. Rизлувеличивается с ростом отношения l /λ, а также с повышением равномерности распределения тока по длине вибратора. Расширение полосы пропускаемых частот и снижение макс. напряжённости поля достигаются также увеличением диаметра провода А. или применением нескольких параллельно соединённых проводов (снижение волнового сопротивления (См.Волновое сопротивление) А.).
А. длинных волн. В области длинных волн (См. Длинные волны) совершенствование А. шло по линии увеличения их геометрической высоты, доходившей до 300 м, выравнивания распределения тока путём добавления горизонтальных и наклонных проводов (Т-образные, Г-образные и зонтичные А., рис. 3)и выполнения вертикальных и горизонтальных частей А. из нескольких параллельных проводов с целью снижения волнового сопротивления. КНД длинноволновых А. ≈ 3. По мере укорочения λ облегчается строительство А. высотой, соизмеримой с λ. При этом нет надобности в добавлении горизонтальных или наклонных проводов. Поэтому в 30-х гг. на радиовещательных станциях, работающих в диапазоне длин волн от 200 до 2000 м, стал применяться вертикальный несимметричный вибратор в виде изолированных от земли свободностоящей металлической антенны-башни или антенны-мачты, поддерживаемый оттяжками, разделёнными изоляторами на короткие секции с целью уменьшения токов, наводимых в них электромагнитным полем вибратора. КНД антенны-мачты и антенны-башни зависит от отношения их высоты к λ. Когда это отношение равно 0,63, КНД имеет максимальное значение, равное 6. Если по условиям работы в этом диапазоне волн желательно направленное излучение в горизонтальной плоскости, то применяют сложную А. (рис. 4, а), состоящую обычно из 2 вертикальных несимметричных вибраторов — одного, непосредственно питаемого от передатчика (активный вибратор), и другого, выполненного идентично первому и возбуждаемого вследствие пространственной электромагнитной связи с ним (пассивный рефлектор). При надлежащей настройке пассивного рефлектора в результате интерференции волн (См. Волны), излучаемых активным вибратором и пассивным рефлектором, получается диаграмма направленности, характерная форма которой в горизонтальной плоскости показана на рис. 4, б.Как видно, применение рефлектора приводит к существенному ослаблению интенсивности излучения в одном полупространстве. КНД такой А. примерно в 2 раза больше КНД одного вибратора.
А. средних волн. В радиовещательном диапазоне 200—550 м широко применяют так называемые антифединговую А., позволяющую ослабить эффект Замирания электромагнитного поля (фединг), возникающий на малых расстояниях от А. (начиная с 40—60 км) вечером и ночью. Эффект замирания обусловлен интерференцией пространственной (отражённой от ионосферы) волны и волны, распространяющейся вдоль поверхности земли. Распределение тока по вибратору у антифеддинговой А. подбирается так, что приём пространственной волны значительно ослабляется. Для приёма на длинных и средних волнах (См. Средние волны), помимо несимметричных вибраторов, пользуются рамочной антенной (См. Рамочная антенна) (рис. 5) и так называемыми магнитными антеннами (См. Магнитная антенна), а также сложной А., представляющей собой композицию из рамочной А. и вертикального симметричного вибратора. Эти приёмные А. обладают направленными свойствами в горизонтальной плоскости и тем самым позволяют ослабить помехи радиоприёму, если источник помех находится в направлениях минимума диаграммы направленности. Дальнейшее увеличение помехозащищенности при приёме на длинных и средних волнах может быть достигнуто применением антенны Бевереджа, представляющей собой длинный горизонтальный провод, подвешенный на высоте нескольких метров над землёй и направленный на принимаемую станцию.
А. коротких волн. Выполнение коротковолновых А. (см. Короткие волны) существенно зависит от протяжённости линий связи. На линиях малой протяжённости (до нескольких десятков км) связь осуществляется посредством волн, распространяющихся вдоль поверхности земли (см. Распространение радиоволн). На таких линиях в качестве А. часто применяют вертикальный несимметричный вибратор, подобный вибратору средних и длинных волн, а также вертикальный симметричный вибратор (рис. 6, а). На линиях большой протяжённости (от 50—100 км и более) связь осуществляется посредством радиоволн, однократно или многократно отражённых от ионосферы. На таких линиях широко применяют А. из горизонтальных симметричных вибраторов (рис. 6, б), обеспечивающих максимальное излучение под некоторым углом к горизонтальной плоскости. Круглосуточная и круглогодичная связь на коротких волнах требует частой смены λ. В дневное время, летом и в годы повышенной солнечной активности требуются более короткие волны, чем ночью, зимой и в годы пониженной солнечной активности. Поэтому применяют преимущественно диапазонные А., работающие в широком диапазоне волн без каких-либо перестроек. Одной из простейших диапазонных А. является симметричный горизонтальный вибратор, известный под названием Надененко диполя (См. Надененко диполь) (рис. 7). Эта А. имеет малое волновое сопротивление, вследствие чего её входное сопротивление в широком диапазоне волн мало зависит от длины волны, что позволяет обеспечить хорошее согласование с питающим Фидером в более чем 2-кратном диапазоне волн без перестройки. КНД диполя Надененко (с учётом влияния земли, устраняющей излучение в нижнее полупространство) лежит в пределах от 6 до 12.
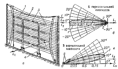
На дальних коротковолновых линиях связи необходимы А. с большими КНД, чем КНД симметричного вибратора. В качестве таких А. часто применяют синфазную А. (рис. 8, а), представляющую собой плоскую решётку из симметричных вибраторов, возбуждённых токами одинаковой фазы. В направлении, перпендикулярном к центру решётки, на большом расстоянии от синфазной А. поля, создаваемые излучением всех вибраторов, синфазны, т. к. пути волн от вибраторов до точки приёма практически одинаковы. В этом направлении создаётся максимальная напряжённость поля. В других направлениях пути и соответственно фазы волн различны, и интерференция волн, излучаемых отдельными вибраторами, приводит к ослаблению суммарной напряжённости поля. Чем больше вибраторов в одном горизонтальном ряду, тем уже диаграмма направленности в горизонтальной плоскости. Диаграмма направленности в вертикальной плоскости сужается с увеличением числа горизонтальных рядов (этажей) вибраторов. Для получения однонаправленного излучения и увеличения КНД в 2 раза решётки дополняются пассивным рефлектором в виде идентичной решётки, в которой, вследствие пространственной электромагнитной связи, возбуждаются токи такой амплитуды и фазы, что излучение в направлении L 1 резко ослабляется (рис. 8, а), а в направлении L 2 усиливается. Для того чтобы синфазная А. могла работать в широком диапазоне волн (до 2-кратного и более) без специальных устройств, согласующих её входное сопротивление с волновым сопротивлением питающего фидера, вибраторы часто выполняются в виде диполей Надененко. Для устранения необходимости перестройки рефлектора при смене λ его иногда выполняют в виде густой сетки из горизонтальных проводов (апериодический рефлектор), малопроницаемых для волн, излучаемых А. Диаграмма направленности коротковолновой синфазной А. в горизонтальной (рис. 8, б) и вертикальной плоскостях (рис. 8, в) состоит из одного большого (главного) лепестка и множества малых (боковых) лепестков. Чем ниже уровень боковых лепестков, тем выше качество А. При передаче боковые лепестки приводят к бесполезному рассеиванию части мощности, при приёме — увеличивают вероятность попадания в тракт приёмника мешающих сигналов, идущих с разных направлений. КНД D синфазной А. приближённо определяется по формуле
D = k· 4π S /λ2,
где S — площадь полотна А. (м 2),λ— длина рабочей волны (м), k —коэффициент, учитывающий влияние земли, расстояние между вибраторами, длину плеч вибраторов и др. Для синфазных коротковолновых А. k равно 2—3. КНД синфазных коротковолновых А. достигает нескольких сотен и даже тысяч, а кпд близок к 1.
Наряду с синфазной решёткой на коротких волнах применяется Ромбическая антенна. Эта А. отличается возможностью её использования в широком диапазоне волн (до 4-кратного). КНД ромбической А., в зависимости от выполнения и λ, лежит в пределах от 20 до 200, а кпд — 0,5—0,8. Недостаток ромбической А. — сравнительно высокий уровень боковых лепестков. На приёмных коротковолновых радиоцентрах, помимо А. из симметричных вибраторов и ромбических А., применяется Бегущей волны антенна (рис. 9), отличающаяся широким (до 6-кратного) диапазоном рабочих волн, низким уровнем боковых лепестков в горизонтальной плоскости, что обеспечивает повышенную помехозащищенность приёма. КНД А. бегущей волны лежит в пределах 40—250, а кпд — 0,05—0,5. Вследствие низкого кпд эта А. не применяется для передачи. Для непрофессионального приёма коротких волн радиослушатели пользуются несимметричными вибраторами, рамочными, магнитными А., а также Бевереджа А.
В разработке схем и теории длинно-, средне- и коротковолновых А. большое значение имели работы советских учёных Г. З. Айзенберга, Б. В. Брауде, И. Г. Кляцкина, В. Д. Кузнецова, Г. А. Лаврова, А. Л. Минца, А. М. Моделя, С. И. Надененко, М. С. Неймана, Л. К. Олифина, А. А. Пистолькорса, В. В. Татаринова, М. В. Шулейкина и других и зарубежных учёных: англичанина Г. Хоуэ, француза Л. Бриллюэна, американцев П. Картера и Г. Брауна, шведа Э. Халлена и др.
А. метровых и дециметровых волн. На метровых и дециметровых волнах для теле- и радиопередач применяют многоэтажные (до 30 этажей) турникетные (рис. 10), панельные, щелевые А. и другие типы А. с круговыми диаграммами направленности в горизонтальной плоскости и узкими в вертикальной плоскости (см. Телевизионная антенна). КНД этих А. пропорционален числу этажей и находится в пределах от 6 до нескольких десятков. Для увеличения зоны действия эти А. устанавливают на башнях или мачтах высотой 100—300 м и более. Самая высокая в мире телевизионная башня, высотой 533 м, сооружена в Москве. Приём телевизионных передач ведётся на симметричный вибратор, А. типа «Волновой канал» (рис. 11) и др., которые обычно устанавливаются на крышах домов или высоких опорах. В больших (многоквартирных) домах применяют коллективную А., состоящую из собственно А., усилителя высокой частоты и системы распределительных фидеров, подводящих энергию высокой частоты с выхода усилителя к входам телевизоров. В качестве собственно А. в системе коллективного приёма применяют А. типа «волновой канал» и др. Число телевизоров, обслуживаемых одной коллективной А., доходит до нескольких сотен. Существенный вклад в разработку передающих и приёмных телевизионных А. внесли советские учёные Б. В. Брауде, В. Д. Кузнецов и др., зарубежные учёные: американец Н. Линденблад и др. На метровых волнах для связи в пределах прямой видимости применяют симметричный и несимметричный вибраторы, Бевереджа А. и др.; для ионосферной связи — синфазную многовибраторную решётку, А. типа «волновой канал», ромбическую А. и др.; для Метеорной радиосвязи (См. Метеорная радиосвязь) — преимущественно А. типа «волновой канал».
А. сверхвысоких частот (свч). На СВЧ, охватывающих дециметровые, сантиметровые и миллиметровые волны, для радиорелейных линий связи, радиолокации, космических линий связи, радиоастрономии и др. широко применяют синфазные поверхностные А. По принципу действия такие А. подобны синфазной многовибраторной решётке и отличаются только тем, что они состоят не из дискретных излучающих элементов (вибраторов), а представляют собой сплошную плоскую поверхность, на которой возбуждено синфазное электромагнитное поле. Синфазная поверхность, так же как и синфазная решётка, имеет максимальное излучение в направлении, перпендикулярном к поверхности, и диаграмму направленности, суживающуюся по мере увеличения площади поверхности. КНД таких А. определяется по приведённой выше формуле. Коэффициент k (см. формулу) в данном случае называют коэффициентом использования поверхности. В диапазоне СВЧ не принято учитывать влияние земли при определении КНД А. Вследствие этого при идеально плоской, синфазно и равномерно возбуждённой поверхности коэффициент k равен 1. В реальных А. из-за неравномерности возбуждения, отступления от синфазности и утечки части энергии мимо основной излучающей поверхности коэффициент k равен 0,4—0,8. Как следует из формулы, при заданной площади излучающей синфазной поверхности А. КНД увеличивается обратно пропорционально квадрату длины волны. Это обстоятельство привело к тому, что в области СВЧ применяют А. с большими КНД, доходящими до сотен тысяч и миллионов. Для создания синфазно возбуждённой поверхности широко заимствуют технические приёмы из области оптики и электроакустики. Простейшей поверхностной А. является Рупорная антенна (рис. 12) в виде металлического радиоволновода с плавно увеличивающимся сечением. У выхода рупора при достаточно малом угле раствора плоская поверхность, проходящая через его кромки, получается почти синфазно возбуждённой. Коэффициент использования поверхности такой А. равен 0,5—0,8, а КНД обычно лежит в пределах 10—100. Рупорная А. также широко применяется как облучатель зеркальных и линзовых А.
Применяемая на СВЧ Линзовая антенна (рис. 13) по принципу действия идентична оптической линзе и состоит из собственно линзы и облучателя, установленного в её фокусе F. Линза трансформирует сферический или цилиндрический фронт волны облучателя в плоский. Таким образом на выходе линзы получается плоская поверхность, возбуждённая синфазным электромагнитным полем. Частный случай линзовой А. — рупорно-линзовая А., состоящая из рупора с большим углом раствора (60—70°) и вставленной на его выходе линзы, трансформирующей сферический или цилиндрический фронт волны в рупоре в плоский. При смещении облучателя линзы из фокуса в плоскости, проходящей через фокус и перпендикулярной оси линзы, фронт волны на её выходе поворачивается на определённый угол. Соответственно поворачивается направление максимального излучения. Это свойство линзовой А. используется в Радиолокаторах при сканировании диаграммы направленности («качании» направления максимального излучения). В обычных линзовых А. угол поворота направления максимального излучения ограничен вследствие того, что с его увеличением снижается коэффициент использования поверхности. Исключение представляют апланатические линзовые А., отличающиеся тем, что в пределах широкого сектора поворот направления максимального излучения (смещением облучателя) не сопровождается существенным снижением коэффициента использования поверхности. Высококачественные линзовые А. имеют коэффициент использования поверхности 0,5—0,6.
Исключительно большое распространение в области СВЧ получили зеркальные антенны, состоящие из металлического зеркала с профилем параболоида и облучателя. Последний устанавливается в фокусе F параболоида (рис. 14). Параболическое зеркало трансформирует сферический фронт волны облучателя в плоский фронт в раскрыве (на плоской поверхности, ограниченной кромкой зеркала). Тем самым образуется плоская поверхность, возбуждённая синфазным электромагнитным полем. В качестве облучателя применяются слабо направленные А. (рупоры, вибраторы с небольшим рефлектором, спирали и др.). Так же, как и в линзовой А., смещение облучателя из фокуса в плоскости, перпендикулярной оси А., сопровождается поворотом направления максимального излучения. Это свойство также используется в радиолокаторах при сканировании диаграммы направленности. В обычной параболической А. (рис. 14) облучатель находится в поле волн, отражённых от зеркала, что вызывает искажение диаграммы направленности и уменьшение КНД. Такой же отрицательный эффект вызывают конструктивные элементы, поддерживающие облучатель. Во избежание этого часто применяют параболические А. с вынесенным облучателем; в качестве отражателя используется «вырезка» из параболоида вращения, в фокусе F которой устанавливается облучатель (рис. 15). При этом поток электромагнитной энергии, отражённый от зеркала, проходит мимо облучателя и поддерживающих его конструктивных элементов. В радиорелейной связи широкое применение получила рупорно-параболическая А. (рис. 16), являющаяся одним из вариантов зеркальной А. с вынесенным облучателем. В этой А. облучающий рупор и параболическое зеркало составляют единое целое, что практически устраняет утечку энергии за края зеркала. В 60-х гг. 20 в. в радиорелейной связи, космической радиосвязи, радиоастрономии и др. получили широкое распространение двухзеркальные А. (рис. 17), состоящие из основного параболического зеркала, вспомогательного малого зеркала и облучателя. Электромагнитная энергия подводится к облучателю, устанавливаемому у вершины параболоида, и излучается на малое зеркало, после отражения от которого направляется на основное зеркало. Применение вспомогательного зеркала облегчает получение оптимального распределения электромагнитного поля в раскрыве основного зеркала, что обеспечивает максимальное КНД и позволяет уменьшить длину линии, подводящей энергию к облучателю. Существенный вклад в разработку теории и техники двухзеркальной А. сделан советским учёным Л. Д. Бахрахом. Коэффициент использования поверхности хорошо выполненных зеркальных А. равен 0,5—0,7.
Кроме металлических зеркал с профилем параболоида, применяются зеркала с профилем параболического цилиндра, сферы (сферическая А.) и др. Характерная особенность сферической А. — возможность управления направлением максимального излучения в широком секторе углов без существенного уменьшения КНД. Советскими учёными С. Э. Хайкиным и Н. Л. Кайдановским предложена оригинальная зеркальная А. для применения в качестве радиотелескопа. Такой радиотелескоп сооружен в Пулковской обсерватории. Он состоит из передвижного облучателя и набора плоских перемещающихся зеркал, располагаемых по ломаной линии, аппроксимирующей параболу. Путём передвижения облучателя и перестановки зеркал можно в широких пределах управлять направлением максимального излучения.
Одна из характерных А. СВЧ диапазона — щелевая А. в виде замкнутого полого металлического короба с прорезанными в нём щелями. Внутрь короба вводится электромагнитная энергия, излучаемая через щели (щелевые вибраторы) во внешнее пространство. Большое распространение получила синфазная антенная решётка из таких вибраторов. Часто она выполняется в виде Радиоволноводапрямоугольного или круглого сечения (рис. 18), в одной из стенок которого прорезаются щели длиной1/2λ, размещаемые таким образом, что они возбуждаются синфазно. КНД таких А. приближённо равен утроенному числу щелей. Щелевые вибраторы не выступают над металлической поверхностью. Поэтому они широко используются в тех случаях, когда это свойство является важным, например на летательных аппаратах.
Большой вклад в развитие теории щелевых А. внесли советские учёные М. С. Нейман, А. А. Пистолькорс, Я. Н. Фельд и др.
Наряду с синфазной А. в диапазоне СВЧ применяют А. бегущей волны, состоящую из системы излучателей, возбуждённых по закону бегущей волны, и имеющую максимальное излучение в направлении её распространения. К А. такого типа относятся Спиральная антенна, А. типа «волновой канал», Диэлектрическая антенна, А. поверхностной волны (импедансная А.) и др. Импедансная А. обычно состоит из ребристой поверхности и возбудителя. В А., показанной на рис. 19, возбудителем служит рупор. При высоте рёбер меньше 1/4 λвдоль ребристой поверхности образуется бегущая волна, распространяющаяся со скоростью меньше скорости света. Такая А., как и щелевая, легко может быть сделана невыступающей. КНД А. бегущей волны, применяемых на СВЧ, обычно не превышает 100. В развитии теории и техники импедансных А. существ, роль сыграли работы советских учёных Л. Д. Бахраха, Л. Д. Дерюгина, М. А. Миллера, В. И. Таланова, О. Н. Терешина и др., американского учёного Г. Больяна и др.
В 50—60-е гг. 20 в. в диапазонах коротких, метровых и сантиметровых волн получили распространение Частотно-независимые антенны. Эти А. отличаются от А. других типов тем, что они в широком диапазоне (10—20-кратном и более) имеют почти неизменные характеристики (форму диаграммы направленности, КНД, входное сопротивление и др.). Одним из распространённых типов частотно-независимой А. является логопериодическая А., вариант которой показан на рис. 20. Подводимая к А. электромагнитная энергия возбуждает большие токи только в 3—5 вибраторах, имеющих длину, близкую к половине длины рабочей волны. Эта группа вибраторов образует так называемую «активную область» А. С изменением длины рабочей волны соответственно перемещается «активная область» А. Таким образом, отношение линейных размеров этой части А. к длине рабочей волны не изменяется с изменением частоты. Это и является причиной слабой зависимости электрических характеристик А. от частоты. КНД логопериодических А. равно 30—50.
Перспективы развития А. В 60-е гг. 20 в. наметился ряд перспективных направлений развития теории и техники А. Наиболее важные из них: 1) создание антенных решёток из большого числа излучающих элементов (электрических вибраторов, рупоров и др.), каждый из которых подведён к отдельному выходному блоку передатчика, имеющему регулируемый фазовращатель. Управляя соотношением фаз полей в отдельных излучающих элементах, можно быстро менять направление максимального излучения, а также форму диаграммы направленности А. Идентичным образом создаются приёмные антенные решётки из большого числа слабонаправленных А., подключаемых к отдельным входным блокам приёмника. 2) Создание А., основанных на методе апертурного синтеза, заключающегося, в частности, в перемещении одной или нескольких небольших по размерам А. с последовательной фиксацией в запоминающем устройстве амплитуды и фазы принятых сигналов. Соответствующим суммированием этих сигналов можно получить такой же эффект, как от большей А. с линейными размерами, равными длинам путей перемещения малых А. 3) Создание экономичных, легко устанавливаемых А. (зеркальных А., антенн-башен и антенн-мачт и др.) на основе использования металлизированных плёнок, с применением пневматики для придания А. необходимой конфигурации. 4) Широкое внедрение строгих методов анализа и синтеза (проектирование по заданным характеристикам) А. на основе применения электронных вычислительных машин. 5) Развитие статистических методов анализа А.
Лит.: Пистолькорс А. А., Антенны, М., 1947; Айзенберг Г. З., Антенны ультракоротких волн, М., 1957; Марков Г. Т., Антенны, М., 1960; Драбкин А. Л., Зузенко В. Л., Антенно-фидерные устройства, М., 1961; Айзенберг Г. З., Коротковолновые антенны, М., 1962.
Г. З. Айзенберг, О. Н. Терешин.

Рис. 1. Элементарный электрический вибратор: а — схема: 1 — вибратор; 2 — направление в точку наблюдения; б — диаграмма направленности в плоскости YOZ; в — диаграмма направленности в плоскости XOY.

Рис. 2. Вертикальный несимметричный вибратор: а — схема: 1 — провод (излучатель); 2 — клеммы, присоединяемые к передатчику; 3 — направление в точку наблюдения; 4 — система заземления; 5 — поверхность земли; б — диаграмма направленности в вертикальной плоскости; в — диаграмма направленности в горизонтальной плоскости.

Рис. 3. Т-образная антенна длинных волн: 1 — снижение (излучатель); 2 — горизонтальная часть; 3 — изоляторы; 4 — система заземления; 5 — клеммы, присоединяемые к передатчику.

Рис. 4. Сложная антенна средних и длинных волн: а — схема: 1 — активный вибратор, выполняемый в виде антенны-мачты либо аитенны-башни; 2 — пассивный вибратор, выполняемый в виде антенны-мачты либо антенны-башни; 3 — клеммы, присоединяемые к передатчику; 4 — элемент настройки; б — диаграмма направленности в горизонтальной плоскости. Стрелкой показано направление максимального излучения.

Рис. 5. Рамочная антенна: 1 — рамка; 2 — симметричная линия, идущая к приёмнику.

Рис. 6. Симметричные вибраторы: а — вертикальный; б — горизонтальный: 1 — вибратор; 2 — симметричная линия питания; 3 — поверхность земли.

Рис. 7. Диполь Надененко: 1 — диполь; 2 — симметричная линия питания; 3 — изоляторы; 4 — мачта с секционированными оттяжками; 5 — поверхность земли.

Рис. 8. Синфазная антенна коротких волн: а — схема: 1 — излучающий элемент в виде диполя Надененко; 2 — апериодический рефлектор; 3 — изоляторы; 4 — линия питания (снижения), идущая к передатчику; б — диаграмма направленности в горизонтальной плоскости: 1 — основной лепесток; 2 — боковые лепестки; 3 — ширина диаграммы направленности на уровне 0,7 от максимального; в — диаграмма направленности в вертикальной плоскости (при идеальной проводимости земли): 1 — основной лепесток; 2 — боковые лепестки: Е — напряжённость поля; Em — максимальная напряжённость поля.

Рис. 9. Коротковолновая антенна бегущей волны: 1 — вибратор; 2 — изоляторы; 3 — линия питания; 4 — развязывающие резисторы; 5 — поглощающий резистор. Стрелкой показано направление максимального приёма.

Рис. 10. Турникетная антенна.

Рис. 11. Антенна типа «волновой канал»:1 — кабель питания; 2 — рефлектор; 3 — директоры; 4 — активный вибратор. Направление максимального излучения показано стрелкой.

Рис. 12. Рупорная антенна: 1 — рупор; 2 — питающий радиоволновод. Направление максимального излучения показано стрелкой.

Рис. 13. Линзовая антенна: 1 — фронт волны, падающей на линзу; 2 — облучатель; 3 — линза; 4 — фронт волны, прошедшей, через линзу; F — фокус линзы. Стрелками показан ход лучей.

Рис. 14. Параболическая антенна: 1 — фронт волны, падающей на зеркало; 2 — облучатель; 3 — раскрыв зеркала; 4 — параболическое зеркало; 5 — фронт волны, отражённой от зеркала; F — фокус параболоида. Стрелками показан ход лучей.

Рис. 15. Параболическая антенна с вынесенным облучателем: 1 — плоский фронт волны, отражённой от зеркала; 2 — зеркало в виде «вырезки», имеющей форму параболоида вращения; 3 — питающий радиоволновод; 4 — сферический фронт волны, падающей на зеркало; 5 — облучатель; F — фокус параболоида вращения.

Рис. 16. Рупорно-параболическая антенна: 1 — параболическая поверхность; 2 — щека; 3 — рупор; 4 — питающий радиоволновод; 5 — раскрыв антенны. Направление максимального излучения показано стрелкой.

Рис. 17. Двухзеркальная антенна: 1 — основное параболическое зеркало; 2 — облучатель; 3 — питающий радиоволновод; 4 — вспомогательное эллиптическое зеркало; 5 — вспомогательное гиперболическое зеркало; F — фокус антенны. Стрелками показан ход лучей.

Рис. 18. Волноводная щелевая антенна: 1 — щелевые вибраторы; 2 — радиоволновод. Стрелкой показано направление движения электромагнитной энергии в радиоволноводе.

Рис. 19. Антенна поверхностной волны (импедансная антенна): 1 — ребристая замедляющая структура; 2 — рупорное возбуждающее устройство; 3 — питающий радиоволновод. Стрелкой показано направление максимального излучения.

Рис. 20. Логопериодическая вибраторная антенна: 1 — вибраторы; 2 — линия питания. Стрелкой показано направление максимального излучения.

Параболическая антенна Серпуховского радиотелескопа.

Двухзеркальная параболическая антенна.

Слабонаправленная логопериодическая антенна спирального типа.

Радиотелескоп Пулковской обсерватории.

Рупорно-параболические антенны радиорелейной линии связи.

Телевизионная щелевая антенна.






