Введение
Радиосвязь, применяемая для передачи информации из одного пункта в другой, может быть представлена в виде блок-схемы (см.рис.1).
![]() |
Радиопередающее устройство (РПДУ) создает высокочастотные колебания определенной частоты и мощности и излучает их в пространство. Радиоволны, распространяясь в пространстве, достигают приемной антенны и наводят в ней слабые токи. Эти токи усиливаются и преобразуются в радиоприемном устройстве (РПРМУ).
Для безотказного осуществления радиосвязи необходимы:
безукоризненная работа РПДУ и РПРМУ;
правильный выбор длины волны
;
необходимая мощность передатчика Рпрд;
выбор типа антенн и места их установки;
устранение искажений сигналов, возникающих в процессе распространения радиоволн.
Для успешного решения этих задач нужно знать закономерности и свойства распространения радиоволн и среды, в которой они распространяются.
Радиоволна – это электромагнитное колебание, которое характеризуется: периодом
, частотой
, длиной волны
, напряженностью электрического поля Е и поляризацией. Параметры радиоволн взаимосвязаны:
;
;
,
где
и
— диэлектрическая и магнитная проницаемости среды (для воздуха
).
Графически структура радиоволны может быть представлена см. рис. 2.
|
Все электромагнитные волны, в том числе и радиоволна, подчиняются общим законам:
1. Закон прямолинейного распространения в однородной среде с постоянной скоростью.
![]() |
2. Законы отражения и преломления (см. рис. 3).
Преломление объясняется различием в скорости распространения радиоволны с различными
. Угол падения
и преломления
связаны между собой законом синусов:

![]() |
3. Явление дифракции - способность радиоволн огибать выпуклость земного шара, неровности поверхности земли и др. препятствия (см. рис. 4). Такие радиоволны получили название земных или поверхностных.
4. Явление рефракции - искривление траектории радиоволны в среде с изменяющейся диэлектрической проницаемостью. Кривизна траектории зависит от степени неоднородности среды.
5. Явление интерференции - взаимодействие двух радиоволн, созданных одним источником, но прошедших разные пути. Они имеют различные фазы и возможно их ослабление или усиление в точке приёма.
![]() |
Распространение радиоволн происходит в атмосфере земли и нам необходимо знать ее строение и свойства.
Нижняя часть, прилегающая к земле и достигающая высот 10-14 км — называется тропосферой. Верхние ионизированные слои располагающиеся выше 60 км называются ионосферой. Между этими слоями расположена стратосфера, характеризуемая полным отсутствием водяных паров.
Состояние тропосферы определяется температурой, давлением и влажностью. У поверхности земли давление 1000 мбар, а на высоте 10 км — 270 мбар. Температура уменьшается на 4-6°С при подъеме на каждый километр. Влажность сильно изменяется в зависимости от климата.
![]() |
В ионосфере газы на высоте свыше 60 км под воздействием ультрафиолетовых лучей подвергаются ионизации. Из-за неоднородности состава атмосферы возникают несколько максимумов ионизации в слоях Д, E;
и
. В ночное время с уменьшением солнечной радиации слои Д и
исчезают (см. рис. 5). В результате извержений на солнце потоки электронов вторгаются в атмосферу и вызывают нарушение нормального строения ионизированных слоев — ионосферные возмущения.
В ионосфере наблюдаются явления поглощения, преломления и отражения радиоволн. Так как концентрация электронов ионизированного слоя изменяется на высоте плавно, то радиоволны в такой среде распространяются по криволинейным траекториям.

Эта формула показывает, что ионосфера является электрически менее плотной средой, чем воздух. При переходе из среды более плотной в среду менее плотную луч отклоняется от перпендикуляра к границе раздела.
Возможны два случая:
1. Полное отражение радиоволны от ионосферы и возвращение на землю (см. рис. 6).
2. Уход радиоволны в мировое пространство, при недостаточной преломляющей способности ионосферы (см. рис. 6).
![]() |
Радиоволны, распространяющиеся вокруг земного шара за счет одно- или многократного отражения от ионосферы и земли называются ионосферными или пространственными. Критическая частота
- это такое значение частоты, когда происходит полное отражение радиоволны от ионосферы и возвращение на землю. При нормальном состоянии ионосферы
=13 МГц, а
. Наибольшая частота радиолуча, направленного под углом
к горизонту и отражаемого ионосферой называется максимальной частотой
для данного угла возвышения
. Если частота
, то отражения от ионосферы не будет. С уменьшением угла
до нуля
максимальная частота
возрастает и при
имеет наибольшее значение 40,0 МГц, а
. Следовательно, волны длиннее 24 м отражаются от ионосферы, а волны в пределах от 7,5 до 24 м в зависимости от угла возвышения
могут отражаться или проходить ионосферу (см. рис.7).
Поверхность земли поглощает энергию ионосферных волн. Сопротивление земли активное, радиоволны наводят в ней вихревые токи, которые создают активные потери. С возрастанием частоты растут и потери.
Все радиоволны принято делить на диапазоны (см. таблицу №1).
Таблица 1
| Диапазон радиоволн | Частоты | Длины волн |
Мириаметровые (СДВ) Километровые (ДВ) Гектометровые (СВ) Декаметровые (КВ) Метровые (МВ) | 3-30 кГц 30-300 кГц 0,3-3 МГц 3-30 МГц 30-300 МГц 0,3-3 ГГц 3-30 ГГц 30-300 ГГц 300-3000 ГГц | 100-10 км 10-1 км 1-0,1 км 100-10 м 10-1 м 10-1 дм 10-1 см 10-1 мм 1-0,1 мм |
Кратко рассмотрим распространение радиоволн по диапазонам.
1. Распространение ДВ радиоволн. ДВ используются для радиотелеграфной связи, для резерва, для передачи сигналов времени и метеосводок. СДВ — сигнал точного времени. Так как
, то они очень хорошо отражаются и от ионосферы, и от земной поверхности. Распространение радиоволны происходит, как в сферическом волноводе, отражаясь от ионосферы и земли. ДВ очень сильно поглощаются ионосферой, что приводит к необходимости иметь радиопередатчику значительную мощность.
2. Распространение СВ радиоволн. СВ используются в телеграфной и телефонной радиосвязи, в радиовещании и радионавигации. В дневные часы СВ поглощаются ионосферой и распространяется как поверхностные, а в ночные часы, когда нет слоя Д распространяются как пространственные волны, что приводят к резкому увеличение дальности связи до 4000-5000 км. В зимнее время условия распространения несколько улучшаются.
3. Распространение КВ радиоволн. КВ используются для телеграфной и телефонной связи и для радиовещания. Они поглощаются землей при распространении поверхностной волной и связь возможна на небольшие расстояния. На большие расстояния связь осуществляется отраженными от слоя
пространственными лучами. При этом слой E является поглощающим, его электронная плотность недостаточна для отражения коротких волн.
Уверенная связь на КВ возможна при выполнении двух условий:
1)
;
2) Поглощение энергии слоем Е не должно быть большим.
Дальность и устойчивость радиосвязи на КВ зависит от выбора рабочих частот диапазона, т.к на менее коротких радиоволнах — меньшее поглощение, но велика вероятность невозвращения на землю. Применительно для связи на КВ пространственным радиолучом на большие расстояния весь диапазон принято делить на три поддиапазона:
дневные волны
;
промежуточные волны
;
ночные волны
.
Для распространения КВ свойственно три явления: замирание (феддинг), радиоэхо и зона молчания.
Замирания характеризуется беспорядочным изменением силы принимаемого сигнала в точке приёма. Причём возрастание сигнала чередуется с сильным уменьшением его. Замирание на коротких волнах обусловлено, как интерференцией двух или нескольких радиоволн в точке приёма, в связи с приходом в точку одновременно земной и пространственной волны, так и изменением поглощения радиоволн в ионосфере на пути между точками передачи и приёма.
Сущность радиоэхо заключается в том, что один и тот же сигнал доходит до приёмника разными путями два или несколько раз. В связи с многократным отражением радиоволны от земной поверхности и ионосферы, появляется запаздывание в приёме одного и того же сигнала из-за разницы путей.
Зона молчания – промежуточная зона земной поверхности, в которой радиосвязь земной волны уже невозможна, а ионосферной ещё невозможна, т.е это пространство, где кончается прием поверхностных волн, но еще не начался прием пространственных волн.
4. Распространение УКВ радиоволн. УКВ используются для самолетной, космической радиосвязи, радиолокации, телевидения и т.д. УКВ не отражаются ионосферой, обладают крайне слабой дифракционной способностью. Поэтому дальность связи на УКВ ограничена расстоянием прямой видимости, определяемой по формуле:

и
— высоты приемной и передающей антенн.
Из-за явления рефракции дальность связи на УКВ возрастает примерно на 8 %.

Возможно сверхдальнее распространение УКВ. Явление сверхрефракции наблюдалось в 1944-45 гг. и чаще над водной поверхностью. Объясняется двумя факторами:
1) Рассеиванием радиоволн в тропосфере из-за ее “зернистости”;
2) Рассеиванием радиоволн в ионосфере, вызываемым неоднородностью ее строения.
Сверхдальнее распространение УКВ может достигать расстояний в несколько тысяч километров.
2. Антенны авиационного радиоэлектронного оборудования. Основные типы антенн используемых в бортовой радиоаппаратуре.
В наши дни радио получило широкое распространение и теперь каждый человек с детства знает об радио, антенных и прочих устройствах довольно много, а в то же время практически ничего, если рассматривать вопрос чисто профессионально. Что же такое антенна?
Антенной называется радиотехническое устройство, которое предназначено для преобразования энергии токов высокой частоты в энергию высокочастотного электромагнитного поля и для обратного преобразования.
В зависимости от вида преобразования энергии антенны могут быть передающими, приемными и универсальными. Универсальные антенны обеспечивают и приём и передачу сигналов. Этот тип антенн в авиационной радиотехнике применяется наиболее часто.
Ко всем антеннам применимо правило обратимости. Оно заключается в том, что все характеристики антенн сохраняются постоянными и не зависят от того, работает ли антенна в режиме “передача” или в режиме “прием”.
Конструкция антенн устанавливаемых на летательных аппаратах (ЛА), в связи со спецификой условий применения радиотехнического оборудования, может сильно отличаться от аналогичных антенн наземной аппаратуры.
С началом установки на ЛА приемо-передающих устройств возникла необходимость в разработке, установке и эксплуатации соответствующих АФУ. Отличительной чертой антенн ЛА являются некоторые повышенные требовании к габаритам, весу, обтекаемости и конструкции антенн. Антенны ЛА должны обеспечивать прием сигналов достаточной мощности на заданных расстояниях, хорошо согласовываться с приемо-передающим трактом и, по возможности, не выступать за корпус (фюзеляж) ЛА.
Из курса физики вы знаете, что такое колебательный контур. Это замкнутая колебательная цепь, обладающая “сосредоточенными” параметрами индуктивности L и ёмкости C. Размеры катушки индуктивности и конденсатора очень малы по сравнению с длиной собственной волны контура, в то же время магнитное поле, сосредоточенное вокруг витков катушки, занимает практически малое пространство, а электрическое поле, ограниченное пластинами конденсатора, занимает еще меньшее пространство. Системы с сосредоточенными параметрами успешно применяются в схемах, предназначенных для генерации и усиления колебаний высокой частоты. Но эти системы не могут с достаточным успехом осуществить основные задачи радиотехники — излучения энергии в пространство и извлечения ее из него. Эти задачи выполняются колебательными цепями открытого типа, имеющими “распределенные” параметры L и C. Разновидностями открытых цепей и являются передающие и приемные антенны.
Рассмотрим принцип работы антенны на примере симметричного вибратора, представляющего собой провод, изолированный на концах и служащий примером открытой колебательной цепи. Само название вибратор говорит о том, что эта система обладает колебательными свойствами (см.рис. 8).
![]() |
Разделим вибратор на 2 равные части и соединим их с зажимами батареи. Половины вибратора получат заряды противоположных знаков. После этого батарею отключим. Заряд, полученный вибратором, создает электрическое поле между его половинами в окружающем пространстве. Представим себе, что энергия этого заряда распределена в элементарных емкостях, которые образуют между собой отдельные частицы верхней и нижней половины вибратора. Конечно, чем меньшую частицу провода мы возьмем, тем меньше окажется ее емкость, но количество частиц велико и общая емкость составит заметную величину (6-7 пф на 1 м). Предположим, что половины заряженного вибратора соединены между собой, тогда из верхней воловины в нижнюю пойдет ток разряда, при этом энергия электрического поля будет превращаться в энергию магнитного волн. Каждая частица провода обладает индуктивностью, причем, слагаясь между собой, эти элементарные индуктивности образуют заметную величину (2 мкГн на 1 м). Именно такую распределенную индуктивность мы и должны считать накопителем магнитной энергии.
В тот момент, когда заряд половин вибратора будет израсходован полностью, сила тока будет достигать максимума, а затем будет уменьшаться; исчезающее магнитное поле создает Э.Д.С. самоиндукции, которая перезарядит половины вибратора. Дальше процесс будет протекать в той же последовательности, т.е. вокруг вибратора будет представлять затухающее во времени колебание. Затухание объясняется активными потерями на нагрев провода, диэлектрическими потерями в изоляторах, потерями на излучение и в земле. Но это предмет отдельного вопроса.
Рассмотрим основные параметры антенны.
1. Коэффициент полезного действия (КПД).
КПД называется отношение мощности, которую антенна излучает в пространство ко всей подводимой к ней мощности.

КПД характеризует свойства антенны, как преобразователя антенны и на практике составляет 0,8-0,9.
2. Направленность.
Это свойство антенны излучать (принимать) электромагнитную энергию в одном из направлений больше, чем в других. Направленность антенны может быть охарактеризована коэффициентом направленного действия (КНД).
КНД называется отношение мощности, излучаемой антенной в направлении максимума излучения к средней излучаемой мощности.

Для остронаправляющих антенн КНД составляет величину в несколько сотен (тысяч) единиц. КНД характеризует направленные свойства антенны только в одном направлении. Для более полной характеристики направленности применяются понятия диаграммы направленности и ширины диаграммы направленности антенн.
Диаграмма направленности антенны (ДНА) характеризует распределение интенсивности излучения в пространстве.
Различают ДНА по напряжению и мощности.
ДНА по напряжению
(мощности
) называется зависимость напряжённости электрического поля (мощности) излучения от направления при условии измерения этого поля на одинаковом расстоянии от антенны. Пространственную ДНА построить довольно сложно, поэтому для упрощения обычно ограничиваются диаграммами в горизонтальной и вертикальной плоскости.
Графическое выражением функций
или
(см.рис.9) где:
— напряженность электрического поля, создаваемого антенной;
— мощность, излучаемая антенной;
— угол между осью отсчета и направлением излучения.
Для большего удобства используются нормализованные диаграммы по напряженности электрического поля
и по мощности излучения
.
ДНА строят в полярной и прямоугольной системе координат. По виду ДНА различают антенны ненаправленные и направленные. На рис.9 приведены диаграммы направленности ненаправленной и направленной антенн в прямоугольной и полярной системах координат. Последние используются более часто, т.к. обладают большей наглядностью.
Ширина диаграммы направленности антенны (ШДНА) по напряжённости (мощности) называется угловой сектор, охватывающий часть главного лепестка диаграммы, в пределах которого напряжённость электрического поля (мощность излучения) изменяется до 0,707 (0,5) от напряжённости поля (мощности) в направлении максимального излучения.
ШДНА обозначается
и зависит от линейных размеров антенны
, где d – линейный размер антенны в горизонтальной или вертикальной плоскости.
![]() |
3. Коэффициент усиления антенны.
Эта характеристика учитывает как направленные свойства, так и КПД антенны, то есть наиболее полно характеризует антенну как преобразователь энергии.

4. Входное сопротивление антенны.
Антенна, как и всякое радиотехническое устройство, обладает некоторым входным сопротивлениям. В общем случае входное сопротивление имеет активную и реактивную составляющие:

Если антенна настроена в резонанс, то реактивное сопротивление
и следовательно входное сопротивление антенны чисто активное:

Мощность излучения
и потерь
можно охарактеризовать соответствующими сопротивлениями
,
.
Тогда с учетом этих формул

5. Действующая высота антенны (рис. 10).
Величина Э.Д.С., наводимой в антенне электромагнитным полем, зависит от высоты антенны и от ее конструкция. Чтобы объединить эти две характеристики, вводится понятие “действующая высота” антенны
.
Это высота такой фиктивной антенны, которая имеет равномерное по всей длине распределение тока с амплитудой, равной максимальному распределению тока действующей антенны при равных мощностях излучения. Для увеличения
применяются антенны с горизонтальной частью различной формы. Действующая высота таких антенн увеличивается вследствие изменения распределения тока вдоль антенны.
![]() |
Параметр антенн “действующая высота” в настоящее время при расчетах применяется довольно редко.
В авиационном радиоэлектронном оборудовании (РЭО) применяются вибраторные (проволочные), щелевые, рамочные, рупорные и зеркальные антенны. Остальные типы антенн встречаются реже.
К вибраторным антеннам относятся:
симметричный полуволновый вибратор, применяемый в УКВ диапазоне с диаграммой направленности в виде «тора»,
заземлённый четвертьволновый вибратор, широко применяемый во всех диапазонах (КВ, УКВ, дцм) с диаграммой направленности одна половина «тора». Вертикально расположенный вибратор излучают вертикально поляризованную волну
Волноводно-щелевые антенны применяются в самолётных и аэродромных радиолокационных станциях дцм и см диапазонов волн. Щелевая антенна выполняется в виде прорезанной в металлическом экране щели, длина которой сравнима с половиной длиной волны, а её ширина намного меньше длины волны. Чаще всего щели прорезаются в стенках волновода и поэтому излучают в одну сторону горизонтально поляризованную волну.
Рамочные применяются в радионавигационной аппаратуре (АРК) для определения направления на работающую радиостанцию и используются на СВ волнах длина которых намного больше её собственных размеров. Представляют собой витки провода прямоугольной или круглой формы намотанных на ферритовый сердечник для увеличения действующей высоты антенны.
Рупорные антенны используются чаще всего в качестве слабонаправленных антенн станций помех и разведки, приёмной антенны с широкой диаграммой направленности в см диапазоне волн, а также в качестве облучателей параболических (зеркальных или линзовых) антенн. Представляют собой открытый конец прямоугольного или круглого волновода у которого плавно расширяются стенки (секториальный, пирамидальный, конический рупор) для согласования волнового сопротивления волновода и открытого пространства.
Зеркальные антенны с параболическим зеркалом широко применяют в самолётных и наземных РЛС см диапазона волн, обеспечивая высокую направленность излучения и способность работать в широком диапазоне частот. В качестве облучателей самолётных антенн зеркального типа применяют рупоры, полуволновые вибраторы и щелевые облучатели, при этом падающая сферическая волна преобразуется в плоскую.
К настоящему времени на ЛА устанавливаются или могут быть установлены различные по конструкции, характеристикам и области применения антенны, работающие в диапазоне волн от нескольких миллиметров до сотен метров. Антенны должны быть установлены так, чтобы исключить взаимные помехи, а также с учётом влияния корпуса самолёта на их диаграмму направленности. Условия излучения антенн зависят главным образом от соотношения длины волны и размеров корпуса самолёта.
Однако все их разновидности можно классифицировать по определенным признакам:
1. По направленности отличают направленные и ненаправленные антенны.
2. По конструктивному исполнению существует очень большое разнообразие антенн.
К ним относят:
рамочные, U и Н образные для ДВ и СВ;
антенны поверхностных волн, вибраторные, директорные, спиральные, зеркальные для КВ и часть УКВ;
щелевые, рупорные линзовые для УКВ (ДМВ, СМВ и ниже);
антенные фазированные решетки для КВ и УКВ.
3. По типу материала, используемого для изготовления, различают диэлектрические антенны и из проводящих электрический ток материалов: металлические и металлодиэлектрические.
4. В авиации также принято разделение антенн по типу или месту применения. Различают антенны самолетных радиопеленгаторов, антенны бортовых РЛС перехвата и прицеливания и т.д.
Необходимо отметить, что и внутри данной классификации можно провести еще дополнительное разделение. Так в направленных антеннах можно выделить:
апертурные антенны или излучающие через отверстие — апертуру (щелевые, рупорные);
симметричные антенны (различного рода вибраторы — цилиндрический, петлевой Пистолькорса и др.);
несимметричные антенны (вибраторы, провода, башни, мачты и др.
В ненаправленных антеннах можно выделить шлейфовые, фонарные и килевые антенны.
Рассмотрим основные типы бортовых антенных устройств.
При рассмотрении антенн ЛА можно отметить, что применяются как несимметричные, таи и симметричные антенны.
Из несимметричных антенн на ЛА можно выделить:
![]() |
а) наружные антенны (рис. 11), которые представляют собой различные варианты несимметричных вибраторов. Так на дозвуковых самолетах успешно и сейчас применяют в диапазонах СВ и КВ проволочные антенны (1) и штыревые (2) антенны, исполненные в виде мачты четвертьволновой длины. На скоростных самолетах широко применяются согнутые мачтовые антенны (3);
б) несимметричные линейные антенны, которые применяются в аппаратуре радиосвязи, радионавигации, радиотелеметрии, радиотелеуправлении;
в) невыступающие антенны (рис. 12).
Типичными представителями невыступающих антенн являются антенны с емкостным и кондуктивным возбуждением. Антенны с емкостным возбуждением получили название колпачковых антенн (рис. 12) и представляют собой изолированные от самолета отдельные части киля (1) или крыла (2).
![]() |
Антенны с кондуктивным возбуждением получили название шлейфовых антенн и представляют собой трубки, расположенные параллельно корпусу самолета. Один конец трубки подсоединяется к передатчику сигналов, а другой на корпус самолета. Различают шлейфы замкнутые (4), разомкнутые (5) и комбинированные (6). Шлейфовые антенны широко используются в СВ и КВ диапазонах. В УКВ диапазоне применяется плоскостная антенна (3), представляющая собой четвертьволновый несимметричный излучатель, который встраивается в законцовку киля.
Иногда применяются невыступающие антенны, выполненные из фольги, которые наклеиваются на остекление кабины или на обтекатель антенн радиолокационных станций.
Среди симметричных антенн выделим следующие антенны.
1) Рамочные антенны. К ним относятся электрически малые рамки, рамки с магнитным сердечником и рамки, размер которых сравнимы с длиной волны.
2) Многовибраторные антенны. Разновидности: директорные, логопериодические, турникетные и др.
3) Проволочные антенны бегущей волны. К ним относятся ромбические, однопроводные, цилиндрические, спиральные, плоские спиральные и конические спиральные антенны.
4) Щелевые и волноводно-щелевые антенны. Эти антенны наиболее часто применяются на ЛА в УКВ диапазоне. Они могут бить ненаправленными, слабонаправленными и остронаправленными.
5) Рупорные антенны. Существует большое разнообразие рупорных антенн:
а) Секториальные, которые разделяются на Е и Н- плоскостные, конические, пирамидальные, биконические, комбинированные и др.;
б) Линзовые антенны. Их может быть три разновидности: фокусирующие, осесимметричные и цилиндрические. В зависимости от материала изготовления как раз они и разделяются на диэлектрические, металлодиэлектрические, металлопластинчатые и др..
6) Зеркальные антенны. Этому типу антенн свойственно большое разнообразие по конструктивному исполнению:
а) параболические;
б) цилиндропараболические;
б) вырезки из параболоида вращения.
7) Антенны поверхностных волн.
8) Фазированные антенные решетки (ФАР), представляющее собой совокупность большого числа однотипных вибраторов, соединенных между собой таким образом, чтобы сигналы, принимаемые этими вибраторами, имели определенные фазовые соотношения между собой. Этот тип антенн в настоящее время представляет большой практический интерес, а среди них в первую очередь антенны с управлением (сканированием) положением главного лепестка диаграммы направленности.
По виду сканирования различают ФАР электромеханические и электрические. У последних нет подвижных частей, а изменение фазового распределении сигналов в раскрыве антенны происходит чисто электрически, путем изменения токов или напряжений на управляющих устройствах.
Опытным путем установлено, что электрическое сканирование удобно осуществить с помощью многоэлементных антенн (решеток). ФАР по способу осуществлении сканирования разделяются на:
ФАР с фазовым сканированием, в которых использующей специальные устройства — фазовращатели;
ФАР с частотным сканированием, где фазовое распределение сигналов в раскрыве антенны изменяется путем перестройки рабочей частоты;
ФАР многолучевые.
У наших вероятных противников есть 3-4 таких антенны в Гренландии, Англии, на острове Шемия и Тихом океане. Последний называется “Кобра Дейн” и имеет около 90 тыс. элементов. Ее технические характеристики примерно такие: 400 лепестков диаграмм направленности, управляемые электронно-вычислительной машиной и ведет до 800 объектов.
3. Линии передачи сверхвысокочастотной энергии.
Линия передачи сверхвысокочастотной (СВЧ) энергии или фидерные устройства предназначены для канализации электромагнитной энергии от радиопередатчика к антенне и обратно к радиоприёмнику.
К фидерным устройствам предъявляются основные требования: отсутствие излучения электромагнитной энергии, передача энергии с минимальными тепловыми потерями, наличие режима бегущих волн, высокое пробиваемое напряжение, удобство эксплуатации и др.
Различают две группы линий передачи СВЧ энергии: открытые и закрытые. К открытым относят: двухпроводные, многопроводные, полосковые и т.п. линии, а к закрытым: коаксиальные кабели, экранированные линии и волноводы. Закрытые линии наиболее широко применяются в авиационных радиоэлектронных устройствах. Выбор линии зависит от её назначения, диапазона частот и передаваемой по ней мощности.
При подключении радиопередатчика (радиоприёмника) к антенне они должны быть согласованы с линией передачи СВЧ энергии, при этом активное выходное (входное) сопротивление радиопередатчика (радиоприёмника) и активное входное (выходное) сопротивление антенны должны быть равны волновому сопротивлению линии передачи. Если антенна не согласована с линией, то часть энергии отражается от антенны и в линии передачи образуется отражённая волна, распространяющаяся от антенны к радиопередатчику. При этом будет наблюдаться частичная потеря мощности передаваемого сигнала. Режим работы линии передачи принято характеризовать коэффициентом бегущей волны КБВ, который определятся как отношение минимального и максимального значений амплитуд передаваемого сигнала. Линия передачи имеет максимальный КПД. при КБВ=1, т.е когда волновое сопротивление линии равно сопротивлению нагрузки. В реальных линиях передачи получить КБВ=1 практически невозможно. Считают, что при КБВ
0,7 линия передачи допустима к применению.
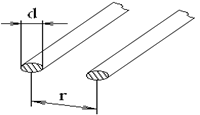
Рассмотрим линии передачи СВЧ энергии трёх видов: двухпроводные, коаксиальные и волноводы.
Двухпроводная линия передачи СВЧ энергии состоит из двух параллельных металлических проводов, расстояние между которыми r много меньше длины волны
, а диаметр d проводов много меньше расстояния между ними:
(см. рис.13).
![]() | ![]() | ||
Рис. 13
Двухпроводные линии нашли широкое применение в радиоэлектронных средствах, рабочая длина волны которых
, при этом коэффициент затухания не превышает 0,01...0,04 Дб/м. Применение двухпроводных линий на более коротких волнах ограничивается резким увеличением потерь вследствие излучения. Кроме того, из-за требования
, нарушается условие пропускания заданной мощности.
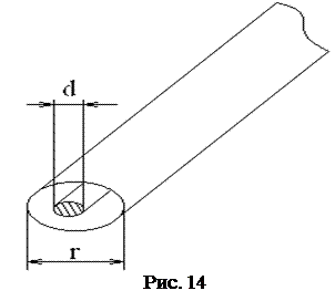
Коаксиальная линия представляет собой металлическую трубу диаметром r, внутри которой соосно с ней расположен цилиндрический провод из металла диаметром d (рис. 14). Оба проводника разделены между собой диэлектриком. Коаксиальные линии рекомендуется применять в диапазоне длин волн от 10 см до 100 м. При этом коэффициент затухания не превышает 0,05…0,4 Дб/В.

Отечественная промышленность выпускает коаксиальные линии со следующими величинами волновых сопротивлений: 50, 75, 100, 2000. В диапазоне сантиметровых волн в коаксиальных линиях заметно возрастают потери в диэлектрике. Для того чтобы уменьшить потери необходимо выполнить условия:
,

По коаксиальным линиям нельзя передать сигналы большой мощности в сантиметровом диапазоне волн.
Волноводы — это полые металлические трубы используемые в сантиметровом и миллиметровом диапазонах волн. Они обеспечивают полное экранирование электромагнитного поля и имеет ничтожные потери на нагревание.
![]() |
Наибольшее распространение получили прямоугольные волноводы (см. рис. 15).
Распространение радиоволн в волноводе возможно лишь при определённых соотношениях между длиной волны и геометрическими размерами волновода. Вдоль волновода распространяться волны только с длиной волны
. Для прямоугольного волновода
. Обычно на практике размеры волновода выбирают равными:
,
. Возбуждение электромагнитных волн в волноводе обычно осуществляется металлическим стержнем высотой в четверть длины волны, расположенным посередине широкой стенки волновода перпендикулярно к ней. Также возбуждение возможно рамкой или щелью, прорезанной в стенке волновода.
Круглые волноводы обладают большим затуханием, но имеют симметричную относительно оси структуру электромагнитного поля. Они применяются в качестве вращающихся сочленений антенно-волноводных устройств радиоэлектронных средств (РЭС).
Волноводные линии передач авиационных РЭС герметизируют и поддерживают в них давление, немного превышающее нормальное атмосферное, что обеспечивает поддержание предельной напряженности поля, т.е. устойчивую работу РЭС.













