КОЛЛОИДНЫЕ МЕЛЬНИЦЫ (ЦЕНТРОБЕЖНЫЕ ЭМУЛЬГАТОРЫ).
Перемешанная жидкость подается в центробежное поле, за счет тангенциальных и нормальных напряжений происходит диспергирование жидкости. Существуют горизонтальные (для эмульсий) и вертикальные (для паст и суспензий) коллоидные мельницы.
Используют гравитационный эффект. Образуются при соударении с колеблющимся корпусом и пластиной. Для получения эффекта применяют газонаполненный компонент. За счет очагов завихрения и пузырьков воздуха происходит диспергирование одной фазы другой.
Формование в пищевой промышленности.
Формование – это механическая обработка полуфабрикатов внешним силовым воздействием с целью придания ему требуемой формы, размеров, плотности и прочности.
В результате формования получаем изделия с определенными товарными свойствами.
Изделия могут быть:
- промежуточными (идут на следующую технологическую операцию);
- конечными (готовые, поступающие на реализацию).
Формование – ведущее звено в технологическом процессе получения изделия. От его эффективности зависит качество конечного продукта и реализация.
Способы формования:
1. Общий:
- выпрессовывание;
- прокатка;
- штампование;
- отсадка;
2. Специальный:
- центробежные;
- вакуумные;
- бесконтактные;
- закатка;
- формование резанием.
90% оборудования, применяемого в специальных способах формования, приняты от общих способов.
Наиболее распространенный способ – отливка (текучие, горячие расплавы помадных, желеобразных, молочных и шоколадных конфет).
Выпрессовыванием формуются начинки шоколадных конфет, карамели.
Прокаткой формуют изделия более плотной консистенции (печенье, коржи для тортов и т.д.).
Отсадкой формуют торты, зефиры, леденцы.
Штамповкой – ирис, карамель.
Классификация формовочных машин.
Сложность технологического процесса формования – в разнообразии сырья, рецептурного состава, многокомпонентности и изменении свойств в процессе формования.
Поэтому выбор способа и режима формования должен гарантировать качество изделия.
Признаки классификации:
1. По наличию принудительного нагнетания:
- с нагнетателем;
- без нагнетателя.
2. По типу нагнетающих устройств:
- поршневые (одно- и много-);
- шестеренные;
- валковые;
- пластинчатые;
- шнековые;
- комбинированные.
3. В зависимости от количества нагнетающих устройств:
- с одним;
- с несколькими одного типа;
- с несколькими различного типа.
4. По способу определения продукта:
- с режущим инструментом;
- с золотниковым отсекателем;
- с разрывом жгута.
Характеристики формовочных машин.
Главная характеристика – зависимость между объемным расходом и давлением нагнетания.
По этой зависимости существуют 3 группы связей:
1. жесткая связь между объемным расходом и давлением (для поршневых, шестеренных, пластинчатых нагнетателей – в них нагнетающая масса находится в замкнутом объеме);
2. мягкая связь между объемным расходом и давлением (имеет место в одношнековых, двухшнековых, с не зацепляющими шнеками в нагнетателях и в валковых нагнетателях; для мягкой связи эта характеристика является напорно-расходной);
3. переменная связь (в отсадочных машинах, где давление снижается на продукт в предматричной камере).
Физическая основа формования.
Для выбора типа оборудования необходимо знать физическую сущность процесса в рабочей зоне.
Для расчета параметров рабочего органа в формовочной машине необходимо иметь технологические свойства перерабатываемой массы и характеристики готовой продукции.
Основное положение при этом – определение понятия «переработки массы, как жидкости, так и твердого тела».
Формование жидкости происходит соединением агрегатного состояния. При этом не используется внешнее силовое воздействие (в основном формуются сыпучие материалы и тесто).
Для выбора типа оборудования необходимо знать физико-механические свойства формуемой массы.
Сыпучие материалы.
Основная характеристика – дисперсность. Она определяется гранулометрическим составом на основании гистограммы содержания твердой фазы с определенным размером в данной смеси сыпучего материала.
Сыпучий материал характеризуется эквивалентным размером:
dэкв = xi di
По эквивалентному диаметру сыпучий материал подразделяется на:
- пылевидные (размер частиц менее 0,05мм);
- порошкообразные (0,05-0,5мм);
- мелкозернистые (более 0,5мм, менее 2мм);
- крупнозернистые (2-10мм);
- кусковые (более 10мм).
Физические свойства сыпучих материалов:
1. Гигроскопичность – способность поглощать влагу. Это важно, поскольку вода не прессуется и не сжимается, поэтому материалы перед формованием подсушивают.
2. Насыпная плотность и удельный вес.
Насыпная плотность – вес единицы объема сыпучего материала, упакованной под действием силы тяжести.
Удельный вес – вес монокристалла единицы объема.
Обратная величина этих характеристик – удельные объемы.
3. Порозность – отношение объема пор к общему занимаемому объему смеси:

;



4. Удельный вес
или плотность монокристалла:

Механические свойства сыпучих материалов:
1. Сыпучесть – способность материала вытекать через отверстие определенного диаметра. Зависит от внешнего и внутреннего трения, эквивалентного диаметра, угла обрушения и слеживаемости. Диаметр истечения должен быть более 4 максимальных диаметров.
2. Аутогезия:
- адгезия (способность частиц налипать на стенки сосуда);
- когезия (способность частиц образовывать монолиты (спекаться));
- агрегация (самопроизвольное укрупнение частиц);
- слеживаемость (способность образовывать своды);
- предельное и начальное сопротивление сдвигу (деформация, искажение частиц относительно друг другу – описывается законом Кулона);
, где
коэффициент внутреннего трения;
коэффициент Кулона, определяет начальное сопротивление сдвигу;
Если движение между частицами отсутствует, то 

Для идеальных тел при
,
, 
3. Прессуемость – способность сыпучих материалов при приложении внешней нагрузки в замкнутом объеме образовывать монолит, который сохраняет свои свойства при снятии внешней нагрузки.
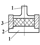
1-пуансон, 2-шашка, 3-матрица прессования;
,где
удельное давление;
площадь сечения матрицы
;
усилие прессования.
Существуют 3 стадии прессования:
1 – идет сближение частиц сыпучего материала и выдавливание воздуха из межпорного пространства;
2 – происходит частичное разрушение частиц и их спекание в точках соприкосновения;
3 – сближение частиц до расстояний, близких к кристаллической решетке.
Если снять нагрузку до PI, то на этой стадии происходит распадение монолита на конгломераты. Прессовать надо всегда давлением > PI.
Прессуемость характеризуется влияния сил трения между частицами, влажностью, коэффициентом формы частиц (порозностью).
Существуют пресса:
1) Гидравлические:
- с нижним давлением (когда рабочий цилиндр расположен внизу);
- с верхним давлением (*цилиндр двухстороннего действия; *дополнительный цилиндр подъема траверсы);
- с индивидуальным приводом (насосная станция);
- с групповым приводом (насосно-аккумуляторная станция).
- колонные;
- рамные.
Прессование может быть:
А) односторонним (если H/d<2);
Б) двухсторонним (если H/d>2).
2) Механические:
Принцип работы: кривошипно-шатунном механизм.
На механических прессах прессуют только таблетки (H/d<0,5).
p = f (Р)
p = P/V [кг/куб м]
P = mg
Если h/d<1, таблетка.
Если h/d>1, шашка.
ho - высота выступающей части пуансона в случае, когда нет прессуемого порошка.
ho - h1 = hнас - высота насыпного материала.
Плотность при увеличении условий прессования возрастает до предельного значения р уд - это р монокристалла или удельный вес.
На каждое удельное давление усиливается высота шашки. При любом максимальном удельном давлении прессования плотность не превышает удельный вес.
цилиндрическая форма;
размеры hi, d = const;
ri = f(p)
i = f(ri) - функция плотности изделий.
Шашка разрушается на разрывной машине, которая дает усилие разрушения (Нразр).
Hразр./ d^2/4 = i - прочность шашки.
На линейном участке шашка не приобретает достаточной прочности. При снятии внешней нагрузки шашка рассыпается.






