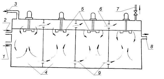
ОКСИТЕНК СИСТЕМИ “ЮНОКС” (США).

1. Подача води;
2. Подача мулу (циркуляційного);
3.Трубопровід подачі кисню;
4.Комірки реактора;
5.Аератори;
6.Отвору для перепуску газу;
7.Труба для скидання газу;
8.Відвід иловой суміші на вторинні відстійники;
9.Пропускні отвори.
Застосування окситенков дозволяє істотно прискорити процес біологічного очищення стічних вод. ОМ у порівнянні з аэротенками вище в 3-5 разів. Знижується приріст активного мулу, що приводить до зменшення кількості надлишкового активного мулу й відповідно зниженню витрат на його обробку. Поліпшуються седиментационные властивості, що дозволяє більш ефективно ущільнювати іл перед зневоднюванням (В = 96...92% (в аэротенков 98,8...96,5%). Мул краще збезводнюється на вакуум-фільтрах і центрифугах, чим після аэротенков. Доза реагентів знижується в 1,5 рази, а продуктивність зростає в 1,5...3 рази (вакуум-фільтр). Витрата флокулянтів знижується в 2...3 рази, продуктивність центрифуг зростає на 30%.
При розгляді перспектив методу, основним є питання постачання окситенков киснем. Найбільш великими виробниками кисню є чорна металургія й хімічна промисловість. Майже жодне із сучасних хімічних виробництв не обходиться без цехів поділу повітря для одержання кисню й азоту (повітря розділяється криогенним методом - метод глибокого охолодження) (коксохімія, нафтохімія).
|
|
|
Підприємства азотної промисловості мають цеху поділу повітря на кисень й азот, для подальшого використання азоту.
Застосування окситенков для очищення міських стічних вод рентабельно, якщо поруч є підприємство де одержують чистий кисень або за умови будівництва в складі споруджень цеху поділу повітря.
Достоїнства методу:
Висока ефективність використання кисню;
Значне скорочення обсягу споруджень за рахунок інтенсифікації процесу;
Автоматичне регулювання подачі кисню у відповідності зі швидкістю його використання.
Розрахунок окситенков виконується по формулі, що враховує зниження питомої швидкості окислювання при підвищенні концентрації мулу:
;
г/л.
| розрахункова величина | ||||||
| 1,8 | 1,3 | 0,7 | 0,5 | 0,4 | 0,3 |
При концентрації мулу понад 8...10 г/л ОМ уже не зростає, а залишається приблизно на одному рівні.
Це спорудження сполучають в одному обсязі функції аэротенка й вторинного відстійника.
Це дозволяє:
здійснити очищення стічних вод при досить високих концентраціях активного мулу;
значно скоротити площа, займану спорудженнями біологічного очищення;
зменшити капітальні витрати;
інтенсифікувати роботу спорудження.
Найбільше поширення одержали аэроакселераторы (закордонні фірми).
|
|
|
Вони можуть бути із пневматичної, механічної й пневмомеханической системою аерації. Спорудження підрозділяються на 2 типи:
с центральною зоною аерації й периферичною відстійною зоною;
і навпаки.
г/л.






