Виды движения твердого тела.
2) Вращение вокруг неподвижной оси
3) Плоскопараллельное движение
4) Сферическое движение
5) Движение свободного твердого тела
Поступательное движение и вращение вокруг неподвижной оси являются простейшими видами движения твердого тела.
Поступательное движение твердого тела.
Поступательным называется такое движение твердого тела, при котором любая прямая, проведенная в теле, перемещается, оставаясь параллельной своему начальному положению и напарвлению

Точки поступательно движущегося тела могут иметь траектории любого вида: прямолинейные и криволинейные.
Свойства поступательного движения тела определяется следующей теоремой:
При по поступательном движении тела все его точки описывают геометрически одинаковые траектории и имеют в каждый момент времени одинаковые по модулю и направлению скорости и ускорения.
Доказательство
Тело абсолютно твердое и совершает поступательное движение. Траекторией точки А является годограф радиуса-вектора Ra, а траекторией точки В годограф радиуса-вектора Rb, смещенный па постоянный вектор АВ и эти траектории при совмещении совпадают. Продифференциировав обе части равенства (1)
|
|
|
Получим:
Следовательно изучение кинематики поступательного движения сводиться к изучению кинематики точки. (То есть при поступательном движении твердое тело можно рассмаривать, как точку). Обычно изучают движение центра масс. С – центр масс
Уравнения поступательного движения твердого тела.
Понятие “скорость тела” и “ускорение тела” имеет смысл толькопри поступательном движении твердого тела, так как только в этом случае эти характеристики одинаковы для всех точек тела.
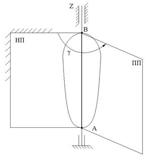
Вращение твердого тела вокруг неподвижной оси.
Вращательным движением твердого тела вокруг неподвижной оси называется такое движение, при котором все точки, лежащие на некоторой прямой, неизменно связанной с телом, остаются во время движения неподвижными.

Эта прямая называетсяосью вращения. Траекториями всех точек, не лежащих на оси вращения, будут окружности, плоскости которых перепендикулярны оси вращения, а центры лежат на этой оси.
Угловая скорость твердого тела.

НП – неподвижная полуплоскость.
ПП – подвижная полуплоскость.
γ – угол поворота, измеряется в рад.
Чтобы знать положение тела в любой момент времени, надо знать зависимость угла поворота γ от времени t.
Это выражение и есть закон вращательного движения твердого тела вокруг неподвижной оси.
Угловая скорость характеризует изменение со временем угла поворота тела.
Размерность: С-1
Знак (+) Знак (-)

В механике часто угловую скорость определяют числом оборотов в минуту и обозначают через
|
|
|
n об/мин.
Угловое ускорение характеризует изменение изменение угловой скорости с течением времени. Размерность С-2
Знак (+) Знак (-)

Ускоренное Замедленное
Движение движение

Виды вращения твердого тела вокруг неподвижной оси.
1) Равномерное вращение.
2) Равнопеременное вращение.
Скорости и ускорения точек вращения тела.
Рассмотрим какую-нибудь точку М вращающегося тела, находящуюся на расстоянии h от оси вращения.
Если за время dt произходит элементарный поворот тела на угол dγ, то точка М при этом совершает по своей траектории элементарное перемещение dS=hdγ
Таким образом, алгебраическое значение скорости точки вращающегося твердого тела равно произведению угловой скорости тела на расстояниеот этой точки до оси вращения. Вектор V направлен по касательной к окружности в сторону вращения.

1) векторы скоростей точек перпендикулярны прямым, соединяющим точки с осью вращения, и направлены в сторону вращения тела (дуговой стрелки)
2) модули скоростей точек вращающегося тела пропорциональны их расстояниям от оси вращения.
Для нахождения ускорения точки М воспользуемся формулами:
В данном случае
Где ε – угловое ускорение

Формула Эйлера
Вектор скорости любой точки вращающегося тела равен векторному произведению угловой скорости на радиус вектор этой точки.