Основным кинематическим параметром любой зубчатой передачи является общее передаточное отношение u:
,
где ui-j – передаточное число ступени передачи;
k – число внешних зацеплений.

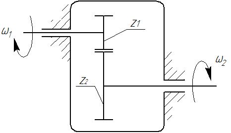
Рис. IX. 10
Множитель (-1) k позволяет определить направление вращения первого зубчатого колеса по отношению к последнему. Так, для одноступенчатого редуктора (Рис. IX. 10) общее передаточное отношение u определяется:
,
где k =1, тогда:
,
знак «-» показывает, что выходной вал этого редуктора вращается в противоположную сторону относительно входного колеса.

Рис. IX. 11
Аналогично рассчитывается общее передаточное отношение для рядной двухступенчатой передачи (Рис. IX. 11):

Колесо 2 не влияет на общее передаточное отношение. Такое колесо называется паразитом. На практике колеса-паразиты используются для изменения направления вращения выходного вала редуктора или для обеспечения нужных габаритов передачи.

а) б)






