Измерение качественных характеристик вещества
Измерение таких характеристик, как плотность, вязкость, состав, уровень рН необходимо для управления по прямым показателям качества.
Для измерения состава смеси используются различные методы: химические, физические, химикофизические. Рассмотрим наиболее часто используемые методы измерения качественных характеристик.
Принцип действия основан на зависимости между э.д.с., развиваемой датчиком и концентрацией водородных ионов в анализируемой жидкости.
Концентрацию водородных ионов, характеризующую кислотность и щелочность раствора, принято измерять в единицах водородного показателя рН:
- при рН =7 Þ раствор нейтрален;
- при рН > 7 Þ щелочная среда;
- при рН < 7 Þ кислотная среда.
,
где аН+ - концентрация ионов водорода.
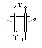
Датчик рН-метра состоит из двух электродов. Измерительный электрод – это стеклянная трубка, к нижней части которой приварен шарик из специального стекла, содержащего металл (Li, Na).
|
|
|
Ионы водорода из раствора проникают в стекло шарика, а ионы металла переходят из стекла в раствор. На поверхности шарика возникает потенциал, величина которого зависит от концентрации водородных ионов в растворе: U = EИЗМ + ЕСР.

1 – измерительный электрод;
2 – сравнительный электрод.
Сравнительный электрод в отличии от измерительного не меняет свой потенциал относительно раствора. Поэтому э.д.с. датчика зависит только от потенциала измерительного электрода.
Поскольку сопротивление электродной системы имеет очень высокое значение (десятки МОм), то для измерения выходного сигнала датчика используется специальный преобразователь с высокоомным выходом. Выходной сигнал такого преобразователя – это унифицированный токовый сигнал.






