При наличии определяемого компонента в газовой смеси и его сгорании сопротивление резистора R1 возрастает и милливольтметр (потенциометр), включенный в измерительную диагональ моста, покажет наличие разности напряжений, пропорциональной концентрации определяемого компонента. Милливольтметр градуируется в единицах концентрации определяемого компонента. Время установления показаний приборов этого типа составляет 1 мин при предельной погрешности, достигающей ± 1 %.
Газоанализаторы первой группы в основном используются как индикаторы и сигнализаторы взрывоопасных концентраций газов и выполняются в переносном варианте, к их числу относятся сигнализаторы СГГ, измеряющие концентрацию Н2 в воздухе.
В термохимических газоанализаторах второй группы реакция окисления определяемого компонента протекает на поверхности гранулированного катализатора, в качестве которого часто используется, гопкалит (60;% двуокиси марганца и 40% окиси меди). Наличие развитой поверхности катализатора обеспечивает возможность измерения концентраций определяемого компонента, составляющих доли процента. Количество выделившейся при сжигании теплоты измеряется платиновым термометром сопротивления или батареей термопар.
Газоанализаторы второго типа являются более инерционными, время установления их показаний достигает 5 мин, предельная погрешность составляет ±5–7 %.
2.2.3. Магнитные газоанализаторы.
В магнитных газоанализаторах, относящихся к анализаторам бинарных смесей, концентрация определяемого компонента измеряется по изменению магнитных свойств газовой смеси. Газы по их магнитной восприимчивости делятся на парамагнитные, втягиваемые в магнитное поле, и диамагнитные, выталкиваемые из него. Наибольшей магнитной восприимчивостью обладает кислород, относящийся к парамагнитным газам. В таблице приведены значения относительной объемной магнитной восприимчивости газов, причем знак минус относится к диамагнитным газам.
Сопоставление данных, приведенных в таблице, показывает, что газы, кроме кислорода, окиси и двуокиси азота, являются практически немагнитными, поскольку их объемная магнитная восприимчивость на два порядка ниже, чем у кислорода. Таким образом, магнитные свойства газовой смеси определяются концентрацией кислорода, поскольку NO и NO2, являющиеся продуктами высокотемпературных окислительных реакций, встречаются редко и в малых концентрациях.
Таблица.
Относительная объемная магнитная восприимчивость газов.
| Газ | Относительная объемная магнитная восприимчивость | Газ | Относительная объемная магнитная восприимчивость |
| Кислород О2 | Водород Н2 | –0,0011 | |
| Воздух (21% О2) | 0,211 | Азот N2 | –0,004 |
| Оксид азота NO | 0,363 | Диоксид углерода СО2 | –0,0057 |
| Диоксид азота NO2 | 0,0616 | Аммиак NH3 | –0,0057 |
| Метан СН4 | –0,0123 | Водяные пары Н2О | –0,004 |
Объемная магнитная восприимчивость кислорода k связана с удельной магнитной восприимчивостью χ и плотностью ρ зависимостью k = χρ; поскольку χ = С/Т, a ρ = PM/TR, то
k = СРМ/(Т2R),
где С – постоянная Кюри; Р, Т – абсолютное давление и температура кислорода с молекулярной массой М; R – газовая постоянная.
Таким образом, магнитная восприимчивость кислорода зависит от давления и снижается с ростом температуры пропорционально 1/Т2.
Объемная магнитная восприимчивость смеси газов определяется соотношением
kСМ =
= скkк + (1–ск)kк
где сi, ki – объемные концентрации компонентов газовой смеси и их объ-ные магнитные восприимчивости; ск, kк – объемная концентрация кислорода и его магнитная восприимчивость; kн – усредненная магнитная восприимчивость неопределяемых компонентов.
В соответствии с уравнением, поскольку kн<<kк, изменение объемной магнитной восприимчивости газовой смеси однозначно определяется концентрацией кислорода при условии стабилизации температуры и давления.
Существует несколько методов измерения магнитной восприимчивости смеси газов, наиболее распространенный из них связан с использованием явления термомагнитной конвекции. Последняя представляет собой движение кислородосодержащего газа в однородном магнитном и тепловом полях. Основанные на этом эффекте газоанализаторы, выпускаемые в СССР и за рубежом, выполняются с одномостовой или двухмостовой измерительными схемами.
На рис. представлены схема чувствительного элемента (а), применяемого в отечественных газоанализаторах типа МН, и размещение его между полюсами магнита (б). Чувствительный элемент представляет собой платиновую проволоку 1 диаметром 0,02 мм, намотанную на стеклянный капилляр 2 и остеклованную с внешней стороны. 3. Концы спирали подпаяны к токовводам 4. Наружный диаметр чувствительного элемента составляет 0,5–0,6 мм, сопротивление резистора 40 Ом. Кислородсодержащий газ, протекающий по трубке 7, втягивается в магнитное поле, при этом он нагревается от резистора R1 и его магнитная восприимчивость снижается. Холодный газ выталкивает нагретый, создавая поток магнитной конвекции q, охлаждающий резистор R1. Резистор R2 для обеспечения одинаковых условий теплоотдачи размещен внутри немагнитного медного блока 6, имеющего ту же конфигурацию, что и постоянный магнит 5. На рис. (б) направления тепловой и магнитной конвекции совпадают, при размещении крышки с линиями подвода газа 7 под магнитом направления конвекции становятся встречными.
В газоанализаторах МН используется двухмостовая измерительная схема, представленная на рис. В первичном преобразователе (приемнике) размещены два моста, питаемых от вторичных обмоток 1, 2 силового трансформатора Тр. Мост 1 является рабочим, его резисторы R1, R2, представляющие собой платиновые чувствительные элементы с внешним теплообменом, омываются анализируемым газом. Резистор R1 находится в неоднородном магнитном поле, R2 – между полюсами ложного магнита (медного блока). Резисторы R3, R4 являются постоянными и выполнены из манганиновой проволоки.
При наличии кислорода в смеси газов мост 1 работает в неравновесном режиме и напряжение в измерительной диагонали Uab зависит от концентрации кислорода. Для проверки начальной точки шкалы вторичного прибора приемник снабжается металлическим шунтом. При его опускании снимается магнитное поле, резисторы R1 и R2 попадают в одинаковые условия и мост 1 должен быть уравновешен. В схему моста включен переменный резистор начальной балансировки, не показанный на схеме, аналогичный резистору R0, включенному в мост, и представленный на предыдущем рис.
Мост II является мостом сравнения. Его плечи R5 и R6, выполненные из платиновой проволоки, омываются воздухом, причем R6, как и R2 находится между полюсами ложного магнита. Резисторы R7 и R8 выполнены подобно R3 и R4 из манганиновой проволоки. Поскольку концентрация кислорода в воздухе является стабильной, мост II развивает постоянный сигнал небаланса Ubd. Колебания Ubd обусловлены только отклонениями напряжения питания, температуры и давления окружающей среды.
Для измерения сигнала рабочего моста используется компенсационный метод, причем сигналом компенсации служит доля напряжения моста сравнения, снимаемая с реохорда, Ubc = α Ubd, где α изменяется от 0 до 1. Компенсация сигнала рабочего моста долей сигнала моста сравнения осуществляется автоматически, в качестве вторичного прибора используется автоматический уравновешенный мост с некоторыми изменениями в измерительной схеме.
В газоанализаторах с двухмостовой измерительной схемой влияние колебаний напряжения питания, температуры окружающей среды на показания прибора меньше, чем в приборах с одномостовой измерительной схемой. Это объясняется одновременным влиянием перечисленных факторов на сигналы рабочего и сравнительного мостов.
Кислородомеры типаМН-5106 имеют пределы измерения 0–10% О2 при предельной погрешности измерения ±0,25% О2, МН-5130 при нулевом нижнем пределе измерения имеют верхние 0,5; 1; 2; 5; 10; 21; 50%, при этом предельная погрешность зависит от диапазона измерения и находится в пределах от ±2 до ±10 % нормирующего значения. Последняя цифра соответствует минимальному диапазону измерения прибора. Кислородомеры МН могут иметь безнулевую шкалу с пределами измерения 50–100% О2, 80–100 % О2. Время установления выходного сигнала находится в пределах 0,5–1,5 мин.
Благодаря резкому отличию магнитной восприимчивости кислорода от восприимчивости других газов не требуется предварительного удаления неопределяемых компонентов. Тем не менее с целью защиты чувствительных элементов установка газоанализатора должна включать в себя фильтр для очистки пробы от сернистого газа, если последний содержится в ней. Остальные вспомогательные элементы установки газоанализатора являются типовыми и будут рассмотрены ниже.
2.2.4. Оптические газоанализаторы.
В оптических газоанализаторах концентрация определяемого компонента измеряется по изменению оптических свойств газовой смеси, к числу которых относятся показатели преломления, спектрального поглощения и излучения, спектральная плотность и т.д. Наиболее распространенными являются три группы оптических газоанализаторов: 1) инфракрасного и ультрафиолетового поглощения; 2) спектрофотометрические; 3) фотоколориметрические. Оптические газоанализаторы обладают большой разрешающей способностью, благодаря чему они применяются для анализа микроконцентраций взрывоопасных и токсичных примесей в промышленных газах, при контроле воздуха в атмосфере и производственных помещениях.
Газоанализаторы инфракрасного и ультрафиолетового поглощения.
Каждый газ характеризуется определенным спектром поглощения. Газы, содержащие в своем составе два и более разнородных атомов, такие как СО, СО2, СН4, NH3, C2H2, имеют спектры поглощения в инфракрасной области. Одноатомные газы характеризуются линейчатыми спектрами поглощения, лежащими в ультрафиолетовой области.
Закон Ламберта – Бера определяет связь ослабления монохроматического излучения при прохождении через камеру, заполненную анализируемым газом, с его концентрацией:

где I0λ, Iλ – интенсивность монохроматического излучения на входе и выходе камеры длиной L, заполненной определяемым компонентом с конценрацией с и коэффициентом спектрального поглощения ελ; Dλ – оптическая плотность смеси газов.
Для использования этого метода измерения необходимо, чтобы определяемый компонент имел спектр поглощения, отличающийся от спектров поглощения других компонентов анализируемой смеси. Лежащие в инфракрасной области спектры поглощения СО, СО2, NH3 и СН4 изображены на рис. 16.7. Спектры СО2 и СО, СО2 и СН4 частично перекрываются.
Рис. Спектры поглощения СО, СО2 и СН4 в инфракрасной области.
Схема приемника инфракрасного излучения представлена на рис. Источником 1 создается постоянное излучение, которое с помощью вращающегося диска с отверстиями (обтюратора) 2 и светофильтра 3 преобразуется в пульсирующее монохроматическое излучение. Анализируемый компонент, находящийся в камере 4, поглощает излучение, при этом в камере возникают пульсации температуры, а следовательно, и давления, изображенные на том же рисунке.
Пульсации давления в камере воспринимаются микрофонным чувствительным элементом 5, представляющим собой конденсатор, образованный подвижной мембраной и неподвижной пластиной. Под действием давления мембрана перемещается, вызывая изменения емкости конденсатора С вследствие изменения зазора 8. В связи с тем, что в первых газоанализаторах такого типа обтюрация светового потока производилась со звуковыми частотами, приборы получили название оптико-акустических. Это название сохранилось, несмотря на то что современные приборы работают на более высоких частотах.
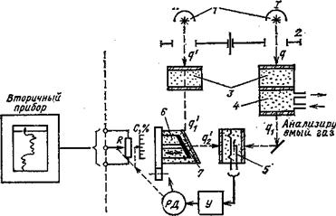
Промышленные оптико-акустические газоанализаторы имеют сложные измерительные схемы, как правило, двухканальные. Схема газоанализатора типа ОА представлена на рис. От источников излучения 1 потоки пульсирующего инфракрасного излучения q,q' через обтюратор (прерыватель) 2 поступают в два оптических канала: рабочий I и сравнения II. Оба канала содержат фильтровые камеры 3, заполненные неопределяемым компонентом, имеющим спектр поглощения, частично перекрывающий спектр поглощения анализируемого газа. Введение фильтровых камер, заполненных газом с близким спектром поглощения, позволяет устранить из потока излучения ту часть длин волн, интенсивность которых зависела бы от концентрации неопределяемого компонента.
Первый оптический канал включает рабочую камеру 4, через которую протекает анализируемый газ. Вследствие поглощения излучения в рабочей камере на ее выходе световой поток q1 меньш потока q1' в канале сравнения. Поскольку в приборе используется компенсационный метод измерения, сравнительный канал II включает в себя компенсационную камеру 6, заполненную определяемым компонентом. Внутри камеры находится подвижный поршень, передняя грань 7 которого является отражающей поверхностью. Длина пути потока ql внутри камеры 6, а следовательно, и его ослабление зависит от положения поршня. Потоки q2' и q1 поступают в лучеприемник 5, заполненный анализируемым компонентом и содержащий конденсаторный преобразователь микрофонного типа.
Схема автоматического оптико-аккустического газоанализатора АО.
Стенки камер 3–6 по ходу потоков излучения выполнены из светофильтров, имеющих полосу пропускания, соответствующую спектру поглощения анализируемого компонента. При равенстве потоков q1 и q2' пульсации давления в обеих частях лучеприемной камеры 5 происходят с одинаковой амплитудой, не вызывая изменения емкости конденсатора. При увеличении концентрации определяемого компонента поток q1 уменьшается, при этом снижается амплитуда пульсаций давления в правой половине камеры 5 и конденсатор изменяет свою емкость. На выходе усилителя появляется сигнал, вызывающий вращение реверсивного двигателя РД. Последний перемещает цилиндр 7, увеличивая длину пути потока q1' снижая q 2 до восстановления равенства потоков. Положение цилиндра компенсирующей камеры, однозначно зависящее от концентрации анализируемого компонента, определяет положение движка реохорда R и связанного с ним указателя вспомогательной шкалы приемника.
В качестве вторичного прибора используется автоматический уравновешенный мост. Оптические газоанализаторы типа ОА, предназначенные для измерения концентраций СО, CO2, CH4 в газовых смесях, имеют при нулевом нижнем верхние пределы измерения 1; 2; 5; 10; 20; 30; 50; 70; 100 %, предельная погрешность газоанализаторов составляет ±2,5 % диапазона измерения.
Рассмотренный способ компенсации потока излучения, прошедшего через рабочую камеру, называется газовым. Существуют другие способы компенсации, связанные с изменением мощности источника излучения во втором канале либо с введением ослабляющего светофильтра во второй канал. Эти методы называются соответственно электрической и оптической компенсацией.
Погрешность измерения концентрации двухканальными газоанализаторами существенно зависит от симметрии оптических каналов, изменения излуча-тельной характеристики источников световых потоков, загрязнения светофильтров. В связи с этим существует ряд модификаций газоанализаторов с одноканальными измерительными схемами.
Отечественной и зарубежной промышленностью выпускаются автоматические системы газового анализа, включающие помимо оптического газоанализатора термокондуктометрические или термохимические, рассмотренные выше. К числу таких систем относятся АСГА-Д, АСГА-М, АСГА-Т, ГАК, предназначенные соответственно для анализа отходящих газов доменных печей, конвертеров, отработавших газов двигателей внутреннего сгорания, колошниковых газов. С помощью этих систем производится измерение таких компонентов, как СО, СО2, Н2, N2, Аr, СН4.
Большинство газов и паров обладают способностью поглощать ультрафиолетовое излучение, однако ограниченное число их обладает спектрами поглощения, отличными от других газов. Газоанализаторы, основанные на поглощении определенными компонентами ультрафиолетового излучения, применяются для измерения наличия в воздухе токсичных паров ртути, хлора, карбонила никеля. В приборах в качестве источников ультрафиолетового излучения используются ртутные лампы. Схемы могут быть как одноканальными, так и двухканальными. В качестве приемников излучения на выходе рабочих и фильтровых камер используются фоторезисторы, вакуумные фотоэлементы и фотоумножители.
Фотоколориметрические газоанализаторы.
В фотоколориметрических газоанализаторах концентрация определяемого компонента в соответствии с законом Ламберта–Бера измеряется по изменению оптической плотности индикаторного раствора, окраска которого избирательно меняется в присутствии определяемого компонента.
Фотоколориметрический метод характеризуется универсальностью, поскольку один и тот же прибор с различными индикаторными растворами может использоваться для анализа разнообразных компонентов газовой смеси. Он отличается также высокой избирательностью, зависящей от специфичности реакции, протекающей между анализируемым компонентом и индикаторным раствором. Возможность накопления определяемого компонента в индикаторном растворе обеспечивает высокую чувствительность метода. Основанные на этом принципе приборы применяются для контроля состояния воздушного бассейна, они измеряют концентрацию в воздухе, таких вредных примесей, как NO, NO2, SO2, Cl2, NH3, H2S. Приборы имеют верхний предел измерения от 0,0005 до 0,02 мг/л в зависимости от анализируемого компонента. Поскольку фотоколориметрические приборы чаще используются для анализа состава жидкостей, их принцип действия подробно рассматривается далее.
2.2.5. Хроматографические газоанализаторы. Общие сведения.
Хроматографические газоанализаторы предназначены для анализа многокомпонентных газовых смесей. В последние годы эти приборы стали при-меняться для анализа состава жидкостей и твердых тел. Хроматографы являются приборами периодического действия, более сложными по устройству, чем рассмотренные выше газоанализаторы.
Процесс измерения в этих приборах распадается на две стадии: хроматографическое разделение газовой смеси на отдельные компоненты и идентификация (детектирование) компонентов, включающая качественный и количественный их анализ. Хроматографическое разделение смеси на отдельные компоненты, открытое в 1903 г, М. С. Цветом, осуществляется за счет различной скорости движения газов вдоль слоя сорбента, обусловленной характером внешних и внутренних межмолекулярных взаимодействий. В настоящее время по возможностям разделения и анализа многокомпонентных смесей хроматография не. имеет конкурирующих методов. Хроматографию можно использовать для анализа низкокипящих газов, смесей летучих и термически стойких твердых и жидких веществ, температура кипения которых достигает 500 °С и выше. К числу преимуществ этого метода относится также высокая чувствительность (достигающая при использовании ионизационных детекторов 10–8–10–9 мг/мл) в сочетании с малым объемом отбираемой пробы, сравнительно высокой точностью и малым временем анализа.
Существует три разновидности хроматографического метода измерения, различающиеся способом перемещения анализируемой смеси: проявительный, фронтальный и вытеснительный. Первый метод является наиболее распространенным. В его рамках различают следующие разновидности, обусловленные процессом разделения смеси на компоненты: газоадсороционный, газожидкостный (распределительный) и капиллярный. Последний является разновидностью газожидкостного способа разделения.
Принципиальные схемы хроматографа и разделения смеси газов в колонке представлены на рис. а, б. Из баллона 1 газ-носитель поступает в хроматограф. Для поддержания в процессе его работы постоянной скорости используется регулятор 2, содержащий редуктор, манометр и измеритель расхода газа.
В газ-носитель дозатором 3 периодически вводится проба анализируемого газа. В разделительной колонке 4, заполненной твердым или жидким сорбентом, анализируемая смесь разделяется на компоненты. Вдоль слоя сорбента с большей скоростью движутся наименее сорбируемые газы. Поэтому в пробе смеси газов (рис. 16.10, б), содержащей три компонента А, В и С, первым выносится наименее сорбируемый газ А, а последним – хорошо сорбируемый С. После разделения каждый компонент с газом-носителем образует бинарную смесь, анализ которой может быть произведен различными методами, в том числе рассмотренными выше и реализуемыми в детекторе 6. Поскольку в процессе измерения свойства газа-носителя могут меняться, при пропускании последнего через детектор фиксируются изменения его свойств, вызванные присутствием компонента анализируемой смеси. Для улучшения разделения компонентов температурный режим колонки может меняться с помощью терморегулятора 5 с программным управлением. Выходной сигнал детектора 6 полается на регистрирующий прибор 7, интегрирующее 8 и цифропечатающее 9 устройства. На диаграмме самопишущего прибора 7 выход каждого из компонентов сопровождается пиком, площадь которого зависит от концентрации этого газа. График, фиксирующий выход компонентов, называют хроматограммой. Использование интегрирующего и цифропечатающего устройств, вычислительной машины автоматизирует обработку хроматограмм и позволяет ввести информацию о составе газов в АСУ ТП.
Хроматограмма разделения смеси трех компонентов.
Хроматограмма (рис.) является носителем как качественной информации – о виде компонентов смеси, так и количественной – об их концентрации. Значение последней определяется площадью пика или его высотой, Поскольку разделение газов осуществляется за счет их различных сорбционных свойств, время выхода того или иного компонента при постоянной скорости газа-носителя определяет вид газа. Эта характеристика называется временем удерживания tR. Она численно равна интервалу времени от момента ввода пробы газа до момента, соответствующего максимуму пика. Более устойчивой характеристикой, не зависящей от колебаний скорости v газа-носителя, является удерживаемый объем газа-носителя VR = tR v.
Время удерживания, как и ширина пика, может выражаться в единицах времени tR, τ и единицах длины l, μ, измеренных по диаграммной ленте. Ширина пика определяется у его основания τ, μ или на половине высоты τ0,5, μ0,5. Отношение к последним величинам времени удерживания характеризует эффективность газохроматографической колонки:
n = 5,545 (tR/t0,5)2 = 5,545 (l/μ0,5)2
Эффективность разделения двух компонентов газовой смеси определяет такой показатель, как степень разделения
R = (tR1 – tR2)/(τ0,5 1 + τ0,5 2).
Порог чувствительности хроматографа рассчитывается по формуле
Δ = 2асVu / (QS),
где 2а – удвоенная амплитуда высокочастотных колебаний нулевой линии хроматографа; с – концентрация определяемого компонента; V – объем дозы; u – скорость движения диаграммной ленты; Q – расход газа-носителя через детектор; S – площадь пика хроматограммы. Порог чувствительности может быть рассчитан и по другому определяющему параметру – высоте пика.
Хроматографическое разделение – сложный процесс, составляющими которого являются сорбция, десорбция, диффузия. Последняя, сопровождая процесс разделения, вызывает размытие пиков и ухудшает качество разделения.
Особенностью хроматографического метода анализа является влияние на результаты измерения большого числа взаимосвязанных факторов, которые можно разделить на пять групп:
1) параметры, характеризующие работу разделительной колонки; геометрия колонки (длина, диаметр, форма), материал колонки, природа сорбента, его пористость, зернение, характер набивки, толщина жидкой пленки, температурный режим колонки;
2) параметры, связанные с газом-носителем: природа и наличие примесей, скорость и давление;
3) параметры, связанные с работой дозатора: объем пробы, его стабильность, способ ввода пробы;
4) параметры, связанные с работой детектора: чувствительность, инерционность, линейность градуировочной характеристики, стабильность;
5) параметры, обусловленные способом регистрации выходного сигнала детектора и методом обработки хроматограммы: погрешность, инерционность, чувствительность вторичного прибора, скорость движения диаграммной бумаги, погрешность расчета качественных и количественных показателей хроматографического разделения.
Принципиальная схема хроматографа "Газохром 3101"
Принципиальная схема хроматографа "Газохром 3101" представлена на рис. Хроматограф является двухпоточным с газами-носителями воздухом и аргоном. Детектор 1 является комбинированным. Плечо R2 представляет собой термохимический элемент, реагирующий на выделение теплоты при реакции каталитического окисления горючих компонентов. Плечо R3 реагирует на изменения теплопроводности газа. Остальные плечи моста включают постоянные манганиновые сопротивления R1, R4. Сигнал небаланса детектора, питаемого от источника стабилизированного питания ИПС, подается на самопишущий потенциометр КСП-4 2, имеющий диапазон измерения 0–1 мВ.
Образец хроматограммы хроматографа "Газохром 3101"
Воздух в хроматограф подается микрокомпрессором 3, вмонтированным в прибор, аргон берется из баллона. Оба газа-носителя предварительно пропускаются через фильтры-осушители 4. Расход газа-носителя в обоих каналах контролируется реометром 5. Разделение анализируемой смеси производится при комнатной температуре. Хроматограф имеет четыре разделительные колонки, выполненные из фторопластовой трубки, имеющей внутренний диаметр 3 мм при длине 0,5–3 м. В качестве адсорбента в колонках 6, 8 используются активированный уголь, в колонке 7 – молекулярные сита. Колонка, не показанная на рисунке, заполнена силикагелем. Ввод пробы дозатором осуществляется в точках 9–11.
Указанная на рис. компоновка колонок используется для детектирования в смеси Н2, СО, СН4, О2, N2, СО2. При этом через колонку 6 протекает воздух, а через 7,8 – аргон. Расход каждого из газов составляет 80 см3/мин. Для определения Н2, СО и СН4 проба с предварительно удаленным СО2 подается в точку 10. Поскольку при этом анализе N2 и О2 не разделяются, проба вводится в точку 9. Для измерения содержания СО2 проба газа вводится в точку 1. Примерный вид хроматограммы представлен на рис. В зависимости от анализируемых газов компоновка разделительных колонок может меняться.
2.2.6. Электрические газоанализаторы.
В электрических газоанализаторах концентрация того или иного компонента определяется по изменению электрических свойств газовой смеси или жидкости, с которой прореагировал определяемый компонент. К числу наиболее распространенных электрических газоанализаторов относятся электрохимические, которые применяются для измерения микроконцентраций токсичных газов, содержащихся в воздухе, определения концентрации загрязняющих примесей при производстве чистых газов.
К электрохимическим газоанализаторам относятся устройства, в которых выходной сигнал определяется электрохимическими явлениями, происходящими в электродных системах, погруженных в анализируемый раствор, Электрохимические методы в основном используются для анализа жидкостей, в связи с чем такие наиболее распространенные разновидности этого метода, как кондуктометрический и потенциометрический, будут рассмотрены в следующей главе. Для анализа газов чаще используются электрохимические анализаторы вольтамперметрические и кулонометрические.






